Q2538港口装卸四连杆门座式起重机象鼻梁结构CADCAE毕业论文
2020-02-19 19:26:07
摘 要
在港口设备中,门座式起重机有其独特的优点,它通用性很强,机构比较灵活方便,同时工作的能力也比较高。在门机中,象鼻梁作为最上和最前的构件,它直接受到货物载荷,它设计的合格与否尤为重要,因此也有必要对其进行单独分析。
本文主要完成的就是MQ2538港口装卸四连杆门座起重机的总体设计以及对象鼻梁结构的CAD/CAE设计。首先确定门座起重机总体结构型式及主尺寸,完成货物水平位移补偿系统及臂架自重平衡系统的设计,用CAD软件完成起重机整机图,完成载荷计算表以及重量重心位置表,进行轮压的计算并校核抗倾覆稳定性,完成完成总体计算。然后对象鼻梁进行载荷计算,并用Solidworks和ANSYS对其进行建模和受力分析,最后经校核设计符合要求。
关键词:门座起重机;总体设计;象鼻梁;CAD;ANSYS。
Abstract
In the port equipment, the portal crane has its unique advantages, it has a strong universality, more flexible and convenient mechanism, at the same time the ability to work is also relatively high. In the portal crane, as the most upper and the most forward component, the elephant nose beam is directly loaded by the cargo, its design is particularly important, so it is necessary to analyze it separately.
This article mainly completes is MQ2538 port loading and unloading four connecting rod gantry crane overall design as well as object bridge structure CAD/CAE design. First determine the door crane's overall structure and main size, finished goods horizontal displacement compensation system and design of the arm balancing deadweight, complete crane figure, using CAD software to complete the load calculation table weight and center of gravity position table, wheel pressure calculation and resistive overturning stability checking, complete the overall calculation. Then the bridge of the nose of the object is subjected to load calculation. Solidworks and ANSYS are used for modeling and force analysis. Finally, the checked design meets the requirements.
Keywords: portal crane; Overall design; As the bridge of the nose; CAD; ANSYS.
目 录
第1章 绪论 1
1.1 目的和意义 1
1.2 国内外现状分析 1
1.2.1.国内发展现状 1
1.2.2.国外发展现状 2
1.3 设计内容 2
第2章 总体设计 4
2.2 主要设计参数 5
2.3 货物水平位移补偿 5
2.3.1 货物水平位移设计 6
2.3.2 货物水平位移校验: 8
2.4 自重平衡系统 9
2.4.1 臂架自重平衡系统设计方法 9
2.4.2 臂架平衡系统的校验 10
2.5 自重力矩计算 12
2.5.1 门机各部分重量 12
2.5.2 自重力矩计算 13
2.6 风载荷计算 15
2.6.1 风载荷 15
2.6.2 风力矩 16
2.7 支承反力和轮压计算 18
2.8 起重机抗倾覆稳定性 20
2.8.1 抗倾覆稳定性工况 20
2.8.2 抗倾覆稳定性校验计算 20
第3章 象鼻梁结构设计计算 23
3.1 象鼻梁载荷计算 23
3.2 象鼻梁结构三维模型的建立 24
3.2.1 Solidworks简介 24
3.2.2 象鼻梁结构三维模型的建立 25
3.3 象鼻梁结构有限元分析 25
3.3.1 ANSYS Workbench 简介 25
3.3.2 象鼻梁有限元分析 25
第4章 环境影响及经济性分析 32
第5章 总结与展望 33
5.1 全文总结 33
5.2 展望 33
参考文献 34
致 谢 35
第一章 绪论
在港口设备中,门座式起重机有其独特的优点。它通用性较强,装卸、搬运等作业能力出色,在结构足够稳定的同时又保持了灵活方便的特点。而正是这些优点使得门座式起重机能够广泛应用在港口的日常作业中。在过去这些年以来,随着科技时代的发展,现代的传统工业也正在飞快前进发展,经济全球化的背景下,国际间的贸易联系愈发紧密,这些使得港口门座起重机的标准也越来越高。因而,想要跟上时代的节奏,满足日益增长的市场竞争的需求,门座式起重机本身的设计要做到更大型、更高速、更自动化、更智能。在门座起重机中,臂架系统是很重要的一部分。而在这其中,四连杆结构又是很常用的一种,它也是门座起重机运行的整个过程中的核心。本文就是对四连杆门机的相关设计。下面将从三方面(目的和意义、国内外现状和设计内容)介绍本课题设计。目的和意义通过本次毕业设计,能够对门座起重机有个全面系统的了解,对港口装卸四连杆门座起重机的总体结构以及各种构件的分类、功能及特性进一步了解,也能对起重机行业发展状况有总体的把握。通过检索查找文献,根据仅有已知参数,从无到有,从理论分析计算到概念设计,最后到结构设计、三维建模等工作,能够使自己的设计能力和实践能力都有很大的提高。大学这几年,实践机会比较少。通过本次设计,能弥补课堂纯理论教学的不足,让我们充分将所学知识理解、吸收、利用并将其综合地应用于实际设计工作中。在设计的整个过程中,也可以让我们熟练应用各种资源,学会搜集有关参考文献、设计手册等相关资料。另外,通过毕业设计,我们能够进一步学习并熟练运用Office、CAD、Solidworks、ANSYS这几个机械专业常用的软件,掌握相关操作技能,给工作提供一定资本。同时让我们了解制造业及港口行业的发展,为以后工作做准备。国内外现状分析1.2.1.国内发展现状我国门座起重机的发展离不开两个词:曲折和漫长。最初我国的港口行业起步较晚,和国外的相关领域有较大差距,于是我国门机“师夷长技”。开始,进口苏联的相关设计设备,对其进行模仿并充分吸收其中技术关键,在这过程中不停地消化、探索、总结相关设计经验甚至对其进行可行性的创新。后面,我国又引进国外一些其它的先进设计方法和理念,在自我经验变得成熟之时,开始逐渐进行相关的自主设计,并自己尝试开发新的产品。这些肉眼可见的改变随着时间的推移使得我国与外国起重机领域的差距快速缩小。这些年来,我国在门座式起重机的相关设计领域的进步非常大,尽管国家也已经有不少企业具备十分专业的起重机械制造能力,但所有路都不是一帆风顺的,在高速发展的过程中也产生了一些不可忽视的问题。问题主要表现在下面几个方面:其一,在我国,固然有技术水平不错的大公司,但也有不少中小型的企业。在这些企业中,由于自身规模相对较小,所以能对企业自己员工以及研究投入的资费也不多,这对企业的发展是不利的;其二,在我国的起重机设计领域,相关的设计人员比较缺乏。在整个大环境下,人们没有足够的时间去养成正确高效的设计理念,真正意义上属于自身的设计知识产权很少,很多东西都缺乏新意,基本算是照搬照抄。另外,对门机的核心部件来说,我们国家有着较大欠缺。现在,我国的液压件、发动机、高质钢等部件很多都是进口国外的,自己在设计生产水准上有很大不足,而这方面的水平很大程度上限制了我国门座式起重机的发展。由于国内门座式起重机发展时间短,可靠和稳定两方面都不如国外的知名厂家。以上这些问题,其实很大部分还是因为时间的问题。我相信如果我们能继续学习国外起重机领域的长处,取其精华,并对上述的一些问题进行相应政策的实施,经过时间的磨炼和积累,我国能够在以后十年之间进一步缩小与发达国家门座式起重机的差距。1.2.2.国外发展现状 国外在门座式起重机领域比较先进,某些发达国家一直十分重视设计技术的研究,持续大力提供资源,这使得它们的门座式起重机领域得到长远、有效的发展。它们专业的大型生产企业不少。其中有代表性的制造企业主要有欧美的利勃海尔、马尼托瓦和日本的神钢等。在这些企业中,可以看到它们产品的型号十分完善,具备先进的设计技术,在市场上很受欢迎,占有率很高。欧美相关企业由于发展已久,制造生产的门座式起重机总体上可以说代表了世界前沿水平。它们的门机,在满足大吨位等设计要求这最基本的情况下,结构设计足够创新,方法新颖独特,它们设备稳定和安全的程度是我国难以望其项背的,在高效的同时也十分环保。另外,它们制造的大吨位门座式起重机有一点很特别。它们装备了先进的定位系统,能够实现对起重机作业的实时有效的监控。这个创新的理念在门机领域有广泛的代表性。相比欧美国家的前沿水准,日本制造的门座式起重机相对来说还是有较大差距。不过,它们制造的产品精细化方面做得很好,体系完善,依旧值得我们学习和借鉴。设计内容在门座起重机中,臂架系统是很重要的一部分。而在这其中,四连杆结构又是很常用的一种,它也是门机运行的整个行程的核心。本文进行的是港口装卸四连杆门座起重机和象鼻梁结构的相关设计。一般来说,门机结构大体可分为上部的回转部分和下部的运行部分:回转部分包括臂架系统、人字架、平衡重系统、转柱、转台等结构;运行部分则是由门架和运行台车组成。设计论文在实习调研、文献资料检索、阅读的基础上完成MQ2538港口装卸四连杆门座式起重机总体设计计算、象鼻梁结构设计CAD/CAE,以下是大致设计内容方案:1.根据已知参数确定MQ2538港口装卸四连杆门座式起重机总体结构型式及主尺寸,并通过查询资料进行货物水平位移补偿和臂架自重平衡系统的相关设计。通过CAD进行门机整机图的绘制,然后完成整机重量重心的统计、风载荷计算及整机稳定性、轮压计算,从而完成总体设计计算;2. 象鼻梁作为门机中最前最上的构件,它直接承受着货物的载荷。因此,它设计的合格与否就显得十分重要。因此应该对其作专门的受力分析,确定象鼻梁结构型式,并完成象鼻梁结构受力分析计算;3. 选用Solidworks软件完成对象鼻梁结构的三维建模,适当简化;4. 利用ANSYS软件完成对象鼻梁结构的力学分析。根据象鼻梁相关参数,将三维模型导入Workbench,并进行相应处理。然后选取门座起重机的2个最典型的工况(最大和最小工作幅度工况)进行力学分析。
第二章 总体设计
本章主要是对门机进行总体设计。主要包括:确定各构件的主尺寸;完成水平位移补偿和臂架自重平衡系统的相关设计计算。完成整机CAD总图,根据以往资料估算自重重心载荷和风载荷。在此基础上完成支承反力和轮压计算,完成整机的抗倾覆稳定性验算。
2.1 门机主要结构
本文设计的MQ2538门座式起重机主要结构如图2.1。
平衡系统
变幅机构
臂架系统
机器房
起升机构
圆筒门架
回转机构
图2.1 门机主要结构
2.2 主要设计参数
门机设计参数是由客户根据需要提出的。它们决定了门机的作业能力,是设计门机的基本依据。本文设计的MQ2538门座式起重机的主要设计参数见表2.1。
表2.1 起重机主要参数表
起重量 | 25t | ||
工作幅度 | 最大/最小 | 38m/14m | |
起升高度 | 轨上/轨下 | 30m/18m | |
机构 | 起升机构 | M8 | 40m/min |
变幅机构 | M7 | 55m/min | |
回转机构 | M7 | 1.5r/min | |
运行机构 | M4 | 30m/min | |
风速 | 工作最大风速 | 20m/s | |
非工作最大风速 | 55m/s | ||
基距/轨距 | 12m/12m | ||
工作时最大轮压 | 250KN | ||
最大尾部回转半径 | 10m | ||
轨道型号 | QU80 | ||
2.3 货物水平位移补偿
对于四连杆门座起重机来说,它的臂架系统是很重要的一部分,因此首先对其进行设计计算。在本文设计的起门座重机中,要求的是实现带载变幅,这种变幅采用较高的变幅速度。这时需要采用一些措施来减小由臂架自重和起升载荷产生的势能变化带来的不利影响,以减小变幅所需的驱动功率,降低司机操作难度。针对这些问题,我们可以对臂架系统进行臂架自重平衡和水平位移补偿的设计。
起重机在带载变幅过程中,货物水平位移补偿系统若设计合理,能使得货物接近水平线甚至沿水平线运动,降低能耗。
水平位移补偿的方法有绳索补偿法和组合臂架补偿法两大类。前者的特点是:用单臂架的情况多,结构比较简单,磨损快,寿命比较短。显然不适合,因此,我们采用组合臂架补偿法。这种方法通过对臂架系统运动构件之间组合运动的合理设计,来满足相应功能要求。
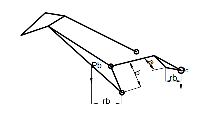
这里我们选择最常用的一种方案—刚性拉杆组合臂架。它由臂架、象鼻梁、大拉杆等组成,以上三个构件由铰点连接,和机架构成平面四杆机构。若系统各杆件尺寸合理,且臂架和大拉杆下铰点O点和O1点的位置选取得合适,理论上就能够实现所需的功能。
图2.2刚性拉杆组合臂架补偿原理
2.3.1 货物水平位移设计
由参数表可知,相关幅度Rmax和Rmin、起升高度H等条件。然后根据相关数据初定臂架下铰点O的位置。
O点距离门机的回转中心水平距离f的大小对整机性能影响很大。一般来说,f要求取为0.5至3m。应顾及它对起重机最小幅度和臂架最大仰角的限制。
我们用解析法计算臂架系统主要尺寸。
图2.3 四连杆臂架分析图
作出刚性四连杆组合臂架系统计算图如图2.3所示:
首先确定计算幅度。起升滑轮组倍率取2:
(2-1)
(2-2)
我们已知起重机最大最小幅度分别为
和
,根据上述的分析,取
,则

以上是毕业论文大纲或资料介绍,该课题完整毕业论文、开题报告、任务书、程序设计、图纸设计等资料请添加微信获取,微信号:bysjorg。
相关图片展示:









