法律咨询平台的设计与实现毕业论文
2021-11-30 23:13:26
论文总字数:17823字
摘 要
随着社会的发展、互联网的优势和普及使得法律咨询的网络需求成为必需。法律咨询平台主要是借助网络通信,通过线上对律师、用户、案例、法规、查询等信息进行管理。开拓律师的业务,同时也方便广大用户对法律案例的及时了解与咨询。
本项目基于Web,采用SSH(struts spring hibernate)作为网络编程框架,使用Java编码,MYSQL数据库,系统网络采用B/S架构,通过自顶向下对系统进行结构化的分析,展示了该系统的开发经过,同时介绍开发系统用到的核心技术。而首先是对研发系统的必要性进行了分析,然后对系统进行需求分析,得出系统所需功能并进行说明,再阐述了系统实现以及数据库的设计,最后再对系统进行测试。
该系统主要分为管理员、律师以及普通用户等三个用户角色,每个模块所实现的功能及权限不同。以法律咨询平台的设计实施以系统的运行做基础,为法律咨询提供良好的条件。
关键字:法律咨询;Web;数据库;B/S架构
Abstract
As society has developed, it is necessary to the network legal consultation because of the advantages and popularization of the Ineternet.The legal consultation platform mainly manages lawyers, users, cases, laws and regulations, queries and other information through online communication. To develop the business of lawyers, but also to facilitate the majority of users to understand and consult legal cases in a timely manner.
This project is based on the web, Using SSH (struts Spring Hibernate) as the network programming framework, using java coding, MySQL database, system network using B / S architecture, through top-down structural analysis of the system, showing the development process of the system, and introducing the core technology used in the development of the system. First of all, the necessity of the research and development system is analyzed, then the requirements of the system are analyzed.Got the functions of the system and explained,then describe the system implementation and database design,and tested the system tested finally .
The system is split into three roles: administrator, lawyer and general user. Each module has different functions and authorities. The project and accomplishment of legal consultation platform is based on the operation of the system.The system provides good conditions for legal consultation.
Keywords: Legal consulting, Web, database, B/S architecture
目 录
摘 要 2
Abstract 3
第1章 绪论 6
1.1 课题背景 6
1.2 当前国内外研究现状 6
1.3 论文主要内容 7
1.4 论文组织结构 7
第2章 关键技术介绍 8
2.1 WebSocket传输协议 8
2.2 JAVA介绍 8
2.3 B/S框架 9
2.4 MYSQL数据库 9
2.5 本章小结 10
第3章 系统分析与设计 11
3.1 系统需求分析 11
3.1.1 可行性分析 12
3.1.2 功能性需求分析.......................................................................................................13
3.1.3 性能需求分析...........................................................................................................16
3.2系统网络架构设计 16
3.3 本章小结 17
第4章 系统设计与实现 18
4.1系统功能设计 18
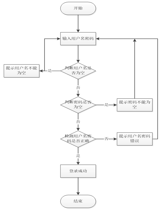
4.1.1 用户登录模块...........................................................................................................18
4.1.2 系统管理模块...........................................................................................................19
4.1.3 法律咨询模块...........................................................................................................20
4.2数据库设计 21
4.2.1 数据库设计原则.......................................................................................................21
4.2.2 数据库概念设计.......................................................................................................21
4.2.3 数据库E-R图设计....................................................................................................21
4.2.4 数据库表设计...........................................................................................................23
4.3 系统实现 24
4.3.1 前端网页...................................................................................................................24
4.3.2 用户登录模块实现...................................................................................................24
4.3.3 系统管理模块实现...................................................................................................25
4.3.4 法律咨询模块实现...................................................................................................27
4.4 系统测试 26
4.4.1 测试的意义...............................................................................................................28
4.4.2 测试方法...................................................................................................................28
4.4.3 测试用例...................................................................................................................28
4.4.4 测试总结...................................................................................................................30
4.5 本章小结 30
第5章 总结与展望 31
5.1 总结 31
5.2 展望 32
参考文献 33
致 谢 34
第1章 绪论
1.1 课题背景
在如今社会交流中,我们的日常工作对信息网络已经越来越以来了,随着快速发展的经济社会,人们的步伐迈得越来越快,强大生产力让我们的物质生活水平一步步迈向小康。所以人们的其他需求也不断提升,例如社会服务、娱乐等精神层面,作为科技工作者,我们一直非常重视知识产权[1],而如今是法治社会,人们的法律意识越来越强了,越来越多的人在遭遇不公时希望能够使用法律武器维护自己的权力,所以传统的法律咨询的业务需求也在慢慢改变。根据国家统计局发市的报告,我国法律服务市场规模2013年已经达到600亿元左右,2014年年底已达到1400亿元。[2]随着国民法律意识的提高与法律的完善,一种线上法律咨询模式已经成为目前主要的法律咨询业务的主要拓展方向,用户能够在线联系律师进行沟通,非常方便,并不需要请假或者说是跑很远去排队约见律师,只要用户能够在网络上进行操作,那就非常方便快捷,能够自己选择让自己满意的律师,更加可靠灵活。在线咨询等业务的开发更加便捷,满足了人民对于随时随地进行业务资源的需求,也使得律师的工作范围更宽广,成为律师营销的新工具,改进服务方式,增强用户体验,让优质服务触手可及,摆脱了线下的束缚,能够实现一对多,工作效率大大提高。[3]
1.2 当前国内外研究现状
当前我国互联网技术飞速发展,互联网法律平台的出现让老百姓便捷的享受优质可靠的法律咨询,从而使自己陷入的纠纷得到解决[4],这打破了普通传统法律服务的市场平衡。随着美国的线上律师事务所LegelZoom和RocketLawyer的出现,如何打造中国法律电商领域已经是一个焦点了,国内的一些创业家还有精通法律以及互联网的人们已经有所涉足。网络法律电商服务在各方人员的投入以及参与下发展壮大,从几个方面就可以看出:
根据最近的市场发展趋势,国内市场发展潜力非常大,仍有很大的发展空间。
请支付后下载全文,论文总字数:17823字
相关图片展示:







