湿式催化氧化法处理放射性废有机溶剂毕业论文
2020-02-19 15:19:38
摘 要
磷酸三丁酯(TBP)作为一种有效的萃取剂,在乏燃料后处理过程中得到了广泛的使用,加入一定量煤油(OK)作为稀释剂,使用后将成为中低放废物,需要进行妥当的处理处置,湿法催化氧化法处理放射性废有机溶剂具有广阔的应用前景, 探究优良高效的处理方法和条件将对于核工业的发展产生重要意义。
论文主要研究了纳米零价铁和过氧化氢组成的非均相类芬顿体系对放射性废有机溶剂的氧化降解情况,探究了温度、催化剂用量、H2O2用量、酸用量等主要因素对反应历程和速率以及有机溶剂去除效果的影响。
研究结果表明:温度为95℃、纳米铁用量为0.6g、30%H2O2用量为150 ml、酸化剂为50ml浓度为2.0M的H2SO4溶液时TBP/OK的催化氧化降解效果最好。
本文的特色:利用纳米 Fe0和 H2O2组成的非均相类Fenton体系替代传统的 Fe2 和 H2O2组成的芬顿体系来降解 TBP/ OK有机溶剂。
关键词:纳米零价铁;非均相;磷酸三丁酯;类芬顿反应
Abstract
Tributyl phosphate (TBP) is an extractant used in the spent fuel post-treatment process. A certain amount of kerosene (OK) is added as a diluent. After use, it will become a medium-low level radioactive waste, which needs proper treatment. Wet catalytic oxidation process has a broad application prospect in the treatment of radioactive waste. It is of great significance to explore the excellent and efficient treatment methods and conditions for the development of the nuclear industry.
The paper mainly studied the oxidative degradation of radioactive waste organic solvents by heterogeneous Fenton system composed of nano-zero-valent iron and hydrogenperoxide. The effects of temperature, catalyst dosage, H2O2 dosage and acid dosage on the reaction rate and the removal of organic solvents were investigated.
The results show that the catalytic oxidation degradation of TBP/OK is best when the temperature is 95 °C, the amount of nano-iron is 0.6 g, the amount of 30% H2O2 is 150 ml, and the acidifier is 50 ml of 2.0 M H2SO4 solution.
The characteristics of this paper: the heterogeneous Fenton system composed of nano Fe0 and H2O2 replaces the traditional Fenton system composed of Fe2 and H2O2 to degrade TBP/OK organic solvent.
Key Words:nano zero-valent iron;heterogeneous;Fenton reaction;tributyl phosphate
目录
摘要 Ⅰ
Abstract Ⅱ
1 绪论 1
1.1研究背景和意义 1
1.1.1 研究背景 1
1.1.2 研究意义 1
1.2 国内外研究现状及发展 2
1.3 研究内容及基本理论 4
1.3.1 湿式催化氧化法 4
1.3.2 纳米材料 5
1.3.3 研究内容 5
2 纳米零价铁制备和表征 7
2.1 纳米零价铁制备 7
2.2 纳米零价铁的表征 9
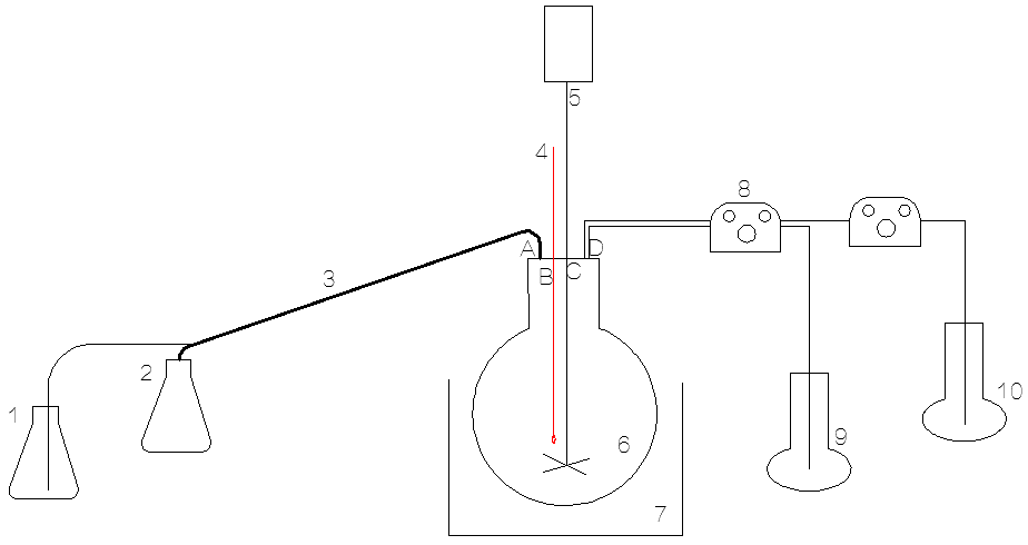
3 废有机溶剂催化氧化实验 14
3.1 实验原理 14
3.2 材料与装置 14
3.3 实验过程描述 17
3.4 影响因素分析 18
3.4.1 温度的影响 18
3.4.2 催化剂用量的影响 21
3.4.3 H2O2用量的影响 22
3.4.4 酸用量的影响 24
4 结论和建议 27
参考文献 28
附录 BET吸附曲线和孔径分布图数据 32
致谢 34
1 绪论
1.1研究背景和意义
1.1.1 研究背景
随着传统能源储备的减少及其使用对环境的影响,核能作为一种资源丰富、清洁环保的新能源,成为解决能源危机的有效办法,受到世界各国越来越多的关注。核电站的开发与建设已具有相当大的规模,核能发电早已迈入实用阶段,其具有稳定性、高效性、清洁性等优点。与此同时,在核工业的生产与科研过程中,会产生一些具有不同程度放射性的固态、液态以及气态的废物,乏燃料的后处理也一直是需要慎重对待的问题。
最常用于再处理乏核燃料的方法包括三个步骤:机械步骤,溶解步骤,然后使用特定萃取剂进行液/液分离[1]。经过多年的研究发展,乏燃料的后处理技术逐渐成熟,世界各国普遍采用 PUREX 流程,主要由铀钚共去污萃取、铀、钚分离和纯化等组成。基本原理是在一定的预处理后将乏燃料元件转化为硝酸溶液,将TBP用作萃取剂,利用它对铀、钚选择性萃取的特性以及对不同价态钚离子的萃取差异性达到纯化去污的目的,并且实现铀、钚分离。另外,为了改善溶剂的性能,满足工艺流程要求,在萃取剂中需要加入一定量的煤油作为稀释剂 [2]。
在传统的PUREX(通过汲取的钚和铀的改进)化学处理过程中,铀、钚和其他锕系元素和大部分的产物溶解在硝酸溶液中,然后使用TBP作为萃取剂分离纯化铀、钚。萃取和反萃取步骤的循环产生纯化的铀和硝酸钚,并在转化后产生氧化钚用于制备铀和钚MOX(混合氧化物)燃料。在乏燃料的处理过程中,必须回收这些已使用的硝酸、萃取剂和溶剂,并且必须管理液态和气态的有机物和固体废物。此外,在锕系元素和纤维产物的萃取过程中TBP的辐射导致形成辐射分解产物,即磷酸二丁酯(DBP)、磷酸单丁酯、有机酸和丁醇[3,4]。 因此,二级液体废物可能含有残留的TBP和DBP,这可能导致乳化并起到锕系元素络合剂的作用。
经一段时间的使用,溶剂质量将逐渐下降,因此,需要定期将不能继续使用的放射性废有机溶剂更换下来,以维持萃取分离工艺的正常进行。对于更换后的废有机溶剂安全、高效、经济的处理处置,具有重要的研究意义。
1.1.2 研究意义
在乏燃料后处理过程中, PUREX流程中会生成大量废溶剂,属于放射性有机废液, 其主要组成为 TBP和煤油的混合物以及铀、钚、碘等放射性物质,属于危险废物,若没有得到妥当的安置和管理,对环境及人体将带来危害 [5]。 TBP的广泛应用会引起环境污染问题,因为它对土壤和水等自然环境中的降解具有相对抗性,导致其长期持久存在[6]。 据报道,TBP污染可能存在于家庭和工作环境的室内空气[7]、水生环境[8]以及废水处理厂的水流中 [9,10]。
高级氧化技术(AOPs)可产生有强氧化活性的羟基自由基( OH)无选择性地去除和降解常规水质处理方法无法去除的有机污染物,其中,Fenton氧化法由于具有低温、易操作、高效等优点,得到了各领域学者的广泛关注和大量研究,且逐步应用到工程实践中。传统的均相Fenton反应是Fe2 和H2O2的结合,具有一些优点但H2O2利用率低,存在反应所需 pH范围窄,反应后会产生大量的含铁污泥等问题。为解决这些难题,非均相类Fenton体系及其催化剂的研发渐渐变为了研究热点。纳米材料自身有很大的比表面积,同时其有高效的吸附性能和优秀的反应活性等众多特点,近年来受到了广泛研究和发展,其在环境保护、废物处理方面的应用也逐渐受到关注并取得了一定的进步。以纳米零价铁作为非均相类芬顿反应的催化剂,与过氧化氢发生芬顿反应,通过对各种影响因素的实验探究,确定最优反应条件,以实现对放射性废有机溶剂的高效处理。
1.2 国内外研究现状及发展
由于核工业的快速发展,核设施的运行、维护、退役等程序造成了大量的放射性有机废物, 其妥善的管理和处置一直是一个棘手的问题,总结归纳国内外对放射性废有机溶剂处理工艺的研究,大致可分为焚烧、裂解、吸收、固化、湿氧化等多种类别的方法。
由于放射性废有机溶剂的主要组成为TBP和煤油等易燃有机物,因此可采用焚烧法进行直接操作,在专有的焚烧炉中点火焚烧处理,生成的烟气在净化后需要排出并达到标准,焚烧后产生的灰烬需要固化。焚烧法处理放射性废有机溶剂具有减容效果好、去污系数高、废油无机化等优点,但工艺流程较复杂,且焚烧所产生的烟气较难处理,对设备的性能和材质、装置气密性、辐射防护安全等要求较高 [11]。
若放射性有机废液中 TBP百分比较高,则含化学处理的裂解方法是一个不错的选择,因为在裂解工艺400-500℃的操作温度下,TBP开始分解成磷氧化物,经过一定的化学变化后可以从裂解气中分离出来 [12]。热水解工艺是在有过热水蒸气存在的条件下使有机物裂解,具有易于操作控制,基建投资少等优点。
由于焚烧、裂解工艺都属于高温处理方法,因此存在所需反应温度高,操作条件非常压,尾气的净化处理,设备材质和防腐蚀性能要求高等问题,虽然具有减容效果好的特点,但一些实际问题不容忽视。此外,还有一种吸收处理方法,其中放射性废有机溶剂通过使用聚合物吸收剂被吸收并固定在吸收剂分子内,形成较为稳定的吸收固化体以便于运送和后续的处理处置,不利之处是会造成一定的增容 [13]。作为频繁处理放射性废物的一种方法,水泥固化方法具有无害,稳定废物的优点,可以使用核设施的原有水泥固化线,但可能造成一定的有机废液的浸出。
相比之下,湿法催化氧化工艺为低温常压状况下操作,不仅节省能耗,而且运行费用低,与此同时,放射性核素几乎全部留在反应残液中,气相中不会携带放射性物质可直接排放,不存在废气的处理等二次污染问题,技术上可靠,因此得到了广泛的重视与研究。另外,北京化工大学的成章等人使用银媒介间接电化学氧化体系氧化降解TBP,研究得出, 在电化学作用下形成高价态(强氧化态)的媒介物质,废物有机物的氧化降解可以通过介体的强氧化和电化学相互作用在室温和大气压下发生[14]。清华大学环境科学与工程系白庆忠对无机纳滤膜处理低放废水进行了实验研究,认为聚丙烯酸钠促进无机纳滤膜处理低放射性废水,总β和总γ的净化率约为95%,且可得到满意的膜通量 [15]。Brett Rowling等人对传统放射性废物场地地下水中的磷酸三丁酯(TBP)进行了研究 [16]。清华大学的万众等人进行了使用类芬顿试剂氧化分解和溶解废放射性阳离子交换树脂的研究,结果表明,废树脂可在pH lt;1,[Fe2 ] = 0.2M和T = 97 ±2℃时有效溶解且化学需氧量(COD)降低率大于99% [17]。
关于使用特殊的细菌种群生物法降解放射性有机废物的研究也得到广泛关注,有了一些进展。已报道的可用于TBP降解的细菌种属包括:不动杆菌 [18]、柠檬酸杆菌 [19]、Serratia serrata [20]、Rhodopseudomonas pallidum [21]等,Thomas[22]等人研究过假单胞菌的混合培养物对TBP的降解,上述细菌群可降解的TBP浓度不高于2mM。在TBP广泛使用的背景下,其毒性和对环境的持久性,对TBP生物降解的研究变得越来越重要。Kedar [23]等人使用从富集培养物中分离的新细菌对磷酸三丁酯的生物降解,这些分离株能够耐受并降解至多5mM TBP,这是最高浓度的报道。法国的Rafael Vicente[24]等人使用从受影响区域分离的三种不同细菌群落(BL、BS和SS),去除放射性同位素和有机化合物来评估放射性废物处理。最佳结果分别来自BS和BL社区,分别从土壤和铀矿湖中分离出来。
传统的Fenton试剂由Fe2 和H2O2组成,Fe2 用作反应体系的催化剂,与H2O2的反应引发链式反应,产生具有强氧化性的羟基,可以有效地分解难以通过常规方法降解的有机化合物 [25]。最初,大量的研究集中在均相芬顿体系上,包括对均相催化剂、反应温度、适宜 pH等影响因素的探索,并取得了一定的成果,常用的均相催化剂大多为过渡金属如铁、锰、铜、钴等的盐。随着研究的进展,发现了均相芬顿反应存在适用 pH范围较窄,会产生大量化学污泥等缺点,于是非均相类芬顿反应逐渐成为研究热点,通过探索创新制备出效果较好的非均相催化剂,进而研究非均相类芬顿体系对废物的降解处理效果,确定反应的影响因素,找到最优反应条件,期望能够改善传统芬顿法存在的弊端。
1.3 研究内容及基本理论
1.3.1 湿式催化氧化法
湿式催化氧化法(WACO)是指在高温(150~350℃)、高压(0.5~20MPa)条件下,在特定的反应器中,氧化剂催化液相中有机和无机物质的分解以除去污染物,达到净化的目的。用于湿式氧化处理的催化剂可分为两类,即均相和非均相。非均相催化剂的优点是便于和水相分开,对催化剂组分的损失控制有较好的效果,且减少了带来的二次污染等问题,另外,非均相湿式催化氧化工艺简单、成本较低。与传统的湿式氧化方法相比,由于使用了高效催化剂,减小了反应活化能,大大加快了反应速率,减少反应时间,无二次污染,从一定程度上节省了经费。根据所需处理污染物的性质、结构等区别,所选取的催化剂会有所差异,需妥善选择。
均相湿式氧化催化剂主要是可溶性过渡金属盐,其以溶解离子的形式用于进料到反应器中。最有效和最常用的是铜盐和芬顿试剂(Fe2 、H2O2)。 常用的金属盐为 Fe、Cu、Mn、Ni 等过渡金属的盐类。一般情况下,低价盐在催化作用上的活性胜于高价盐,例如,Fe2 比 Fe3 有更好的催化效果和活性。非均相湿式氧化催化剂中的活性成分通常有铜、锰、铁、钴,能够是它们中的一种金属、金属氧化物,也能由多种金属、金属氧化物或复合氧化物所构成 [26]。
关于非均相 Fenton 反应的有效催化剂已得到一些研究,主要催化剂包括含 Al、Ce 、Co 和 Fe成分的催化剂。其中,Al0具有较高的电子转移能力,可在酸性条件下将电子转移给 H2O2 产生·OH,能够氧化苯酚、硝基苯等有机化合物,促使降解反应的发生,其比均相芬顿反应体系催化剂的pH适用范围更广,产泥量更少。常用的Ce 催化剂为氧化铯,其与H2O2产生·OH的途径与传统均相芬顿体系相似,若使用纳米级颗粒且将其进行改性,其催化效果会得到较大改善,但Ce具有一定的细胞毒性,使用时需进行充分的研究。Co 催化剂的活性较高且可重复使用,在合适的金属氧化物的负载下,其表面可生成过氧钴络合物,反应时产生有机自由基实现有机物的催化降解,但其具有的环境毒性限制了它的广泛使用。Fe催化剂包括铁单质、含铁氧化物和负载型铁催化剂,具有良好的催化性能和广泛的应用范围。它可以氧化许多物质,但它受pH影响大,需要在合适的条件下使用。
1.3.2 纳米材料
具有纳米级结构的材料称为纳米材料,它们的结构单元尺寸为1-100 nm之间,由于其极其小的结构尺寸,导致了它们有很多优良性质,如在导电、导热、光学、磁性等方面的特性,这些属性与材料本身的大小有关,一般情况下,纳米材料结构单元的尺寸越小,其表现出来的各方面特性越优良。 与普通材料相比,纳米材料所体现出来的优势是巨大的。
近几年,纳米材料逐渐成为研究热点,可按结构将其分为纳米粉末、纳米纤维、纳米膜、纳米块体等。其中纳米粉末的研究时间最长、工艺最成熟,是其他几类材料的生产基础,纳米技术的理论探究和材料研发等应用方面的发展都有很大的进步。因为纳米材料有特殊的体积和表面效应、量子尺寸、量子隧道、介电限域等效应,其表现出来的奇特的物理、化学性质,吸引了学者在各研究领域应用的探索。在废物处理方面,得到较多应用的是纳米还原材料和纳米吸附材料,它们都具有很大的比表面积、高效的还原活性及一定的吸附性能 [27]。其中研究较多的为纳米铁和纳米铜,除了较好的吸附和还原作用,它们还具有用作降解污染物的催化剂的巨大前景。
1.3.3 研究内容
以上是毕业论文大纲或资料介绍,该课题完整毕业论文、开题报告、任务书、程序设计、图纸设计等资料请添加微信获取,微信号:bysjorg。
相关图片展示:









