2000m3d玉米酒精发酵废水处理工程设计毕业论文
2020-02-19 15:19:30
摘 要
本设计是对某生物科技有限公司酒精废水的处理,该废水为玉米发酵酒精生产过程中产生的废水,包括发酵废水、设备的冲洗废水以及冷却水等。废水中含有高浓度的COD、BOD和少量的TN,针对这一废水水质,采用厌氧反应 好氧反应结合处理废水。
本设计采用的是“UASB 氧化沟”工艺。UASB技术是目前国内发展较为成熟的厌氧技术,废水经预处理后进入UASB,发生厌氧反应会产生沼气,再由三项分离器分离出污泥、污水和沼气。可以收集沼气,产生不错的经济效应和较好的处理效果。氧化沟技术是运用时间较长的好氧技术,工艺简单且运行稳定,可进一步去除COD和BOD,并有降低TN 的浓度,具有良好的处理效果。
采用“UASB 氧化沟”工艺来处理废水,可以有效的去除酒精废水中的有机物。在查阅资料后估算废水经过处理后可以达到《发酵酒精和白酒工业水污染物排放标准》(GB 27631-2011)中的出水水质标准,该工艺方法是具有可行性的。
关键词:酒精废水;芬顿工艺;UASB;氧化沟
Abstract
The design is to treat the alcohol wastewater of a biotechnology limited company. The wastewater is produced in the process of corn fermentation alcohol production, including fermentation wastewater, equipment washing wastewater and cooling water. The wastewater contains high concentration of COD, BOD and a small amount of TN. Aiming at the wastewater quality, anaerobic and aerobic reactions are combined to treat wastewater.
UASB oxidation ditch process has been adopted in this design. UASB technology is a relatively mature anaerobic technology in China. After pretreatment, wastewater have entered UASB, and anaerobic reaction produces biogas. Sludge, sewage and biogas have been separated by three separators. Biogas has been collected, produce good economic effect and better treatment effect. The oxidation ditch technology is a long-term aerobic technology with simple process and stable operation. COD and BOD can be further removed, and TN concentration can be reduced, which has a good treatment effect.
Using UASB oxidation ditch process to treat wastewater can effectively remove organic matter from alcohol wastewater. After consulting the data, it is estimated that the treated wastewater can meet the effluent water quality standard of "Discharge Standard of Water Pollutants in Fermented Alcohol and Liquor Industry" (GB 27631-2011). This process is feasible.
Key words: alcohol wastewater; Fenton process; UASB; oxidation ditch
目录
第1章 绪论 1
第2章 工艺流程的确定 2
2.1项目背景 2
2.2废水特点及现状 2
2.2.1废水特点 2
2.2.2 国内外研究现状 3
2.3工艺比选 3
2.3.1 好氧生物处理方法 3
2.3.2 厌氧生物处理方法 4
2.3.3 厌氧 好氧生物处理方法 4
2.3.4工艺方案的确定 5
2.4工艺流程 5
第3章主体构筑物的计算说明 7
3.1高浓度废水预处理过程 7
3.1.1格栅Ⅰ 7
3.1.2调节池Ⅰ 9
3.1.3芬顿工艺反应池 9
3.1.4絮凝沉淀池 10
3.2 低浓度废水进水 13
3.2.1格栅Ⅱ 13
3.2.2 调节池Ⅱ 14
3.3生化处理构筑物计算 15
3.3.1污水泵房 15
3.3.2水解酸化池 15
3.3.3UASB反应器 17
3.3.4氧化沟计算 25
3.3.5辐流式二沉池 32
3.3.6消毒设施计算 34
3.3.7计量设备 36
3.3.8竖流式浓缩池 39
3.3.9污泥脱水车间 42
第4章平面布置与高程布置 44
4.1平面布置 44
4.2污水处理厂高程布置 45
4.3处理成本的估算 47
第5章总结 49
参考文献 50
致谢 52
第1章 绪论
随着我国经济的飞速发展,人们的需求也越来越旺盛,这些基本都体现在衣、食、住、行等各个方面。对于“食”这一方面,人们对于酒精类饮品的需求也越来越旺盛,这也使得我国酿酒技术的飞快发展,各种酒类工厂不断出现,酿酒技术也不断创新,酒精工业也在不断地发展。但是,随着酒精工业的发展,酒精发酵废水的处理也渐渐成为一个不可忽视的问题。
目前在我国工业行业中,有机废水的排放量在酒精行业中集中度非常高,该行业也是引起严重水环境污染的第二大轻工业[1]。对酒精发酵废水而言,其富含糖类、蛋白质、有机酸等物质,有机物浓度高,废水成酸性[2]。根据国内外研究的现状一般会对酒精废水进行多级处理,其中可以分为预处理过程、初级处理过程、二级处理过程和深度处理过程。预处理和初级处理过程一般是物理化学方法处理废水;二级处理过程一般是生化处理,可以采用厌氧、好氧方法处理废水。
本设计为对某生物科技有限公司进行玉米发酵生产酒精的生产过程中的废水进行处理,处理后的出水水质要求执行《发酵酒精和白酒工业水污染物排放标准》(GB 27631-2011)。鉴于该酒精废水的COD、BOD等指标较高,本设计拟采用“UASB 氧化沟”工艺进行酒精废水的处理;废水经过预处理后进入UASB,发生厌氧反应,会产生沼气,可以提高经济效益;再流入氧化沟,进一步去除COD、BOD及氨氮等。整套工艺处理效率高,操作简单,运行稳定且水力停留时间HRT较短,占地面积小可以节省投资。
第2章 工艺流程的确定
2.1项目背景
某生物科技有限公司进行玉米深加工生产酒精,在这一过程中会产生有机物浓度较高的废水,本次设计的主要目的是为该企业设计一套合理的废水处理工艺用来处理玉米发酵过程中产生的酒精废水。
废水流量:Q=2000m3/d:
进水水质:高质量浓度废水(COD:30000 mg/L, 1200m3/d),低质量浓度废水(COD:2000~3000 mg/L, 800m3/d),
CODCr 30000 mg/L、BOD512000~25000mg/L,SS 3000 mg/L, pH3~4,水温40~50℃,氨氮230 mg/L;
处理要求
设计处理后的出水水质执行《发酵酒精和白酒工业水污染物排放标准》(GB 27631-2011)。
CODCr ≤400mg/L、BOD5 ≤80mg/L,SS ≤140 mg/L, pH 6~9.6,氨氮 ≤30mg/L。
2.2废水特点及现状
酒精生产废水是一种富含糖类、蛋白质、有机酸等物质的有机物浓度非常高的废水,它的性质偏酸性,如果不做任何处理就直接排放,不仅会引起严重的环境污染,而且还会使很多有用物质白白流失[3]。故而酒精废水必须得到有效处理,目前处理酒精废水这样的高浓度废水的相关工艺都较为成熟,有许多选择的方向。
2.2.1废水特点
待处理的废水包括玉米发酵酒精废水,生产过程中的冷却用水和冲洗用水等。水中COD、BOD含量比较高,而且有两种不同浓度的废水,在处理时需要特别注意.
玉米发酵酒精废水的特点:
(1)废水中悬浮物含量较高;
(2)废水平均水温较高;
(3)废水中COD可达20000~30000mg/L。
(4)废水成酸性,有机酸含量达500mg/L,这些特点导致其不能直接排放[4]。
2.2.2 国内外研究现状
酒精废水是属于有害无毒类的废水,故而以前的一段时间内许多地方对其可能造成的环境问题的重视不够,将酒精废水不处理就直接排放。这样是很不合理的也造成了许多的环境污染,现在不管国内还是国外,都已开始重视酒精废水的污染及处理问题。
目前,对废水的处理主要分为四个过程即预处理过程、初级处理过程、二次处理过程和深度处理过程。预处理是将格栅等将大颗粒的悬浮物除去,在污水中可能混有较大颗粒的杂物,如木材、纤维、塑料和纸张等,如果这些大颗粒物体也进入污水管网中,很可能会损害水泵及其他构筑物,为了使后续工艺顺利进行;初级处理主要是采用物理化学法来去除部分悬浮物,如使用沉淀池或气浮池等;二次处理主要是处理酒精废水中的高浓度有机物,可以采用UASB、SBR等厌氧方法或这氧化沟、活性污泥法等好氧方法;深度处理主要是针对某些浓度指标进行特别针对性的处理,或者处理特殊类型残留物。
综合国内外酒精废水处理方法,一般思路为:首先将高悬浮物的废水通过压滤机或离心机进行固液分离;其次分为两种方式,一通过厌氧发酵的方法将其转变为能源的形式,二是固体制成滤饼作为饲料出售,同时上清滤液利用厌氧生物处理反应器降解其中有机物质,并回收可用沿气能源,再对此出水进行好氧生物后续处理,以求能满足排放要求[5~7]。
2.3工艺比选
对酒精废水而言,其COD、BOD浓度较高,最好采用生化处理。通常对酒精废水进行预处理和一级处理后,再接单一的好氧处理就可以有效的降低污染物浓度;还可以根据不同的水质情况,采用厌氧和好氧相结合的处理方法。
2.3.1 好氧生物处理方法
主要有活性污泥法、生物膜法和生物接触氧化法三种方法:
1.活性污泥法:该工艺的主要构筑物为曝气池与沉淀池,经过物理化学法的预处理后的废水会进入曝气池,与活性污泥混合接触,空气通过曝气设备通入污水中,增加溶解氧含量,活性污泥中的微生物的活动可以有效降低废水中的有机物,最后出水进入沉淀池。
2.生物膜法:该工艺也是属于好氧处理工艺,是一种固定膜法。废水经过预处理后进入生物膜反应区,与活性污泥法不同,生物膜法处理废水主要是利用膜上固着生长的微生物与污水接触,微生物会消耗污水中的有机物用于自身生长繁殖,而污水流动时也会带走膜上老化的脱落微生物,是一种好的废水处理方法。
3.生物接触氧化法:生物接触氧化法在国内应用很广,其主要优点是处理能力大,无污泥膨胀,运行管理方便等,但处理效果一般不及活性污泥法,建筑费用亦较高[8]。
2.3.2 厌氧生物处理方法
厌氧生物处理方法可以用来处理好友较高浓度有机物的污水,同时还会有较多的沼气产生。主要的方法有厌氧滤池、UASB,IC等。
- UASB:在现在的厌氧生物处理方法中,UASB技术是最为成熟的,在许多高浓度污水处理厂都可以找到UASB构筑物,而且还有UASB一体化设备的运用更是加快了它的技术成熟。UASB技术是利用厌氧微生物降解水中的有机物。废水进入UASB后,是从底部进水,废水首先与高浓度活性污泥床混合,在厌氧微生物的活动下,发生厌氧反应,厌氧菌一边消耗水中的有机物,一边产生沼气,沼气上升带动处理后的废水进入三项分离器,从而实现有机物的降解和气液固分离。使用UASB设备的效能高,占地面积小,处理费用低等特点,非常适合高浓度酒精废水的处理。
采用内循环UASB对酒精废水进行厌氧处理, 对连续进水和脉冲进水2种进水方式处理效果进行了对比, 结果表明, 连续进水冬季处理效果较差, 脉冲进水的效果较好,但TN却增加[9]。
- IC:即为新一代的高效厌氧反应器,其抗冲击负荷方面比UASB强,停留时间较短,反应器内部可以形成流体循环;但是在污水的可生化性较差的情况下,IC反应器的表现不如UASB;若进水水质变化较大时,IC反应器的出水量和出水水质也会不稳定。在本次设计中,会有两种不同浓度的废水,进水水质可能会波动较大,所以不适合采用IC反应器。
2.3.3 厌氧 好氧生物处理方法
废水经过前面的物理化学方法处理后,先进入厌氧反应器中,一来可以提高可生化性,有利于后续的好氧处理;二来可以有效降低水中污染物的浓度。这种采用厌氧 好氧工艺方法目前已经相当的成熟,比较适合用于较高浓度有机废水的处理。这是比较成熟、可靠的技术,是值得大力推广的。
- UASB 好氧技术:即废水先通入UASB中,在UASB中进行厌氧反应,可以大大提高可生化性,使难降解的物质变得容易降解,这样也有利于后续的好氧处理。一般在UASB后可以接的好氧处理方法由氧化沟、SBR、生物接触氧化池等,这些工艺与UASB相结合后的COD去除率较高,可以满足对高浓度废水处理的要求,还有水力停留时间短,有机负荷高,投资少等优点。
- 水解 好氧技术:其基本工艺以水解池和好氧处理工艺为主,好氧工艺可以是活性污泥法、接触氧化法、生物膜法等工艺。水解池可以提高废水的可生化性,是预处理工艺。先对废水进行预处理,在用好氧工艺去除有机物的这种方法比较适合可生化性低,难降解有机物浓度高的废水。
- EGSB 好氧技术:这是一种以EGSB为厌氧技术的新型处理工艺,其特点①与UASB相比,EGSB具有布水容易、均匀传质效果好、有机物除率高优点;②EGSB装置的高度可以为UASB装置的2倍以上,其占地面积更小;③在EGSB装置中,废水处理后产生大量的沼气,可回收利用,具有良好的经济效益。EGSB其后可以接生物接触氧化、新型生物接触氧化、AO工艺、氧化沟法、SBR等[10~11]。
2.3.4工艺方案的确定
本次设计是针对某生物科技有限公司进行玉米深加工生产酒精的过程中产生的废水进行处理的工艺设计,该废水主要玉米发酵废水,有机物浓度高[12];和设备的洗涤水、冲洗水、以及冷却水等;本次设计中要处理的酒精废水有很明显的特点,即有两种不同浓度的废水,其中高质量浓度废水(COD:30000 mg/L, 1200m3/d),低质量浓度废水(COD:2000~3000 mg/L, 800m3/d)。
该酒精废水的浓度过高,且有两种不同浓度的废水要处理,故而不适合采用单一的好氧或者厌氧处理方法,故而选择厌氧和好氧相结合的生化处理方法。废水中有高浓度COD和BOD,厌氧处理方面采用UASB技术较为合适,也是相当成熟的废水处理技术。好氧处理技术选择氧化沟法,方法简单有效,都是比较成熟且使用时间较长的工艺[13~15]。
对于预处理过程,可以考虑使用芬顿工艺先处理高浓度废水,在与低浓度废水混合稀释,先一步降低各个污染物浓度。经过初步的估算,预计该工艺方案可以使出水达到要求。所以本设计采用“UASB 氧化沟”工艺可行的。
2.4工艺流程
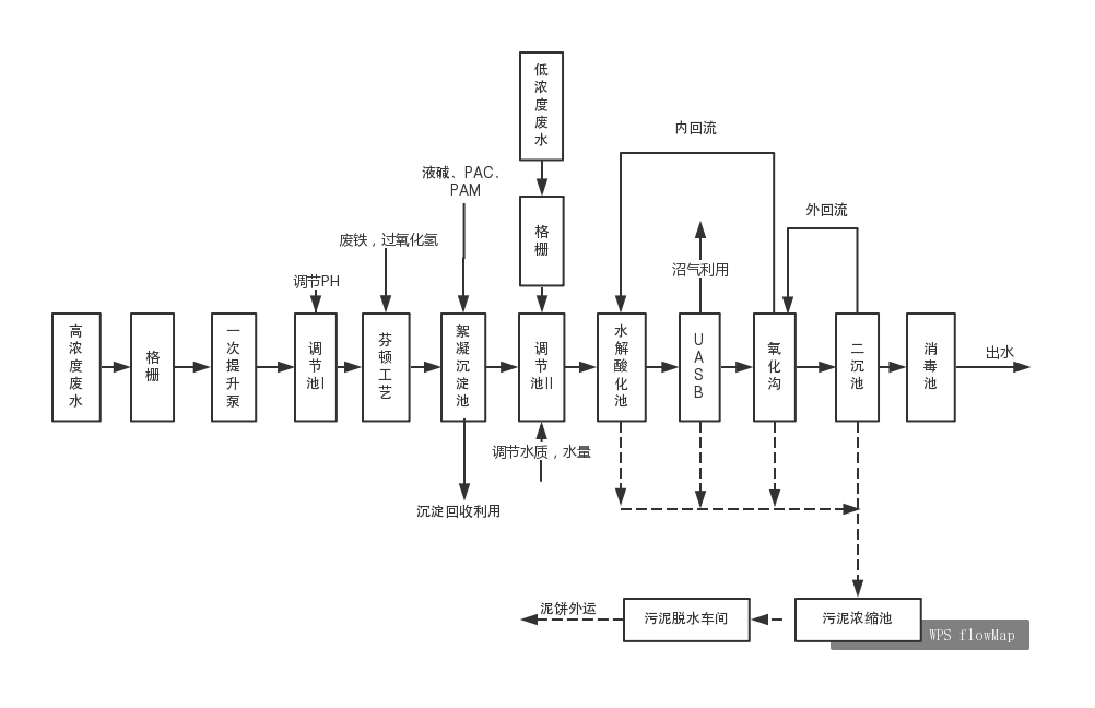
由于有两种不同浓度的废水,所以本工艺将两种废水分开进行预处理,首先是高浓度废水进入格栅Ⅰ,去除一部分的悬浮物;然后由一次提升泵提升水位进入调节池Ⅰ,调节池Ⅰ可以调节废水的pH,为下步的芬顿氧化做准备,又可以当做事故池使用;下一步废水进行芬顿氧化,在pH为3~4的条件下,加入废铁和过氧化氢,可以有效去除废水中的COD、BOD,这大大降低了高浓度废水中的COD和BOD浓度;然后废水进入絮凝沉淀池,加入液碱调节pH为6.5~7.5,在中性条件下加入PAC和PAM进行絮凝沉淀,并将沉淀进行收集回收利用,可去除水中的悬浮物,降低SS;然后进入调节池Ⅱ;低浓度废水进入格栅去除较大的悬浮物后进入调节池Ⅱ;此时,在调节池Ⅱ中两种浓度的废水混合,高浓度废水经过预处理后又可以被低浓度废水给稀释,此时的混合废水的COD、BOD等的浓度都有效降低,调节池Ⅱ在此处主要是起调节水量的作用,同时当做事故池使用,出现问题后废水可以排入该池,不往外排。然后废水进入水解酸化池,在池中将废水中的大分子物质转化为小分子,提高可生化性,可以有效去除悬浮物;然后废水进入UASB,从底部进水,进过高浓度活性污泥床,进过一系列厌氧反应后进入三相分离器,沼气从顶部排出,回收利用,废水从中间流出,进入氧化沟;废水进入氧化沟后,经过好氧曝气后除去水中COD、BOD和氨氮等;废水由氧化沟流出进入二沉池进行泥水分离,最后则通过接触消毒池达标排放。水解酸化池、UASB、二沉池的底泥以及氧化沟的死泥则进入污泥浓缩池浓缩,最后一起运往污泥脱水间,由带式压滤机进行污泥脱水,泥渣外运处理。

图2.1 工艺流程图
第3章主体构筑物的计算说明
3.1高浓度废水预处理过程
该酒精废水中有两种不同浓度的废水,在本工艺设计中将两种不同浓度的废水分开处理,其主要目的是对高质量浓度的废水进行预处理,在与低质量浓度废水合流稀释。
3.1.1格栅Ⅰ


