景观空间构型与城市热岛效应的关联分析毕业论文
2020-02-15 22:44:30
摘 要
本文以武汉市主城区的33个公园为研究对象,采用 landsat-8 TIRS 遥感影像数据,通过反演城市地表温度,探讨城市公园景观的空间构型特征及其内部温度与城市温度变化幅度的关系。研究表明: 从公园内部景观构成方面来看,公园内部温度及其降温幅度与绿地面积占比、水体面积占比、建筑占比和硬质地表均没有显著的相关关系;从斑块形态来看,公园内部温度与其内部绿地的形状指数不存在相关性,公园边界的周长面积比与公园的降温幅度呈显著的负相关,说明公园外围边界形状越复杂,其降温能力越小;从景观空间布局的角度来看,公园内部温度与绿地的聚集度没有显著的相关性,但是其与硬质地表的聚集度呈显著的正相关,即硬质地表分布越集中,公园内部的温度越高。
关键词:城市公园;热岛效应;降温幅度;空间景观特征
Abstract
This paper takes 33 parks in the main city of Wuhan as the research object, and uses landsat-8 TIRS remote sensing image data to investigate the spatial configuration characteristics of urban park landscape and the relationship between internal temperature and urban temperature variation by inversion of urban surface temperature. . The research shows that from the perspective of the internal landscape composition of the park, there is no significant correlation between the internal temperature of the park and its cooling range and the proportion of green area, the proportion of water area, the proportion of building and the hard surface. There is no correlation between the internal temperature of the park and the shape index of the internal green space. The perimeter area ratio of the park boundary is significantly negatively correlated with the cooling range of the park, indicating that the more complicated the boundary shape of the park, the smaller the cooling capacity; From the perspective of layout, there is no significant correlation between the internal temperature of the park and the concentration of green space, but it is significantly positively correlated with the degree of hard surface aggregation, that is, the more concentrated the hard surface distribution, the higher the temperature inside the park.
Key Words: City park; Urban heat island; Spatial landscape characteristic; Cooling range
目 录
第1章 绪论 1
1.1研究背景及意义 1
1.2国内外研究进展 2
1.2.1城市绿地的降温机理 2
1.2.2城市绿地降温的影响因素 3
1.3研究内容与技术路线 4
1.3.1研究内容 4
1.3.2技术路线图 4
1.4论文组织结构 5
第2章 数据与研究方法 7
2.1研究区域概况 7
2.1.1武汉市概况 7
2.1.2武汉市公园绿地基本概况 7
2.1.3研究范围 8
2.2数据源及数据处理 9
2.2.1数据源 9
2.2.2数据处理方法 9
2.3地表温度遥感反演 12
2.4公园景观空间构型特征提取与缓冲区分析 14
第3章 城市公园斑块特征与其内部地表温度的关系 17
3.1公园内部地表温度计算 17
3.2公园内部地表温度与其景观空间特征的相关分析 17
第4章 城市公园景观空间特征与其对环境降温作用的关系 19
4.1城市公园对周边环境降温幅度的计算 19
4.2公园景观特征与降温幅度的相关分析 21
第5章 总结与展望 23
5.1主要结论 23
5.2问题与展望 24
第1章 绪论
1.1研究背景及意义
随着城市的发展,尤其当其达到一定的规模,土地覆被类型的人为改变、人工废热大量排放以及大气污染等现象不断出现,使得城市内部温度升高,明显区别于郊区,形成的“高温孤岛”,被称作城市热岛。城市热岛是城市化所带来的最容易让人感受到的不良现象,它扩大了城市高温发生的范围,同时也加剧了城市高温发生的强度,严重降低了城市居民的热舒适度。
普遍认为,景观格局的改变是导致城市热岛形成的直接原因,但是对于景观格局是如何影响城市热岛的强度和分布这个问题仍没有定论。许多研究表明绿地和水体这两种景观成分可以对其所在地区起到降温增湿的作用;且其能改善局地的气候,进而起到降低周边环境温度的作用,是缓解城市热岛的重要影响因素。但是为了让城市基础设施发挥高效作用,城市聚集是必然趋势,故而城市内绿地和水体面积受限也是必然结果。景观内组分、空间形态和布局是表征景观格局的两个重要指标,它们对热岛效应的影响表现出从整体到局部的递进关系。相比较而言,在这两大因素与城市地表温度的关系及其影响机制的研究中,学者们研究景观组分对城市热岛的影响机制方面最多,结论也比较明确。
城市热岛强度主要受到景观内组分和比例的影响,景观内不同土地覆被类型的地表反射率不同,蒸散强弱程度也不同,故而导致传输的热量不同。同时热量的传输在空间上具有流动性,局地景观吸收或释放热量的同时会影响影响到周边环境,进而改变周边环境的温度,这使得研究景观空间构型对城市热岛效应的影响变得极为重要。尤其是在如今城市化导致降温型景观的面积受到限制的处境下,降温景观空间构型与城市热岛的关联分析便尤为重要。探索城市公园景观空间构型与其降温效应的关系,有利于更好发挥其“城市冷岛”的作用,并为城市的公园规划提供相关依据。
近年来,许多国内外学者对不同类型的城市公园景观及其降温效应进行研究, 探讨了公园的外部形态特征如公园外围边界的形状复杂度,公园内林地、草地、水体及硬质地表与建筑的比例等景观组成以及公园内部景观空间布局对其降温效果的影响。除此之外,在研究公园对周边环境的降温效应时, 大多采用缓冲区分析的方法,即人为划定公园外围缓冲区,以此计算公园周边环境的平均温度及其变化,并将该温度与其内部温度进行比较,或结合实地气象观测数据进行研究[3]。
但是,不同研究却得出了相反的结论和建议,如一些研究认为形状简单且分布集中的绿地斑块降温效果更佳,同时也有研究发现形状复杂却降温效果更强。因此,景观构型影响热岛效应的规律及具有代表性的构型指标仍不明晰。除此之外,还有对于同一结论提出相反建议的,比如当得出公园外围边界越复杂,公园内外环境越容易进行热量交流,从而导致公园更容易对周边环境产生影响的结论时,一些研究认为公园复杂的外围形状在一定程度上减缓了其降温过程,所以建议公园外围边界简单化,也有一些研究认为增加斑块形状复杂性能够增加公园景观对周围环境的影响,更大程度发挥公园改善城市生态环境的作用,所以对公园降温效应的理解仍有分歧。一些人认为增大公园的降温效应是尽可能减小公园所在地的温度;另一些人认为增大公园的降温效应是尽可能减小公园周边地区的温度。
一般来说,除了景观组分和气候条件,一些社会经济指标对城市热岛效应的影响也会和景观空间构型对城市热岛效应的影响重合,所以在研究景观空间构型对城市热岛效应的影响进行分析时应该剥离其他变量的影响,否则研究结果容易具有偶然性,没有说服力[3]。同理,进行城市公园景观空间构型与其降温效应的关联分析,也需保证进行比较的各公园样本的气候条件、景观组分比例等基本一致,但是很多研究均没有考虑控制景观组分变量,这也许是得出的结论相反的原因之一。
在控制变量的前提下,找到关键且有形态学意义的景观空间构型指数并分析出其与公园降温效应的关系,有助于明晰利用景观生态学的方法缓解城市热岛效应的途径,为城市绿色空间的规划提供相关决策依据。
1.2国内外研究进展
1.2.1城市绿地的降温机理
城市绿地的遮阴和蒸散作用使其能有效降低自身及周围环境温度。在植被的遮阴作用方面,植被的枝叶越茂盛,其有效吸收到剩达地面的太阳短波辐射越多,从而降低周边气温。Kotzen发现植被可吸收可见光波段80%的辐射,反射10%,因此,透过叶片的辐射仅剩10%;在红外波段,其可吸收和反射共70%,仅30%穿透叶片到达地表。Tsiros[5]进一步发现虽然不同树种的枝叶繁茂程度不同而导致其阻挡太阳辐射的程度不同,但是所有树种的枝叶均能有效减小到达地表的太阳辐射能,从而起到一定程度的降温作用。在国内,霍晓娜通过研究北京市的许多常见植被,发现它们可分别遮挡75%以上的可见光和65%以上的紫外光;杨曼通过研究石家庄市的城市公园发现植被枝叶繁茂程度会显著影响植被降温增湿作用。植被的蒸腾作用是绿地产生降温效应的又一个重要因素。植被通过蒸腾作用,吸收周围环境热量并将其转换为潜热,进而降低周围环境的气温。张彪等对北京市的绿地由于蒸腾作用而产生的降温效益进行了定量评估,研究发现北京市每公顷的绿地平均每天可吸收9.6*J的热量。此外,另外一个绿地产生降温效应的因素是它的光合作用。绿地通过光合作用减少其周边地区的二氧化碳含量,减缓温室效应,进而降低温度。Nowak等人发现植被通过遮阴作用降低了其周边环境温度,而温度的降低提高了土壤吸收二氧化碳的能力,进而减缓温室效应。
1.2.2城市绿地降温的影响因素
城市绿地“冷岛效应”强度受多种因素的影响,主要可归纳为以下两个方面:一是绿地自身特征,如绿地的大小、类型、植被结构、空间形态和布局等;二是绿地周边环境景观配置,绿地“冷岛效应”的发挥还受到周围城市环境的影响,如建筑密度、高度以及街道走向等因素,相关学者已从该角度开展了许多研究并取得了很多成果。
(1)绿地自身特征的影响
城市绿地能够有效改善城市局地的气候,对城市热岛效应起到一定的缓解作用,但是缓解程度受到其自身特征的影响,如面积大小、空间形态及布局等因素。很多研究表明,城市绿地面积会显著影响其降温幅度。如,Chang等实测了台北市61个公园绿地的气温,发现公园的面积越大则气温越低,但是两者并不是线性的关系。王帅帅等通过分析广州市公园绿地的降温效应发现公园绿地的面积和其边界复杂度与内部温度呈对数关系,增大公园绿地的面积和形状复杂度可提高公园绿地的降温幅度。
此外,部分研究成果表明公园绿地内部土地覆被类型,如草地、林地、水体、硬质地表与建筑的组成比例,也会对其缓解热岛的的强度产生较大影响。Zhou等在对美国 Baltimore 城市绿地的降温幅度进行分析时发现,草本植物的降温效果显然不如林地和灌木。冯悦怡等通过研究北京市城区24个公园发现公园绿地内的水体及硬质地表与建筑的面积和绿量会显著影响公园内部温度,且公园内林地、水体面积及绿量是影响公园绿地对周围环境的降温幅度及降温影响范围的主要因素。苏泳娴等对广州市区17个公园进行了分析,研究结果进一步证实公园绿地面积及水体面积是影响城市公园绿地的降温幅度与降温影响范围的因素。
在此基础上,相关的一部分学者发现除了公园绿地的各种下垫面类型面积所占比例之外,公园绿地的空间形态和布局(斑块密度、边界形状、聚集度等)也对其降温效应产生一定的影响,并能部分弥补下垫面类型及其面积占比解释不了的部分。Zhou等发现绿地斑块密度与其降温能力呈正相关。Chen等在分析北京市的城市公园绿地时发现,不同季节下,绿地斑块形状复杂度影响降温效应的程度不同,冬季大于夏季。Zhou等对Sacramento 和Baltimore两个城市林地的空间结构对城市热岛效应的影响进行了对比分析,结果证实了在不同季相条件下,绿地的空间结构对绿地的降温效应有不同的影响。因此,在由于城市化的发展导致如今土地资源有限的情况下,通过优化城市绿色空间的空间结构以更大程度发挥其降温效益不失为一个好方法。
(2)周边环境景观配置的影响
城市绿地的降温效应还受到绿地周围环境景观配置的影响,例如建筑密度、建筑高度、街道走向、建设用地面积等因子。晏海通过分析北京市奥林匹克公园发现,城市公园绿地周围环境的建筑密度与其降温距离呈负相关关系;公园周围环境越平坦开阔,公园降温影响距离越长。陈方敏发现随着据公园边界距离的增加,温度并非逐渐增加,而与用地结构具有明显的关系,分布于公园绿地周边的高层建筑会显著阻碍公园绿地的降温作用。Hamada等人发现,城市公园绿地周围的高建筑越高、道路越繁忙,公园绿地的降温影响范围越短。Zoulia[20]等人也发现周围街道走向及其峡谷效应(街道高宽比)会很大程度上影响公园绿地的降温范围。
1.3研究内容与技术路线
1.3.1研究内容
本次研究的内容主要为以下两个方面:
(1)从景观构成、斑块形态和空间布局三个方面,探讨夏季城市公园景观空间结构与其内部温度的响应关系;
(2)从降温幅度这个角度着手,依然从上述三个方面探讨夏季城市公园景观空间结构与其对周边环境的降温效应之间的关系。
1.3.2技术路线图
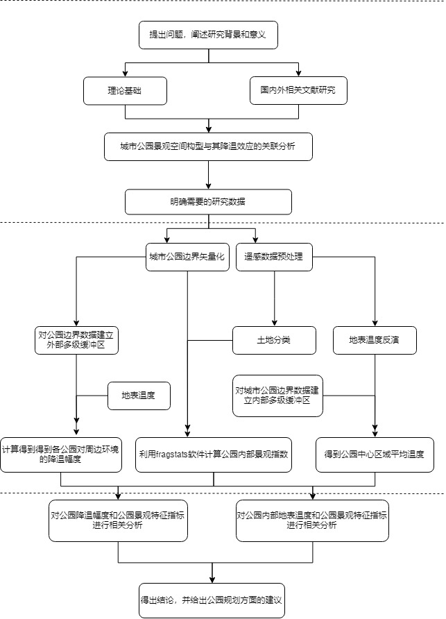
本研究的技术路线见图1.1.
                       图1.1 技术路线图  
1.4论文组织结构
全文总共分为五个部分,论文具体的内容与结构安排如下:
第一章:绪论。该章阐述了本次研究的背景和意义,介绍有关城市绿地降温机理和影响因素研究的国内外研究现状,确定了本次研究的主要内容、技术路线以及论文整体架构。
第二章:数据与研究方法。介绍本文的研究区—武汉市的概况以及武汉市内公园概况、研究区域范围、所需数据源和数据预处理方法、地表温度反演算法、公园景观空间特征提取方法和缓冲区分析。
第三章:探讨城市公园景观空间特征与其内部温度的关系,初步把握公园内部景观构成、斑块形态和空间布局与公园内部温度的相关关系。
第四章:探讨城市公园景观空间特征与其对周边环境的降温效应的关系,以降温幅度作为衡量公园对周边环境降温能力的指标,初步把握上述三个方面与公园降温幅度的相关关系。
第五章:问题与展望,对整篇论文进行总结,分析结论,提出存在的问题,进行讨论并对未来做出展望。
第2章 数据与研究方法
2.1研究区域概况
2.1.1武汉市概况
武汉市(东经113.4°—115.1°,北纬29.9°—31.4°)位于湖北省东部,地处长江中下游,地形以平原为主,平均海拔低于50米。武汉市属于北亚热带季风性气候,雨量充沛、日照充足。武汉市的气候冬冷夏热,冬季12、1、2月的平均温度在5°左右,夏季从6月下旬开始到8月底的平均温度可高达28.7°。春秋季时间较短,夏季时间极长可达135天。区域内存在很多湖泊塘堰对于调解日夜温差和温度有着较大作用。
截至2014年12月,武汉市城镇化率达67%,共13个市辖区。目前而言,武汉市夏季全天日夜闷热且郊区无风,城市热量流动性较差。从上世纪90年代起,武汉市城市热岛范围明显扩大,热岛强度明显强化,而之后城市的发展更强化了其热岛效应。根据武汉市年度气象数据,武汉市目前存在古田一路宜家购物中心、汉口火车站、解放大道与建设大道之间、武钢工业区、楚河汉街、东西湖吴家山投资区、古田四路到古田五路之间、中铁钢材市场、古田一路宜家购物中心、巧口东风汽车公司、武汉开发区民营科技工业园、武昌杨园和司门口共12个热岛。
2.1.2武汉市公园绿地基本概况
(1)武汉市城市公园发展历史
1929年,武汉市建成中山公园,这是武汉市进行公共园林建设的第一个成果。1950年其建成了第一个苗圃,并在1953年开始准备筹建解放公园、滨江公园这两个大型公园,之后大规模的城市绿化运动陆续开展。截止60年代末,武汉市已有13个公园,1个风景区,武汉市的公共园林建设初见规模。截至2002年,武汉市公园绿地建设取得显著成效。2002-2005年,武汉市政府将建设重点转到维护原有公园,并在此基础上启动大型重点公园建设项目。2002年,武汉市开始筹建汉口江滩公园,使江滩公园成为武汉市的一个标志,同时,武昌和汉阳区的江滩公园也开始着手建设。据统计资料显示,截至2008年,武汉市主城区内城市公园绿地达1954.70公顷。
(2)武汉市公园绿地现状
至2016年底,武汉市建成区绿地面积共20015公顷,绿地率达34.18%,绿化覆盖率为39.65%。其中,公园绿地面积7333.32公顷,人均公园绿地面积11.21㎡。
表2.1 武汉市城市园林绿化指标汇总表
来源 《武汉园林年鉴》

        
            
