双金属复合螺栓组织和性能研究毕业论文
2020-05-31 20:38:05
摘 要
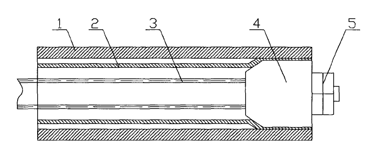
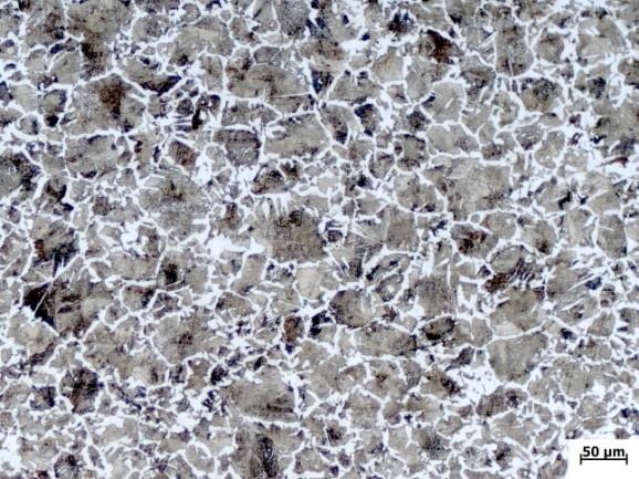
螺栓被称为工业之米,可见其应用广泛。本文采用冶金复合的方法制备出新型螺栓,并研究其组织和性能。具体为:在45钢表面预镀镍基合金制备出的碳钢 钎焊层 外层304不锈钢的双金属复合材料,经过轧制处理后再加工成螺栓,最后经过840℃淬火,600℃回火调质处理。利用金相显微镜分析组织的变化,显微硬度机测量硬度的变化并得出如下结论:原始45钢组织为魏氏体;未调质螺栓基体组织为魏氏体,不锈钢组织为奥氏体。经过840℃淬火 600℃回火的调质处理螺栓,基体组织为保留原马氏体位向的回火索氏体,不锈钢组织为奥氏体。经过840℃淬火 600℃回火调质处理的螺栓与未调质处理的螺栓相比:1、硬度升高,力学性能提高;2、热扩散使得冶金结合层增厚,增加碳钢与不锈钢的结合力;3、减少结合层部位的孔洞缺陷。
关键词:双金属复合螺栓;不锈钢层厚度;组织;硬度
Study of Microstructure and Properties of Bimetallic Composite Bolts
Abstract
Bolts are known as industrial rice, showing its wide range of applications. In this paper, a new type of bolt was prepared by metallurgical composite method, and its microstructure and properties were studied. Specifically: in the 45 steel surface pre-nickel-based alloy prepared by the carbon steel brazing layer outer 304 stainless steel bimetallic composite materials, after rolling and then processed into bolts, and finally after 840 ℃ quenching, 600 ℃ Tempering modulation processing. The change of microstructure was measured by metallographic microscope, and the hardness of the microhardness machine was measured and the conclusion was as follows: the original 45 steel structure was weaker; the matrix of the non-quenched and tempered bolt was wey and the stainless steel was austenite. After 840 ℃ quenching 600 ℃ tempering modulation treatment of the bolt, the matrix structure to retain the original martensite phase of the tempered sorbite, stainless steel structure for the austenite. After 840 ℃ quenching 600 ℃ tempering treatment of the bolt compared with the unmodulated processing of the bolt: 1, the hardness increases, improve mechanical properties; 2, thermal diffusion makes the metallurgical bonding layer thickening, increase the combination of carbon steel and stainless steel Force; 3, to reduce the joint layer of the hole defects.
Key Words: Bimetallic composite bolts; stainless steel layer thickness; organization; hardness
目 录
摘 要 I
Abstract i
第一章 绪论 1
1.1 引言 1
1.2 双金属复合材料介绍 1
1.2.1 双金属复合材料简述 1
1.2.2 双金属复合材料的连接理论 1
1.3 双金属复合材料的应用 2
1.3.1 双金属复合材料的应用 2
1.3.2 双金属复合材料的历史 3
1.4 双金属复合材料工艺技术 3
1.4.1 热挤压复合法 4
1.4.2 热轧复合法 4
1.4.3 离心铸造复合法 4
1.4.4 爆炸复合法 5
1.4.5 滚动挤压复合法 5
1.4.6 粉末冶金复合法 6
1.4.7 机械拉拔法 6
1.4.8 本节小结 7
1.5 课题研究内容 7
第二章 试验方法 9
2.1 实验主要仪器和方法 9
2.1.1 实验主要仪器 9
2.1.2 实验所用的化学试剂 10
2.2 实验材料 10
2.3 研究方法 11
2.4预合金化 11
2.4.1 电镀前处理的工艺 11
2.4.2 碳钢表面预合金化工艺 12
2.5 热处理工艺 13
2.5.1 金相制备 13
2.5.2 热处理工艺 13
2.6 金相显微分析方法 13
2.7 硬度分析方法 14
第三章 分析与讨论 15
3.1 原始45钢金相检测 15
3.2 未调质螺栓组织分析 15
3.3 调质螺栓金相组织分析 16
3.4 不锈钢层厚度分析 17
3.5 冶金结合层致密度与缺陷 19
3.6 螺栓硬度测试 19
第四章 结论 22
参考文献 23
致谢 25
第一章 绪论
1.1 引言
金属复合材料是指,几种不同的金属材料利用已有的工艺,冶金结合所材料。
本文的螺栓所用到的是一种把45钢与304不锈钢结合在一起的材料,能应用在很多行业里。在同等效力的情况下,他可以节约近一半的资金,代替优质但是昂贵的单一不锈钢材料,此外,与单一的不锈钢相比,他的力学性能,导热性能,使用性能更加好,性价比比较高。随着各行各业对金属复合材料的逐步了解,金属复合材料的使用在逐步增长。
众所周知,螺栓在制造业里占据重要位置。除了应有的优点外,螺栓材料还应有组织稳定性好, 热脆性倾向小的优点。但是在高温和应力的长期作用下,螺栓会不仅脆化失效,而且会因为腐蚀而产生失效,现研究性价比较高的双金属复合螺栓,观察其金相组织,分析其硬度,可以为进行螺栓设计、选材、制造提供参考。
1.2 双金属复合材料介绍
1.2.1 双金属复合材料简述
复合材料把多种材料运用已有的复合手段紧密的结合在一起的一种材料,他将各种单一材料取长补短达到性能最优性。
相关图片展示:







您可能感兴趣的文章
- 表面活性剂改性疏水性Cu2O量子点作为高效钙钛矿太阳能电池顶部空穴传输材料外文翻译资料
- Nb 和 Ni 共掺杂 Mg(0001)氢解离扩散的理论研究:外文翻译资料
- 低温固相法制备锂离子电池正极材料LiFeSO4F毕业论文
- 锂空气电池新型正极催化剂Gd2Zr2O7的制备与性能研究毕业论文
- 酸类添加剂对beta”-Al2O3电泳沉积成型法的影响毕业论文
- CuZr非晶合金中短程有序结构及其与玻璃形成能力的关系研究毕业论文
- 靶电流对多弧离子镀TiN镀层微观结构和性能的影响毕业论文
- 基于溅射离子镀技术的黄色系镀层制备及色彩表征毕业论文
- 电参数对铝合金汽缸微弧氧化陶瓷层性能的影响毕业论文
- 基于溅射离子镀技术的蓝色系镀层制备及色彩表征毕业论文


