NF2-15支座压铸成形工艺与模具毕业论文
2020-04-06 13:07:46
摘 要
本设计首先通过对课题所给定的NF2-15支座压铸件进行工艺性分析,结合所给定的铝合金材料,首先确定分型面的位置,接着通过计算锁模力确定压铸机的型号和各个参数,再通过压铸机给定的参数进行进一步设计。其次利用Pro/cast软件对压铸件进行模流分析,设计出合理的浇注系统。通过浇注系统的形式与尺寸,并结合压铸机的主要参数设计压铸模模架与成型零件。最后利用Auto-CAD软件进行整体模架的绘图,最后根据各个模板及镶块尺寸,结合文献所给定的公式与经验数据表等对推出机构和抽芯机构等机构进行设计。
关键词:压铸模;成型工艺;压铸件;模具
Abstract
In this design, firstly, through the technical analysis of the NF2-15 bearing die castings given in the subject, combined with the given aluminum alloy material, the position of the parting surface is first determined, and then the die casting machine model is determined by calculating the clamping force. And each parameter is further designed by the parameters given by the die casting machine. Secondly, Pro/cast software was used to perform die flow analysis on die castings and a reasonable gating system was designed. Through the form and size of the pouring system, combined with the main parameters of the die casting machine, die-casting mold bases and molded parts are designed. Finally, using the Auto-CAD software to complete the drawing of the whole mold frame, finally according to the various template and insert size, combined with the formula given in the literature and the empirical data table, etc., the design of the launch mechanism and the core-pulling mechanism and other institutions.
Key Words:Die casting mold;Forming process;Die Casting;Mold
目 录
第1章 压铸件工艺分析与分型面的选择 1
1.1 设计目的 1
1.2 基本内容 1
1.3 压铸件的工艺性分析 1
1.4 分型面的确定 1
第2章 压铸机的选用 4
2.1 压铸设备选用分析 4
2.2 压铸机锁模力的确定 4
2.3 压铸机锁模力的校核 5
2.4 压室实际容量的核算 5
2.5 模具闭合高度和开模距离的核算 6
第3章 浇注系统与排溢系统的设计 7
3.1 浇注系统的设计 7
3.1.1 内浇口的设计 7
3.1.2 直浇道的设计 8
3.1.3 横浇道的设计 8
3.2 溢流槽的设计 10
第4章 压铸模具成型零件与模架设计 11
4.1 成型零件结构形式 11
4.2 成型零件尺寸的设计 11
4.3 模架的设计 14
4.3.1 动定模镶块的设计 14
4.3.2 动定模套板的设计 14
4.3.3 动模支承板的设计 15
4.3.4 动定模座板及垫块的设计 16
4.3.5 导向零件的设计 16
第5章 推出机构的设计 18
5.1 推出机构的选定 18
5.2 推杆的设计 18
5.3 复位杆的设计 19
5.4 限位钉的设计 19
5.5 推板导柱与推板导套的设计 20
第6章 抽芯机构的设计 21
6.1 抽芯力和抽芯距离的确定 21
6.2 斜导柱的设计 21
6.3 滑块的设计 22
6.4 限位块与楔紧块的布置 23
第7章 加热与冷却系统的设计 24
7.1 模具的加热方法 24
7.2 模具热平衡计算 24
7.3 模具的冷却方法 25
7.4 冷却水道的计算 25
7.5 设计小结 25
参考文献 26
致 谢 27
第1章 压铸件工艺分析与分型面的选择
1.1 设计目的
本设计通过对NF2-15支座压铸模具的设计,认识和学习压力铸造的工艺设计过程和模具的设计过程。期望掌握压铸成形工艺与模具设计相关知识,拓宽专业知识面,提高专业技能。
1.2 基本内容
根据所给出的合金材料YZAlSi12 (YL102)以及压铸件的形状结构,对压铸件进行工艺分析,后通过设计分型面、选定压铸机等步骤,设计模具结构初步方案,绘制模具结构装配草图,再通过具体分析设计以及校核参数,设计出整体的压铸模具。
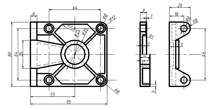
1.3 压铸件的工艺性分析

图1.1 NF2-15压铸件支座
如图所示,此零件结构并不复杂,但多个方位有孔,壁厚基本均匀,为3mm厚,8mm耳环处以及φ8孔附近台阶处较厚,是个热节,可能出现缩松。零件表面基本为直面,孔及槽的数量较多,有加强筋连接薄壁处。图中未给定具体零件尺寸公差精度,通过查表,铝合金压铸件空间对角线长度在50-180mm之间压铸件的尺寸公差等级可达到按图中技术条件此零件全部尺寸公差为IT11级,用压铸方法能够达到尺寸精度要求。压铸材料为YZAlSi12(YL102),为压铸铝硅合金,经查表得其平均收缩率为0.6%。
1.4 分型面的确定
确定分型面是模具设计中的第一个步骤。对于压铸件,如何进行分割是主要问题,需要确定动定模各包含压铸件的那些部分以及哪一个面位于分型面处。
根据Pro-e软件绘制的模型,共有三个可供选择的分型面,模型底面1、平行于底面8mm距离处的顶面2以及有侧向孔的侧面3。
从投影面积上来看,分型面3的投影面积相对分型面1和分型面2小的多,这样容易造成侧抽芯机构多且复杂,且不利于分模,根据分型面的选择原则,分型面应该选择在压铸件外形轮廓尺寸的最大截面处,故不采用;若采用分型面2分型,虽然分型面2与分型面1的投影面积大小相同,但分型面2的推出机构相比采用分型面1的复杂的多,铸件的两个耳环处包紧力大,压铸件易卡在动模不易推出,综合分析选择分型面1进行分型。
选择分型面1进行分型既能保证压铸件的表面质量和尺寸精度,且型芯的包紧力能使压铸件在动定模分离后留在动模一侧,又能使浇注系统便于设置,后期切除浇注系统方便。

图1.1 分型面1

图1.2分型面2

图1.3 分型面3
第2章 压铸机的选用
压铸机是压铸生产过程当中最重要的设备,在压铸过程当中各类特征都是通过压铸机得以实现,同时压铸件的质量也和压铸机的性能息息相关。
2.1 压铸设备选用分析
压铸机通常按照动作的方向和压室的布置位置和工作条件分类,分为热室铸机和冷室压铸机,冷室压铸机又分为卧式、立式、全立式压铸机三种形式,压室的形式对于压铸机的选用十分重要。课题所给的是铝硅合金,对于铝硅合金,若采用热室压铸机,长期使用容易增加合金中的含铁量,而铝合金对铁有很高的化学活性,容易造成粘膜,故不能采用热室压铸机。由于压铸件的形状结构并不复杂,而立式压铸机相较于卧式压铸机,由于增加了反料结构,因此模具结构更为复杂,且操作也较卧式压铸机更为困难,故选用卧式冷室压铸机。
2.2 压铸机锁模力的确定
根据压铸产品选择压铸机,需要计算压铸机的锁模力是否满足设计要求。选用压铸机时首先要确定的,便是锁模力的大小。锁模力是在压铸过程中,为克服压射时的反压力(也称胀型力),达到锁紧模具分型面的要求,并防止由于模具松动而引起的压铸合金飞溅、伤人和影响压铸件尺寸精度的情况产生。
在一般情况下,压铸机的锁模力可按照下式计算:

式中:F锁——压铸机的锁模力(kN);
F主——主胀型力 (kN);
k——安全系数,一般取1.25;
P——压射比压(MPa),压铸件为铝合金承载件,经查表得压射比压p的推荐值为50-80MPa,取p=70MPa;
A件——表示压铸件在分型面上的正投影面积的大小,一模多腔则表示各型腔的正投影面积之和(cm2),A件=(64 8×2)×95-2×(8²-1/4×π×8²)-4π×(8/2)²-π×(25/2)²=6880.6 mm²;
A浇——浇注与溢流、排气系统的正投影面积之和,一般取A浇=0.3A件(cm2);
A = A件 A件= 1.3A件= 8944.8 mm² =89.448 cm²

由于存在抽芯机构,故在主分型面上会产生一个分胀型力,分胀型力的计算公式如下:

式中 F分——由各个法向分力引起的分胀型力之和 (kN);
A芯——侧抽芯成型端面的投影面积 (cm2),利用所建立的Pro-e模型对侧抽芯成型端面进行面积测量得出A芯=1139.35mm²;
p——压射比压(MPa);
——侧抽芯楔紧块的楔紧角(°),根据后续计算绘图过程中的数据可知
=20°;
=70×11.394/10×tan20°=30.616kN
=1.25×(626.136 30.616)=820.94kN
按照初步计算的锁模力选择卧式冷室压铸机,压铸机型号为DCC130,经查表得出其主要参数:锁模力=1450KN;拉杆内间距=429×429mm;压射力=180KN;顶出力=108kN;动模板行程=350mm;模具厚度(最小-最大)=250-500mm;压室直径=40、50、60mm;对应的一次金属浇入量(Al)=0.7、1.15、1.6kg;铸造面积=90、140、205cm²;顶出行程=85mm。
根据铸件投影面积A=89.448cm²,选择铸造面积=140cm²型号压铸机,则压室直径D=50mm,压射量=1.15kg。
2.3 压铸机锁模力的校核
根据公式
计算压射比压,式中F射为压射力,根据2.2内容所述其大小为180kN,D为压室直径,根据2.2所述D=50mm,则p=180÷0.785÷50²=91.72MPa。
=1.25×(89.448×91.72÷10 91.72×11.394÷10×tan20°)=1075.53kN小于锁模力1450kN,满足设计要求。
2.4 压室实际容量的核算
在压铸机选定之后,压室容纳的铝合金质量也就确定了,为保证能后顺利生产零件,需要校核每次浇注量是否小于压室容量,即G室>G浇,G浇可根据公式G浇=K×π/4×D²×L×ρ计算
式中 D——压室直径(cm);D=5cm;
G浇——每次浇注时所需的压铸合金的质量(g);
K——压室充满系数,一般取K=60%-80%;取最大值K=0.8核算;
L——压室与浇口套的有效长度之和(cm);定模座板厚度为32mm,定模套板厚度为100mm,则L=32 100=132mm=13.2cm;
ρ——压铸合金液的密度(g/cm³);铝合金一般取ρ=2.4g/cm³;
G浇=0.8×π/4×5²×13.2×2.4=497.6g=0.498kg<G室=1.15kg,满足设计要求。
2.5 模具闭合高度和开模距离的核算
(1)模具厚度的核算 由于动模座板可以调节的最大距离是给定的,所以压铸机模具设计的厚度尺寸必须符合下列要求:
Hmin 10mm<H设<Hmax-10mm
式中
为压铸机所允许的最小模具厚度=250mm,
为压铸机的设计厚度,根据CAD绘图中所测量得到H设=394mm,Hmax是压铸机所允许的最大模具厚度=500mm,故
250 10=260mm<394<500-10=490mm,满足设计要求。
(2)动模座板行程的核算 每台压铸机都有最小合模距离和最大合模距离,需要根据铸件形状、模具结构和浇注系统核算是否能够取出铸件,即动模板行程需要大于开模后压铸件取出的距离,即:
L行>L取
式中L行为动模板行程=350mm,L取为开模后压铸件脱模或取出时所需要的最小距离,L取=L件 K=26 10=36mm<350mm,满足设计要求。
第3章 浇注系统与排溢系统的设计
3.1 浇注系统的设计
设计合理的浇注系统是压铸模具设计中十分重要的环节。
卧式冷室压铸机的浇注系统由直浇道、横浇道和、内浇口三部分组成,其中余料和直浇道合为一体。设计时需要注意在开模运动时,整个浇注系统以及压铸件需要随动模一起与定模分离。
根据压铸机的形式与引入金属液的方式不同,浇注系统的形式也有所不同。本设计采用侧浇口的形式。侧浇口的适应性强,可按照压铸件结构布置在压铸件外侧面,本设计压铸件非回转体,壁厚较薄,多处存在型芯,适合采用侧浇口的形式,在后期去除浇口也更为方便。
3.1.1 内浇口的设计
内浇口的设计主要是为了确定内浇口的位置、形状和尺寸。

图3.1 内浇口的布置位置
根据内浇口的设计原则,设计将内浇口的位置开设在如图3.1所示位置。内浇口开设在此处有利于压力的传递和型腔的排气,避免了正面冲击型芯,保证了较高的充填速度,减少了金属液的热量流失,且浇口便于切除和清理。
内浇口的截面积计算是确定其尺寸的重要依据,采用流量计算法进行计算,公式如下:

式中 Ag——内浇口的横截面积(mm²);
G——通过内浇口的金属液质量,金属液注入量=1.15kg=1150g。
ρ——金属液的密度,铝合金的密度ρ=2.4g/cm³;
vg——内浇口处金属液的充填速度,根据充填速度推荐值表得出铝合金的充填速度为20-60m/s,取vg=50m/s;
t——型腔的充填时间,查充填时间推荐表得当压铸件平均壁厚为3.0-3.8mm,则充填时间为0.05-0.12s,取t=0.1s

内浇道与横浇道的连接方式采用如图3.2所示的方式连接。

图3.2 内浇道与横浇道的连接
3.1.2 直浇道的设计
直浇道是传递压力的首要部位,是指从浇口套起一直到横浇道为止的一段浇道。卧式冷室压铸机的直浇道主要由压铸机压室和模具浇口套组成,浇口套的内径根据压铸机压室直径所确定,D=50mm,设计采用连接式压室,压室和浇口套分别制造,直浇道及浇口套的尺寸设计如图3.3所示。

以上是毕业论文大纲或资料介绍,该课题完整毕业论文、开题报告、任务书、程序设计、图纸设计等资料请添加微信获取,微信号:bysjorg。
相关图片展示:









