桩承式挡墙路堤数值模拟与设计研究毕业论文
2020-02-16 23:36:07
摘 要
桩承式挡墙路堤技术结合了桩承式路堤竖向承载力高和挡土墙控制侧向变形的优点,改善了路堤土体的受力条件,在仅利用原有道路红线空间或少量征地的情况下,即可实现道路的新建或拓宽。
为了研究桩承式挡墙路堤内部荷载传递机制,改进挡土墙土压力和竖向荷载传递计算方法。开展离散单元法(DEM)数值模拟,建立桩承式挡墙路堤试验数值模型,以桩间距和路堤高度作为影响参数,开展了9组试验。数值试验结果表明,桩间土的下沉会导致土体中应力状态发生变化,使得桩间土范围挡土墙土压力减小,桩帽范围挡土墙土压力增大,桩帽连梁上土压力增大。路堤中出现了土拱效应,将荷载转移到桩上。
上述结果可以为桩承式挡墙路堤设计计算提供指导,对于该项新技术的应用具有一定的工程实践意义。
关键词:桩承式路堤;挡土墙;DEM数值模拟;土拱效应;结构设计
Abstract
The technique of pile-supported embankment combined with retaining wall has the advantages of high vertical bearing capacity of pile-supported embankment and lateral deformation control of retaining wall.
In order to study the load transfer mechanism of pile-supported retaining wall embankment, the calculation method of earth pressure and vertical load transfer of retaining wall was improved.Discrete element method (DEM) numerical simulation was carried out and pile-supported retaining wall embankment test box was established. With pile spacing and embankment height as influencing parameters, 9 groups of tests were carried out.The numerical test results show that the settlement of soil between piles will lead to the change of stress state in the soil, resulting in the decrease of soil pressure in the soil retaining wall between piles, the increase of soil pressure in the soil retaining wall within the pile cap, and the increase of soil pressure on the pile cap and connecting beam.Soil arching effect appears in embankment.
The above results can be used as guidance for the design and calculation of pile-supported retaining wall embankment and have practical significance for the application of this new technology.
Key Words:Pile-supported embankment; Retaining wall; DEM numerical simulation; Soil arching effect; structure design
目录
摘要 I
Abstract II
目录 1
第一章 绪论 1
1.1 研究背景 1
1.2 桩承式路堤技术研究现状 1
1.3 DEM在岩土工程中的研究现状 2
1.3.1 DEM的产生与发展概况 2
1.3.2 DEM在桩承式路堤中的应用 3
1.4 本文研究内容 3
第二章 桩承式挡墙路堤介绍 5
2.1 路堤挡土墙简介 5
2.2 桩承式挡墙路堤组成 6
2.3 路堤挡墙结构形式选择 7
2.3.1 锚板式挡土墙介绍 7
第三章 桩承式挡墙路堤数值模拟 10
3.1 数值试验参数标定 10
3.1.1 填料压实度标定 10
3.1.2 三轴试验数值标定 11
3.1.3 模型组装 13
3.2 数值试验安排 14
3.3 试验结果 15
3.3.1 挡墙土压力 15
3.3.2 桩帽及连梁土压力 20
3.3.3 土层位移 21
3.4 小结 26
第四章 桩承式挡墙路堤设计 27
4.1挡土墙设计 27
4.1.1 锚板式挡墙设计计算 27
4.1.2 悬臂式挡墙设计计算 32
4.2 桩帽及连梁设计 32
4.2.1 桩帽及连梁上部土压力计算 32
4.2.2 内力计算 32
4.3 桩承式挡墙路堤算例 35
4.3.1 算例介绍 35
4.3.2 挡土墙配筋计算 35
4.3.3 连梁配筋计算 37
4.4 优化设计探讨 38
第五章 结论 39
5.1 主要结论 39
5.2 问题与展望 39
参考文献 40
攻读学士期间参与科研项目及发表论文情况 42
致谢 43
第一章 绪论
1.1 研究背景
城市道路对城镇化建设和国民经济发展起到了重要的推动作用。近年来,我国社会和经济迅速发展,城市道路流量增大,暴露出了我国城市道路发展存在的多方面的问题,主要体现在道路容量不足上。目前我国城市的人均道路面积不及发达国家的1/3。在城市道路框架基本建成的情况下,城市道路拓宽工程将成为今后一段时间内城市道路建设的主要内容。
我国沿海与沿江发达地区,地势低平,河湖较多,平原、水面占比高。华东、华南与华中各省的道路大多为路堤形式,由于线路的要求不可避免的穿越软土、膨胀土、冲填土等不良地质路段。道路拓宽工程对路堤沉降与变形的控制要求更为严格,差异沉降控制与新老路堤衔接是路堤拓宽工程中的关键问题[1]。为了解决上述问题,我国于1999年首次引入桩承式路堤(Piled Embankments),并应用于沪杭甬高速道路一期拓宽工程中[2]。主要做法是在老路两侧或一侧采用桩承式路堤技术进行拼接。新建桩承式路堤与拓宽工程中的桩承式路堤主要组件见图1.1。上世纪八十年代,该技术便开始在国外工程中出现,特别适用于对沉降有严格要求或者快速施工的工程[4]。例如荷兰的部分高速公路[5]、巴西部分道路拓宽工程[6]和英国Stansted机场的铁路加宽工程[7]等。

图1.1 桩承式路堤技术在新建工程与拓宽工程中的应用
1.2 桩承式路堤技术研究现状
桩承式路堤既有水平向增强体(加筋垫层),又有竖向增强体(群桩),桩体承担了大部分荷载从而控制了新路堤的沉降,加筋垫层对土体的侧向约束作用和对桩体的隔离作用降低了新路堤加载对老路堤的附加应力影响,从两方面有效地控制了差异沉降的产生。另外,土工加筋结构限制了路堤边坡的侧向滑移,提高了路堤完整性。同时,桩承式路堤技术可以大大提高建设进度,降低对老路通行的影响,使得经济效益和社会效益显著提高[8~12]。因此,桩承式路堤已成为路堤拓宽工程中最为可靠的技术。然而,随着城市经济的高度发展,土地征用难度越来越大,征用费用逐年提高。为了节约土地资源,减少资源浪费,同时获得更好的拓宽加固效果,亟需对现有的拓宽工程加固技术进行改进。
对于桩承式路堤,竖向荷载传递机制是研究的重点,其主要依靠两种机制,即沉降差异导致的应力迁移现象“土拱效应”[13],以及土工格栅在竖向发挥表现为兜提作用的“张拉膜效应”[14]。目前已有多种考虑“土拱效应”与“张拉膜效应”的桩承式路堤竖向荷载计算模型,这些模型可以分为三类,即:等沉面模型[15]、刚体模型[16]和压拱理论模型 [17-19]。众多土拱效应模型显示出了桩承式路堤荷载传递机制的复杂性,各方法均存在其适用范围,并在一定条件下可能会相互转化。侧向抗滑移则通过土工加筋物的拉膜效应控制[15]。和新建工程中的桩承式路堤相比,道路拓宽工程中的桩承式路堤边界条件发生了改变,主要表现在路堤荷载分布的不对称性上。一部分路堤荷载作用在老路堤上方,而另一侧则为临空面。耿建宇[20]认为,经桩网结构处治后,工后沉降最大值为无处治措施时的19%,且出现的位置由新路基坡脚处转移至新旧路基顶面结合部所对应地表位置。吕伟华等人[21]认为由于拓宽路堤边坡的存在以及拓宽宽度限制,荷载重心偏向于新老路堤交界面。桩基处理及加筋处理,使得水平位移减小均显著,但加筋层数的增加对水平位移的减小不明显。采用拓宽加固的路堤还出现拓宽路基范围内的工后沉降较小,而老路堤内沉降较大的情况,说明拓宽部位的地基处理能较好地减小工后沉降,但在未处理的老路边坡以内仍存在较大的工后沉降[22]。对于老路基下的地基而言,随着深度的增加水平位移先向路基中心线方向发展,当达到一定深度时,开始远离路基中心线,并逐渐减小[23]。由此可知,采用传统的桩承式路堤拓宽方式(如图1.1b),仍然存在:加筋体横向约束不足,抗差异变形能力较差;以及边桩竖向承载能力浪费的问题。
1.3 DEM在岩土工程中的研究现状
1.3.1 DEM的产生与发展概况
离散单元法(DEM)是一种研究非连续介质体力学特性的数值方法,该方法源于分子动力学理论,基于牛顿第二定律,其本构方程与运动方程如下:
式中,是单元体间的法向接触力,是法向接触刚度,是法向重叠量,单元体接触面法向向量;是单元体的切向接触力,是上一时步中得到的切向力,是切向力增量;是单元体表面所受的合外力,是单元体质量,是单元体加速度,是体力加速度向量(例如重力加速度)。
DEM由Cundall[24]在1971年提出,最初是岩石力学的散体单元法,随着对DEM研究的深入,Cundall和Strack在1979年又提出了适用于土力学的DEM[25-27],并形成了系统的理论模型,即软球颗粒模型;Walton[28]于1980年研究了散体流动,并发展了DEM;同年Campbell[29-30]提出了相对于软球颗粒模型的硬球颗粒模型,并采用该方法研究了颗粒的剪切流特性。
英国的Thornton基于对颗粒接触模型的研究,对Cundall的TRUBAL程序进行了全面改造,形成了拥有较大影响力的GRANULE程序。GRANULE程序基于弹塑性圆球接触力学,可以较好的对颗粒两相流、干-湿和弹-塑性等问题进行数值模拟。此后,国外各科研机构和高校也开始采用DEM来模拟和解决岩土力学问题,如Radjai[31]采用的力网络法,Moreau[32]运用接触动力学方法探究材料剪切区。
我国的DEM研究始于上世纪80年代,王泳嘉首次引入DEM对岩石力学和颗粒体系进行了数值模拟[33-34],此后DEM开始广泛用于危岩、边坡[35]和矿井稳定等岩石力学问题上。
1.3.2 DEM在桩承式路堤中的应用
由于桩承式路堤填料一般为散体材料,而传统的有限单元分析法(FEM)[36]将土体看作连续体,忽略了土体的散体特性,难以探究土体内部的细观力学机制。Jenck等人[37]采用直径为3、4和5mm,长为60mm的圆形钢棒开展桩承式路堤的二维模型试验。并分别采用DEM和FEM对模型试验进行数值模拟,发现DEM结果与模型试验更吻合。这是因为DEM充分考虑到了材料的散体特性,允许各单元体相互分离。也正是DEM的这种特性,使得对桩承式路堤填料内部细观力学特性的研究成为可能。
Lai等人[38]将Jenck[37]室内模型试验和二维DEM数值模拟进行对比,研究了加筋和未加筋桩承式路堤中的土拱效应,并讨论了路堤内部主应力偏转与强力链的演化过程;LeHello和Villard[39]将DEM与FEM耦合,构建了桩承式路堤的三维数值模型,并将数值试验结果与众多土拱计算模型做了对比分析;Han等人[40]利用DEM模拟了平面应变状态下的桩承式路堤,分析了桩承式路堤的应力与破坏特性,对比了加筋和未加筋路堤的承载特性。上述研究表明DEM数值计算方法能够较好地反应砂填料桩承式路堤的力学特性。
1.4 本文研究内容
课题组结合桩承式路堤在变形控制以及竖向承载力高的优势,提出将拉锚式挡墙与桩承式路堤结合,利用拉锚式挡墙约束土体横向变形,改善路堤土体的受力条件,极大消减侧向荷载,减少加固范围。
本文通过三维颗粒离散元DEM数值分析的方法,研究路堤内部土体应力状态及其挡墙土压力分布。对一侧挡墙约束条件下的桩承式路堤竖向土拱效应荷载传递特性进行探讨,建立起竖向荷载传递计算方法;通过其他工程经验类比,提出挡墙土压力计算方法、挡墙及连续梁板的受力计算方法,提出挡墙与桩帽连梁的连接方式和配筋方式,最终建立起桩承式挡墙路堤的设计计算方法。
第二章 桩承式挡墙路堤介绍
传统的桩承式路堤技术仍然存在着抗差异变形能力较差,边桩竖向承载能力浪费以及占地面积较大浪费土地资源等问题。为了改善上述问题,课题组提出将拉锚式挡墙与桩承式路堤结合(图2.1),利用拉锚式挡墙约束土体横向变形,改善路堤土体的受力条件,大幅度消减侧向荷载,减少加固范围。

图2.1 拉锚挡墙与桩承式路堤联合加固技术
2.1 路堤挡土墙简介
挡土墙是指支承路基填土或着山坡土体、防止填土或者土体变形失稳的构造物。路堤挡土墙(图2.2)一般设置在高填土路提或者陡坡路堤的下方,可以有效防止路堤边坡或路堤沿基底滑动,并且收缩路堤坡脚,减少填方数量和占地面积。

图2.2 路堤挡土墙
2.2 桩承式挡墙路堤组成
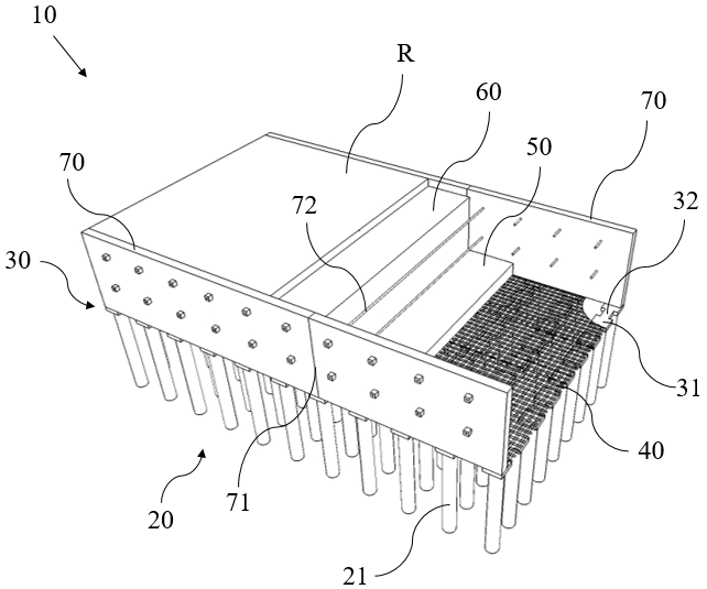
桩承式挡墙路堤结构由承载部、连接层、砂垫层、土工格栅层、路堤层以及挡墙六部分组成(图2.3)。
承载部由竖向承载桩组成,竖向承载桩呈矩形排布,桩径30~60cm,桩间距为4~8倍桩径,桩顶刺入桩帽的深度大于5cm。
连接层由桩帽和连梁组成。桩帽固定在竖向承载桩顶部,为正方形钢筋混凝土板结构,边长为70~150cm,厚度应大于30cm。连梁布置在同一排的相邻两个桩帽之间,形成整体结构,以抵抗水平荷载,并增加结构刚度。梁的宽度可以取1个桩帽宽度(全断面式)或1/2个桩帽宽度(半断面式)。为了保持连接层结构整体性,连梁与桩帽应同时浇筑。
砂垫层铺设在连接层上。垫层可以是级配良好的碎石层、砂石层或者人工破碎混凝土层,厚度应该大于30cm,并且填充的颗粒物的最大粒径宜小于2cm。垫层可以起到变形协调作用,能够充分发挥桩的承载能力。
土工格栅层可以直接铺设在连接层之上,即直接敷设在桩帽顶部。土工格栅层的铺设采用横向铺设,以保证其连续性,而不出现断裂、弯扭折皱、松弛等,同时避免过量拉伸。
路堤层铺设在垫层上。路堤层上面可进一步铺设路面。应根据实际工程条件合理选择路堤层的填料,分层填筑。
挡墙设置在连接层上,且位于施工侧的边侧区域。当场地尺寸条件受限时,在桩承式路堤一侧(对应拓宽工程)或两侧(对应新建工程)设置挡墙,通过连接层把承载部和挡墙连接形成整体结构,这样就可以通过桩帽把挡墙上的水平土压力通过整体式桩帽分摊到竖向承载桩上,以改善边桩受力,达到减少边桩数量的目的。
挡墙会因为温度、湿度等因素的变化而产生胀缩变形,为了避免挡墙因变形而发生破裂,在挡墙上设置有多条变形缝。设计时,一般将沉降缝和伸缩缝合并设置(见图2.4),沿着路线方向每隔10~15m设置一道,兼起二者的作用,缝的宽度2~3cm,缝内一般可用胶泥填塞。

10—桩承式挡墙路堤;20—承载部;21—竖向承载桩;30—连接层;31—桩帽;32—连梁;40—土工格栅层;50—垫层;60—路堤层;70—挡墙;71—变形缝;72—拉索;R—路面
图2.3 桩承式挡墙路堤的结构示意图

图2.4 挡土墙的沉降缝和伸缩缝
以上是毕业论文大纲或资料介绍,该课题完整毕业论文、开题报告、任务书、程序设计、图纸设计等资料请添加微信获取,微信号:bysjorg。
相关图片展示:









