南京美凯龙家居用品商场空调设计毕业论文
2020-04-15 18:09:53
摘 要
本工程为南京美凯龙家居用品商场空调设计。地下一层,地上四层,每层高4.2米,总建筑面积约40435平方米。地下一层为停车库,地上四层为家居用品商场。地下一层做通风设计,地上四层做空调设计。冷负荷计算采用谐波反应法,热负荷计算采用指标法。本设计中主要为商场店铺,空调系统采用全空气系统。水系统采用闭式、同程式系统。南京地处夏热冬冷地区,冷热源采用空气源热泵。
关键词:全空气系统;水系统;空气源热泵;通风
Air conditioning Engineering Design of Nanjing Meikailong Household products Shopping Mall
Abstract
This project is designed for the air conditioning of Nanjing Meikailong Household Products Mall.There is a underground floor and four floors above the ground.The height of each floor is 4.2 meter.The total construction area is approximately 40,435 square meters.The underground floor is a parking garage and four floors above the ground are a household products mall.The underground floor is designed for ventilation, and four floors above the ground are designed for air conditioning .The calculation of the cooling load uses the harmonic response method, and the calculation of the thermal load uses the index method.This design is mainly for shopping malls, so the air conditioning system uses an all-air system.The water system adopts a closed,reversed return system.Nanjing is located in the hot summer and cold winter regions,owing to this,the air source heat pump is used for the cold and heat source system.
Key words: all-air system; water system; air source heat pump; ventilation
目录
摘 要 I
Abstract II
第一章 设计概况 1
1.1. 工程概况 1
1.2. 室外气象参数 1
1.3. 室内设计参数 2
1.4. 围护结构参数 2
1.4.1. 墙体 2
1.4.2. 门窗 2
1.4.3. 楼板 2
1.4.4. 屋面 2
1.5. 不同房间人均面积指标及单位面积照明设备负荷 3
第二章 空调负荷的计算 4
2.1. 通过围护结构传入的非稳态传热形成的逐时冷负荷 4
2.2. 透过玻璃窗进入的太阳辐射得热形成的逐时冷负荷 4
2.3. 人体、照明和设备等散热形成的逐时冷负荷 5
2.4. 内墙、楼板等内围护结构形成的冷负荷 5
2.5. 计算实例 6
2.5.1. 外墙逐时冷负荷 6
2.5.2. 外窗冷负荷 7
2.5.3. 人体冷负荷 7
2.5.4. 照明及设备冷负荷 8
2.5.5. 内墙、楼板冷负荷 8
2.6. 热、湿负荷 9
2.6.1. 热负荷 9
2.6.2. 湿负荷 9
2.6.3. 计算实例 9
第三章 空调系统的确定及机组选型 10
3.1. 空调系统的比较 10
3.1.1. 空调系统的分类 10
3.1.2. 空调系统的对比 10
3.2. 空调系统的选择 10
3.3. 新风量的确定 11
3.4. 送风量的确定 11
3.4.1. 一次回风系统空气处理过程 11
3.4.2. 计算实例 12
3.5. 机组选型 14
第四章 气流组织的校核设计计算 16
4.1. 气流组织的基本要求 16
4.2. 散流器送风 17
4.2.1. 散流器送风设计要求 17
4.2.2. 散流器送风设计步骤 17
第五章 空调风系统设计计算 18
5.1. 风管设计的主要内容 18
5.2. 风管形式的选择 18
5.3. 风管水力计算 18
5.3.1. 水力计算的方法 18
5.3.2. 通风空调系统风管内的空气流速 18
5.3.3. 计算步骤 18
5.3.4. 计算实例 19
5.4. 风管并联管路的不平衡率校核 22
5.4.1. 并联管路的不平衡率的要求 22
5.4.2. 校核实例 22
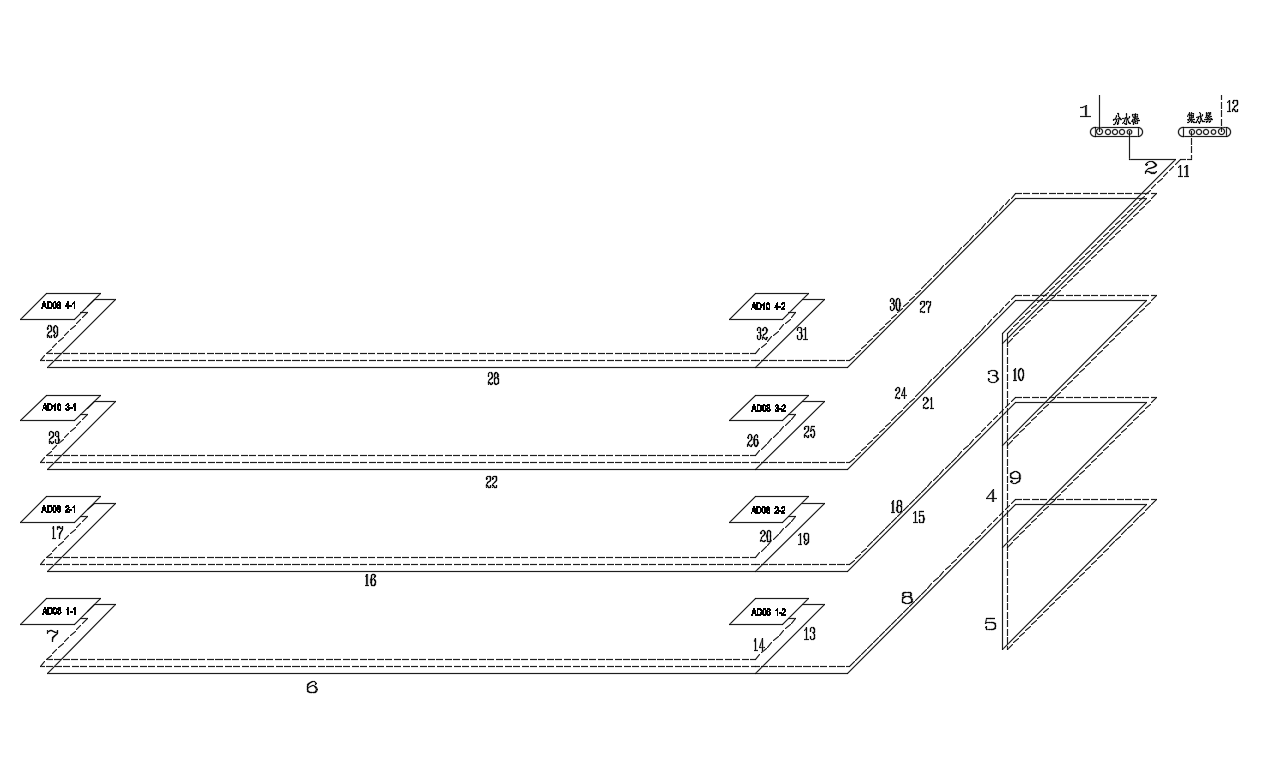
第六章 空调水系统设计计算 23
6.1. 空调水系统形式的比较选择 23
6.1.1. 空调水系统形式的比较 23
6.1.2. 空调水系统形式的选择 23
6.2. 水系统水力计算 23
6.2.1. 计算步骤 23
6.2.2. 计算实例 24
6.3. 冷凝水管管径的设计 27
第七章 机房设计及附属设备的选择 28
7.1. 冷热源方案的选择 28
7.2. 机组容量的确定及选型 28
7.2.1. 机组容量的确定 28
7.2.2. 机组选型 28
7.3. 机组的布置 29
7.4. 机房附属设备的选型 29
7.4.1. 分集水器的选择 29
7.4.2. 膨胀水箱的选择 30
7.4.3. 冷冻水泵选择 30
7.4.4. 补水泵的选择 32
第八章 通风防排烟设计 33
8.1. 设计原则 33
8.2. 风量计算及风口设计 33
8.2.1. 风量计算 33
8.2.2. 风口设计 33
8.3. 水力计算 34
8.3.1. 计算实例 34
8.3.2. 并联管路的不平衡率校核 35
8.4. 风机选型 35
第九章 防腐与绝热 36
9.1. 管道与设备防腐 36
9.2. 管道与设备保温 36
9.2.1. 保温设计的目的 36
9.2.2. 保温材料的选择 36
9.2.3. 保温材料厚度的确定 36
第十章 噪声与振动 38
10.1. 消声与隔振的设计目的 38
10.2. 消声的措施 38
10.3. 隔振的措施 38
设计依据 40
附录 41
附录一 各房间冷负荷汇总表 41
附录二 各房间热湿负荷汇总表 52
附录三 散流器选择与校核 57
附录四 水系统水力计算 63
附录五 通风系统水力计算 72
设计概况
工程概况
本工程为南京美凯龙家居用品商场空调设计,该商场位于南京市,总建筑面积约为40435平方米。地下一层,地上四层,地下一层为停车库,地上一层至四层为商场店铺。总高度为16.8m,层高4.2m。
室外气象参数
室外设计参数按南京市选取,根据设计依据[1],查得南京市室外设计参数。列于表1-1中。
表1-1 南京市室外设计参数
大气压力 | 冬季室外大气压力(hPa) | 1025.5 |
夏季室外大气压力(hPa) | 1004.3 | |
室外计算温、湿度 | 夏季空气调节室外计算干球温度(℃) | 34.8 |
夏季空气调节室外计算湿球温度(℃) | 28.1 | |
夏季空气调节室外计算日平均温度(℃) | 27.9 | |
夏季通风室外计算温度(℃) | 31.2 | |
夏季通风室外计算相对湿度(%) | 69 | |
供暖室外计算温度(℃) | -1.8 | |
冬季通风室外计算温度(℃) | 2.4 | |
冬季空气调节室外计算温度(℃) | -4.1 | |
冬季空气调节室外计算相对湿度(%) | 76 | |
风速 | 夏季室外平均风速(m/s) | 2.6 |
冬季室外平均风速(m/s) | 2.4 |
室内设计参数
室内设计参数查阅设计依据[1],根据推荐值选取,列于表1-2中。
表 1-2 室内设计参数表
类别 | 温度(℃) | 相对湿度(%) | 风速(m/s) |
夏季 | 26~28 | ≤70 | ≤0.3 |
冬季 | 18~22 | ≤0.2 |
围护结构参数
墙体
外墙选用设计依据[1] 第3号墙体,传热系数0.56W/(m2•K),延迟为9.1h,衰减系数为0.34。
内墙选用设计依据[3] 中3号墙体,传热系数1.89W/(m2•K),延迟为7h,衰减系数为0.46。其结构为混凝土空心砖块。
门窗
门,K取2.0 W/(m2•K);窗挂深色内窗帘,K取1.5 W/(m2•K),房间类型为中。宽度以底图实际尺寸为准,高度自取。
楼板
楼板选用设计依据[3] 中1号层间楼板,传热系数1.88W/(m2•K),延迟为5h,衰减系数为0.42。其结构为混凝土空心砖块。
屋面
屋面选用设计依据[1]中1号屋面,传热系数0.49 W/(m2•K),衰减为0.16,延迟为12.3h。
围护结构的参数列于表1-3中。
表 1-3 围护结构的参数表
围护结构 | 类型 | 传热系数(W/(m2·K)) | 衰减 | 延迟h |
外墙 | 水泥砂浆20mm | 0.56 | 0.34 | 9.1 |
挤塑聚苯保温板20mm | ||||
加气混凝土砌块200mm | ||||
水泥砂浆20mm | ||||
内墙 | 混凝土空心砖块 | 1.89 | 0.46 | 7 |
门 | 2.0 | |||
窗 | 挂深色内窗帘 | 1.5 | ||
楼板 | 钢筋混凝土楼板 | 1.88 | 0.42 | 5 |
屋面 | 细石混凝土40mm | 0.49 | 0.16 | 12.3 |
防水卷材4mm | ||||
水泥砂浆20mm | ||||
挤塑聚苯板35mm | ||||
水泥砂浆20mm | ||||
水泥炉渣20mm | ||||
钢筋混凝土120mm |
不同房间人均面积指标及单位面积照明设备负荷
不同房间的人均面积指标及单位面积照明、设备负荷依据设计依据[3]确定,列于表1-4中。
表 1-4 不同房间的人均面积指标及照明设备负荷
房间名称 | 人均面积指标(㎡/人) | 照明负荷(W/㎡) | 设备负荷(W/㎡) |
高档商店 | 4 | 19 | 13 |
空调负荷的计算
通过围护结构传入的非稳态传热形成的逐时冷负荷
通过围护结构传入的非稳态传热形成的逐时冷负荷,按式(2-1)~式(2-3)计算:
(2-1)
(2-2)
(2-3)
式中:
——外墙传热形成的逐时冷负荷(W);
——屋面传热形成的逐时冷负荷(W);
——外窗传热形成的逐时冷负荷(W);
——外墙、屋面或外窗传热系数[W/(㎡•K)];
——外墙、屋面或外窗传热面积(㎡);
——外墙的逐时冷负荷计算温度(℃);可按设计依据[1]附录H确定;
——屋面的逐时冷负荷计算温度(℃);可按设计依据[1]附录H确定;
——外窗的逐时冷负荷计算温度(℃);可按设计依据[1]附录H确定;
——夏季空调区设计温度(℃);
透过玻璃窗进入的太阳辐射得热形成的逐时冷负荷
透过玻璃窗进入的太阳辐射得热形成的逐时冷负荷,按式(2-4)计算:
(2-4)
式中:
——透过玻璃窗进入的太阳辐射得热形成的逐时冷负荷(W);
——透过无遮阳标准玻璃太阳辐射冷负荷系数,可按设计依据[1]附录H确定;
——外窗综合遮挡系数;
——夏季日射得热因数最大值,可按设计依据[1]附录H确定;
——窗玻璃净面积(㎡)。
人体、照明和设备等散热形成的逐时冷负荷
人体、照明和设备等散热形成的逐时冷负荷,分别按式(2-5)~式(2-7)计算:
(2-5)
(2-6)
(2-7)
式中:
——人体散热形成的逐时冷负荷(W);
——人体冷负荷系数,可按设计依据[1]附录H确定;
——群集系数;
——人体散热量(W);
——照明散热形成的逐时冷负荷(W);
——照明冷负荷系数,可按设计依据[1]附录H确定;
——照明修正系数;
——照明散热量(W);
——设备散热形成的逐时冷负荷(W);
——设备冷负荷系数,可按设计依据[1]附录H确定;
——设备修正系数;
——设备散热量(W)。
内墙、楼板等内围护结构形成的冷负荷
空调区与邻室的夏季温差大于3℃时,其通过内墙、楼板等内围护结构传热形成的冷负荷可按式(2-8)计算:
(2-8)
式中:
——内维护结构传热形成的逐时冷负荷(W);
——夏季空调室外计算日平均温度(℃);
——邻室计算平均温度与夏季空调室外计算日平均温度的差值(℃)。
计算实例
南京市的外墙、屋面逐时冷负荷计算温度(℃)见表2-1,地点修正值为0,外墙、屋面的延迟分别为9.1h、12.3h。
表 2-1 外墙、屋面逐时冷负荷计算温度

南京市外窗传热逐时冷负荷计算温度
(℃)以及透过无遮阳标准玻璃太阳辐射冷负荷系数值
见表2-2。
表 2-2 外窗传热逐时冷负荷计算温度太阳辐射冷负荷系数值

以一层左下角101房间为例进行负荷计算。
外墙逐时冷负荷
外墙传热系数0.56W/(m2•K),衰减为0.34,延迟为9.1h。室内温度为26℃,南外墙面积为40.32㎡,西外墙面积为25.2㎡。依据公式(2-1)计算,计算结果列于表2-3中。
表 2-3 外墙逐时冷负荷

外窗冷负荷
外窗冷负荷分为通过围护结构传入的非稳态形成的逐时冷负荷和透过玻璃窗进入的太阳辐射得热形成的逐时冷负荷两部分。
外窗传热系数为1.5 W/(m2•K),南外窗窗户面积为26.88㎡,西外窗窗户面积为16.8㎡,由公式(2-3)可求得外窗传热形成的逐时冷负荷。
南京夏季透过标准玻璃窗的太阳总辐射照度最大值
按东南西北方向分别为533,216,533,136。外窗综合遮挡系数由外遮阳修正系数、内遮阳修正系数以及玻璃修正系数共同决定,求得外窗综合遮挡系数为0.61。由公式(2-4)可求得透过玻璃窗进入的太阳辐射得热形成的逐时冷负荷。
外窗冷负荷计算结果列于表2-4中。
表 2-4 外窗冷负荷

人体冷负荷
本建筑为家居用品商场,其人均面积指标为4(㎡/人),一层房间101的面积为160㎡,得房间人数n为40人。由参考文献实用供热空调设计手册查得商场的群集系数为0.89,一名成年男子在商场轻度活动的显热散热量为58W,潜热散热量为123W。该商场的工作时间为8:00~22:00,连续工作时间为14h,人体冷负荷系数
按连续工作时间14h查阅设计依据[1]附录H得到。由公式(2-5)可求得人体散热形成的逐时冷负荷,计算结果列于表2-5中。
表 2-5 人体冷负荷
以上是毕业论文大纲或资料介绍,该课题完整毕业论文、开题报告、任务书、程序设计、图纸设计等资料请添加微信获取,微信号:bysjorg。
相关图片展示:









