应用于舰船综合电力系统中多台逆变器并联策略的仿真研究毕业论文
2020-03-14 12:18:24
摘 要
在现代舰船电力系统中,目前的发展方向是将船舶发电、输电、配电与用电各部分统筹起来综合考虑,进而实现船舶电力系统的集成化,提高舰船电力系统的生命力与稳定性。目前由于电力电子技术的发展,逆变器机组已成为舰船电力系统的重要组成部分,在不同工况下切换电源时,如何保证各台逆变器并联时的幅值、相位、频率一致,如何分配各自电站的功率是舰船发电机组研究的主要课题。
本论文主要研究了逆变器并联的控制策略。从单相逆变器开始学习,了解了逆变器和逆变电路的概念,详细分析了逆变器并联时产生环流的原因,掌握了逆变器并联的基本原理。对逆变器各种并联形式进行了分析比较,选定了无互连线式的并联方式,采用了下垂控制方式。
对单相逆变器采用电压外环,电流内环的双闭环控制结构,分析了PI调节环节,LC滤波环节的参数设计。通过仿真软件MATLAB/Simulink仿真了控制过程,结果表明该控制结构可以使得逆变器稳定运行。然后进行了两台逆变器并联的仿真,采用下垂控制策略,分析了仿真结果,说明这种控制方法有很好的输出特性。
关键词:逆变器;环流;双闭环控制;下垂控制;MATLAB/Simulink
Abstract
In modern ship power system, the present is the development direction of the ship's power generation, transmission, distribution and electric parts as a whole to consider, to realize integration of ship power system, improve the vitality of warship power system and stability. At present due to the development of power electronic technology, inverter unit has become an important part of ship power system, switching power supply under different conditions, how to ensure that each stage inverters parallel amplitude, phase, frequency, how to divide the ship is the power of generator on the respective research main topic.
This paper mainly studies the control strategy of inverter parallel connection. From the study of single-phase inverter, I have understood the concept of inverter and inverter circuit, analyzed the causes of the circulation when the inverter is parallel in detail, and grasped the basic principle of the inverter parallel. This paper analyzes and compares all kinds of parallel modes of inverter, selects the parallel mode without interconnection line, and adopts the sag control mode.
For the single-phase inverter, the double closed-loop control structure of voltage outer ring and current inner ring is adopted, and the parameter design of PI adjustment link and LC filtering link is analyzed. The control process is simulated by the simulation software MATLAB/Simulink. The results show that the control structure can make the inverter run stably. Then two inverters are simulated in parallel and the simulation results are analyzed by using the droop control strategy.
Key Words:inverter;circumfluence;double closed loop control;droop control;MATLAB/Simulink;
目 录
第1章:绪论 1
1.1 课题背景及意义 1
1.2 国内外的研究现状: 2
1.3 基本内容介绍 2
1.4 论文工作安排 3
第2章:逆变器及其控制结构 5
2.1 逆变器和逆变电路的介绍 5
2.2 逆变器等效模型 5
2.2.1 单相逆变器 5
2.2.2 两台逆变器并联运行 6
2.3 逆变器并联运行的原理 8
2.3.1 环流分析 8
2.3.2 逆变器并联的基本原理 8
2.4 本章小结 9
第3章:并联控制策略的研究 10
3.1 各种并联控制方式 10
3.1.1 集中控制方式 10
3.1.2主从控制方式 10
3.1.3 改进的主从控制方式 11
3.1.4分散逻辑控制方式 11
3.2 无互连线的并联控制方式 11
3.3 下垂控制策略 12
3.4 本章小结 16
第4章:双闭环控制与滤波等各环节参数的设置 17
4.1 直流电源值 17
4.2 滤波环节参数设置 17
4.2.1 滤波电感的设计 17
4.2.2滤波电容的设计 18
4.3 PI环节参数 18
4.3.1 电压外环的设计 19
4.3.2 电流内环的设计 20
4.4 本章小结 21
第5章:基于下垂控制策略逆变器并联系统仿真分析 22
5.1 单相逆变器的双闭环仿真 22
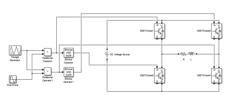
5.2 两台逆变器并联的仿真 25
5.2.1 原理与模型 25
5.2.2 各模块介绍 27
5.2.3 仿真输出结果分析 28
5.3 本章小结 30
第6章 总结与展望 31
6.1总结 31
6.2展望 31
参考文献 32
致 谢 33
附 录 34
第1章:绪论
1.1 课题背景及意义
船舶系统最开始的动力系统和电力系统是相对独立的,传统的热机和其他机械设备组成了动力系统,电力系统不是传统所说的发电厂到输配电的大系统,而是一个相对独立的系统,它可以跟随船舰进行移动,动力和电力系统并没有直接的关联。而现在船舶电力系统的发展 非常迅速,在早期船舶电力系统贡献的电能非常少,只能用于为舰船提供照明,但是现在船舶电力提供的能量非常充足,有些可以达到“全电船”的程度[1]。在现代舰船所发展的电力系统中,目前的发展方向是对船舶系统各部分进行综合考虑,希望能够将发电、输电、配电与用电这四个部分进行统一规划,从而实现船舶电力系统的集成化,提高舰船电力系统的生命力与稳定性。将电力系统与推进系统相结合,称为综合电力系统,这是这些年来发展起来的一项新技术。
目前由于电力电子技术的发展,逆变器机组已成为舰船电力系统的重要组成部分,在运行过程中,面对不同的工况:战斗工况、巡航工况、进出港工况、锚泊工况等。不同工况下的负载容量会有很大差别,考虑到运行效率和经济性,需要进行不同发电机组之间的投切。在不同工况下切换电源时,如何能够保证各台逆变器并联时的幅值、相位、频率一致,如何进行分配各自电站的功率是舰船发电机组研究的主要课题。
逆变技术自产生到现在有近70年的历史了,常用的逆变技术是SPWM(正弦波脉冲宽度调制)。分布式逆变控制技术有着体积小、功率大、模块化、可靠性高等有优点,它独立了系统中各个中心环节的控制权,实现系统中各个单元的独立工作。当有模块发生问题而退出时,其他模块的并联运行没有受到相关影响。具有可靠性高、功能扩展方便等特点。
逆变器并联控制技术是分布式逆变控制技术研究中的重要部分,它的作用是可以增大电源系统的容量,而且各逆变器不互相影响,可以大大提高供电系统的可靠性和灵活性。
逆变器并联控制技术应用于舰船综合电力系统中,有重要意义:
(1)可以优化舰船系统的设计。传统的电力系统中发供电、电力推进和舰载设备用电各系统之间是相对独立的,而应用综合电力系统的“系统化、模块化和集成化”思想后,可以减小对舰船的使用空间,提高空间利用率,使得总体设计更加优化。
(2)可以提高舰船的隐蔽性。集成化的发配电减少了各装置所需的发电机组种类和数量,弱化了舰船的噪声,提高了作战舰船的生存能力和隐蔽性。
(3)为舰载各系统提供了充足的电力保障。综合电力系统产生的大量电力能保证推进系统有足够的动力,也为照明,作战等其他大量用电的系统提供了充足的电量。
所以,对于舰船电力系统中多台逆变器并联策略的仿真研究具有非常重要的意义。
1.2 国内外的研究现状:
综合电力系统是舰船电气工程领域中新提出的一种概念。自20世纪末以来,有关海洋和舰船方向的科技发展非常快,尤其在海洋开发,建设海防方面比较突出,随之而来船舶对电能的需求量也就大量增加,表现在希望船舶动力的噪声影减小,机动性增强,而且燃料成本低等方面。再加上石油等传统资源大量消耗,给环境造成了非常恶劣的影响,而且可用资源数量也越来越少,所以全世界都在宣传发展绿色船舶,想要将发展迅速,来源充足,污染很少的新兴可再生能源投入到船舶动力的方案,以达到预期目的。在这样的情况下,船舶综合电力系统产生了[2]。船舶综合电力系统也被称为是船舶动力领域的第三次革命。
21世纪初,综合电力系统首先被应用在民用船舶上。主要有中压交流和低压交流这两种形式,其中主要的代表有美国亚特兰蒂斯号科考船,荷兰蓝色马林鱼号半潜船等。
外国舰船综合电力系统的发展历程可以分为两代。第一代的电力系统技术已经比较完善,但是存在非常明显的缺点,比如设备体积和重量偏大,不能连续性供电,而且效率低。第二代综合电力系统在第一代的基础上进行了很多改进,它采用中压直流电制,使得调速特性的需求减小,大大减少了设备体积和重量,改善了第一代的缺点,但还处在发展阶段,没有被大规模的广泛应用。
中国综合电力系统的发展是从“十五”规划开始的,通过科研工作者和实践者的不断研究和总结,逐步形成了整个系统的方案概念。它阐述了综合电力系统的发展历程,即军用舰船对容量的要求很大、功率密度高和良好的匹配性,应该首先采用中压直流综合电力系统;而民用船舶一般不会有很高的成本,现阶段还是应该选择中压交流或低压交流综合电力系统。
在十五规划到十一五规划的这五年之间,中国逐步建立了综合电力系统理论,先后自主研发了系统结构、综合发电、感应推进等关键技术和难题。在“十二五”规划以来,中国综合电力系统继续探索,在现有的基础上不断进行创新,取得了很多突破性的成果。海军工程大学舰船综合电力技术国防科技重点实验室提出的一二代混合的综合电力系统技术方案,大大加强了我国在综合电力系统方面的科技实力,让我国成为了第一个能够实现重压直流综合电力系统的国家[3]。
1.3 基本内容介绍
因为课题设计主要运用到了逆变器和正弦波调制,所以在下面作简要介绍。
直流到交流的变换通过逆变器实现。直流电源端可以是传统能源或者新能源诸如太阳能,风能等所产生的电能,经过逆变后,交流输出电压还不能直接使用,基波频率和幅值都需要进行调节控制,输出电压包含基波和谐波,通常需要通过技术滤除谐波,得到波形较好的基波。
逆变器根据直流电源的类型的不同,可分为电压型和电流型[4]。当IGBT组前面的电容值很大时,逆变器可以认为是电压源特性,将输入的直流电压逆变为交流电压输出,故称为电压源型逆变器,当IGBT组前面是很大的电感时,逆变器可以看作有电流源特性,将输入的直流电流逆变为交流电流输出,故称为电流源型逆变器,实际应用中,绝大多数逆变器都是电压型,集中表现在中小功率应用场合。导致这种情况的原因如下,一是电容的储能密度远大于电感,所以同容量的电压型逆变器体积,重量都比电流型小;二是电流型逆变器要求很多,需要开关器件能承受反向电压,常用的全控器件无法满足,必须串联二极管才能解决这个问题,而且所需器件数量多,通态压降大,所以电流型的使用不方便。
逆变器的输出在实际应用中一般是采用单行或三相。在早期,中高功率逆变器采用晶闸管开关器件。一旦晶闸管打开,不能主动封闭。强制电路关闭会产生很多问题,比如增加逆变器的重量和成本,降低了可靠性,并限制了其开关频率。目前,大多数逆变器都使用完全控制的半导体开关器件。小功率用P-MOSFET,中等功率的使用IGBT,大功率则是以IGCT,GTO为主。
要得到正弦化的逆变输出波形,必须应用输出滤波器[5]。理论上,只要滤波器的时间常数充足大,必然可以将输出波形中的谐波成分衰减到很小。但是过大的滤波时间常数往往需要体积很大的滤波元件,并且可能会造成基波电压部分丢失,响应时间太长等一系列的问题。所以需要用到正弦脉宽调制技术,该技术是获得高质量正弦波非常好的方法。正弦脉宽调制技术中的采样控制理论有一个原理是脉冲等效原理,扼要申明就是当大小,波形各异的窄脉冲变量作用于惯性系统时,只要它们的冲量相称,就会有相同的结果[6]。也就是说,无论冲量的形式是什么样,只要冲量等效的脉冲在惯性系统上起作用,那么系统的输出响应都是基本一致的。
数字控制系统与模拟控制系统相比较的话,数字控制优势很大,例如硬件简单方便,抗干扰能力强,算法灵活,而且微处理器在电力电子中的使用也越来越频繁,由此产生了适合微处理器所使用的规则采样SPWM算法。采用载波和调制波交点得到开关时刻的方式称为自然采样,但交点时刻不便于通过实时计算来获得。规则采样是依照稳定的时间间隔对调制波进行高频取样,取样过程中所得到的调制波的幅值不发生改变,从而计算出对应的脉冲宽度,并能够决定开关时刻[7]。
1.4 论文工作安排
本论文题目为应用于舰船综合电力系统中多台逆变器并联策略的仿真研究,其中关键工作是逆变器并联策略的研究。首先在绪论中对舰船综合电力系统的概念,发展情况,以及逆变器,正弦脉宽调制做了简单的介绍,交代清楚了本论文的研究背景。
第二章详细说明了逆变器的结构,并联的原理,以及对单台逆变器,两台逆变器并联的等效模型,环流产生做了详细的分析。
第三章对各种并联控制方式做了比较,最终选定了无互连线的控制方式,并对下垂控制策略进行说明和计算分析。
第四章介绍了设计过程中各个环节所必须的参数计算,有PI调节,滤波环节。
第五章介绍了在MATLAB软件中的Simulink内搭建了单相逆变器双闭环控制的仿真设计,基于下垂控制策略的两台逆变器并联仿真,并对仿真结果进行了分析。说明了仿真方案的可行性。
第六章对全文工作进行了总结,说明了自己在工作中的不足,对没有完成的工作进行了展望。
第2章:逆变器及其控制结构
2.1 逆变器和逆变电路的介绍
逆变器的全称是交-直-交变频电路,逆变器的核心是逆变电路,首先介绍逆变电路的基本工作原理。

图 2.1逆变器的主电路
图中所示的-是桥式电路的4个桥臂,是由电力电子器件以及辅助电路组成。当开关,闭合,,断开时,负载电压为正;当开关,闭合,,断开时,负载电压为负,这样,输出电压的方向发生改变,直流电就变为了交流电,只需要使两对开关的切换频率发生变化,就可以改变输出的交流电的频率[8]。
逆变电路根据直流侧的电源性质可以分为两种:一种是直流侧为电压源的电路,也就是电压型逆变电路,另一种是直流侧是电流源的电路,被叫做电流型逆变电路。按照逆变桥的结构不同又分为全桥逆变,半桥逆变,本文所用的是其中的电压型逆变器的全桥结构。
2.2 逆变器等效模型
2.2.1 单相逆变器
下图是单相逆变器的等效模型。空载输出电压为。R和X是等效后的电阻和电抗。,分别为其上的电压。是负载,为其上的电压。是输出电流。

图 2.2 单相逆变器等效模型
可得:
(2.1)
对于单台逆变器来说,电路回路只有一个电流,也就是系统运行的电流,因此不会产生环流,应该考虑的是采取措施来保证逆变器能在最大功率输出,供电可靠,供电质量高等。但是由于舰船电力系统中对供电需求比较大,单台逆变器系统的供电不能满足需求,所以对必须用多台逆变器并联来满足需求。
2.2.2 两台逆变器并联运行
两逆变器并联的等效模型图如下,先对图中参数进行说明:为逆变器1的空载输出电压,是是逆变器1的输出电阻,是感抗,是逆变器1的输出电流。为逆变器2的空载输出电压,是逆变器2的等效输出电阻,是感抗,是逆变器2的输出电流。为两逆变器汇流处的电压,为负载,是负载电流。

图 2.3 两逆变器并联运行的等效模型
等效模型可得如下方程组:
(2.2)
(2.3)
= (2.4)
(2.5)
当==R,==X时,可解得上述方程:
(2.6)
(2.7)
由于逆变器的等效输出电阻远小于等效输出电抗,即,
所以上式可以化为:
(2.8)
以上是毕业论文大纲或资料介绍,该课题完整毕业论文、开题报告、任务书、程序设计、图纸设计等资料请添加微信获取,微信号:bysjorg。
相关图片展示:







您可能感兴趣的文章
- 一种确定磁探针集总电路参数的标定方法外文翻译资料
- 一种人体可接触的大气压低温等离子体射流装置研究(适合电气B方向)毕业论文
- 氩氧中大气压DBD放电特性研究(适合电气B方向)毕业论文
- 大气压氩等离子体射流放电影响因素的仿真研究(适合浦电气B方向)毕业论文
- 含氧高活性均匀DBD改性聚合物薄膜研究(适合浦电气B方向)毕业论文
- 反应器结构对气液两相DBD放电特性的比较(适合浦电气B方向)毕业论文
- 南京某公司研发楼电气设计毕业论文
- 金帆北苑地块经济适用住房——02栋商住楼电气设计(适用于浦电气1004~06A方向学生)毕业论文
- 扬州人武部大楼电气设计毕业论文
- 金帆北苑地块经济适用住房——04栋商住楼电气设计(适用于浦电气1004~06A方向学生)毕业论文


