6000m3丙烯腈罐区安全设计毕业论文
2020-07-11 18:20:40
摘 要
本文为6000m3丙烯腈罐区安全设计。丙烯腈在工业上常用于塑料、橡胶和杀虫剂,广泛运用于家电、汽车业和日用服装等领域。丙烯腈易燃易爆,泄漏后与空气形成爆炸性混合物,丙烯腈大量泄漏会造成严重人员伤亡情况和环境污染。因此需要进行本质安全设计。根据设计任务要求背景,结合丙烯腈理化特性和危险性分析来设计储罐区,包括对储罐区进行平面布置和进行防雷和消防系统设计。结合对罐区的危险辨识最后对设计的罐区进行安全评价,主要采用道化学法,兼具安全检查表和事故树法。
关键词:丙烯腈 储罐 平面设计 安全设施
Abstract
This article is a safety design for a 4000m3 acrylonitrile tank area. Acrylonitrile is commonly used in the industry for plastics, rubber, and insecticides, and is widely used in home appliances, the automotive industry, and clothing for daily use. Acrylonitrile is flammable and explosive. After it leaks, it forms an explosive mixture with air. A large amount of acrylonitrile leaks can cause serious casualties and environmental pollution. This must be an intrinsically safe design of the acrylonitrile tank area. Under the premise of taking into consideration the technical feasibility, advanced nature, and economic rationality, combining the physical and chemical properties of acrylonitrile, risk analysis and design of storage tanks and corresponding equipments are designed through risk analysis. , and design the fire protection system for the tank area. Finally, the safety assessment of the designed tank area is mainly based on the Dow Chemical method, and the safety inspection table and the accident tree method.
Key words: Acrylonitrile Storage tank Graphic design Safety Facilities
目录
第一章、概述 1
1.1丙烯腈理化特性及危险特性 1
1.1.1丙烯腈理化特性 1
1.1.2丙烯腈危险特性 1
1.2设计任务 2
第二章、丙烯腈储罐的设计 3
2.1丙烯腈储罐选型 3
2.1.1丙烯腈储罐类型选择 3
2.1.2丙烯腈储罐材质选择 4
2.1.3丙烯腈储罐工艺条件 4
2.1.4丙烯腈储罐罐底结构选择 4
2.1.5氮封系统和呼吸阀 4
2.2丙烯腈储罐设计 5
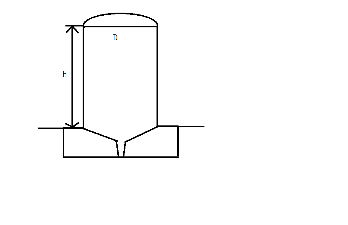
2.2.1丙烯腈储罐基础参数设计 5
2.1.2丙烯腈储罐壁厚计算 5
2.3附件设计 8
2.3.1防雷、防静电设计 8
2.3.2高液位报警器 8
2.3.3温度计 9
2.3.4液位计 9
2.2.5带芯人孔 9
2.3.6梯子与平台 9
2.3.7导向防转装置 10
2.4附件汇总及安装位置 10
第三章、丙烯腈储罐总平面设计 11
3.1厂区内总平面布置 11
3.1.1消防车道设计 11
3.1.2 办公用房 11
3.1.3 门卫 12
3.1.4 发配电间 12
3.1.5 泵房 12
3.1.6 消防泵房 12
3.1.7 事故收集池 12
3.1.8 备用配件库 13
3.3防火间距及防火堤设计 13
3.2.1储罐区防火间距 13
3.2.2丙烯腈罐区防火间距 14
3.3.3 防火堤的选型 14
3.3.4 防火堤尺寸的确定 15
3.4总平面布置说明 16
3.5丙烯腈罐区消防系统设计 16
3.5.1泡沫灭火系统 16
3.5.2灭火器选型 17
3.5.3水喷雾装置 17
3.6 罐区防雷设计 20
3.6.1罐区公共功能区域防雷设计 20
3.6.2罐区办公区域防雷设计 21
第四章、危险有害因素辨识及安全对策和措施 22
4.1丙烯腈危险特性介绍 22
4.2重大危险源辨识 22
4.3 主要危险有害因素及对策措施 23
4.3.1容器爆炸FTA分析 23
4.3.2 中毒和窒息 25
4.3.3高处坠落 26
4.3.4触电 26
4.3.4车辆伤害 26
第五章、 丙烯腈储罐区安全评价 28
5.1安全检查表 28
5.2道化学评价法 29
5.2.1火灾爆炸危险指数 30
5.2.2安全措施补偿 31
5.2.3工艺单元危险分析汇总 31
5.2.4丙烯腈储罐区重大事故模拟分析 32
5.2.5结论 33
第六章、 设计总结 34
参考文献 35
第一章、概述
丙烯腈又名乙烯基氰,英文名:Acryonitrile,危规号:32162。丙烯腈具有刺激性气味,纯丙烯腈为无色剧毒液体并且丙烯腈易燃易爆,长途运输困难,属于我国重点监管的危险化学品。丙烯腈广泛运用于家电、汽车业和日用服装等领域,丙烯腈市场有较好前景,2014—2017年丙烯腈行业需求增长率保持在3%—5%【1】。
1.1丙烯腈理化特性及危险特性
1.1.1丙烯腈理化特性
本文设计首先掌握丙烯腈理化特性以便后期按照其理化特性设计选取相符合的设计内容。

丙烯腈微溶于水,易溶于多数有机溶剂,禁忌直接光照,禁忌和空气直接接触。禁忌物为强氧化剂、酸类、碱类。丙烯腈在常温下稳定,在高温高压等条件下容易发生聚合反应。
1.1.2丙烯腈危险特性
丙烯腈蒸汽与空气可形成爆炸性混合物,接触到高温物体或点火源会发生爆炸。与强酸、强碱溴、胺类、氧化剂反应剧烈,在火场高温下发生聚合放热,如在储罐内储存的丙烯腈发生火灾,严重时会造成爆炸,造成人员伤亡和财产损失。
相关图片展示:








        
            
