三自由度机械手腕系统设计及控制(10kg负载)毕业论文
2020-04-15 17:46:35
摘 要
本文首先简要介绍了工业机器人的工业机器人和工业机器人的概念,工业机器人的分类和组件。它的自由度和坐标控制,机器人气缸技术的特点,PLC控制机器人的特点,以及国内外工业机器人发展的现状。
本文首先根据负载要求设计机械手使用手持结构,并确定机器人控制坐标形式和技术参数。然后,设计操纵器的手腕的摆动部分的结构,并计算和检查手腕旋转所需的驱动扭矩和由旋转圆筒提供的驱动扭矩。
根据机械手的工作要求,设计了与机械手配套的气动系统,绘制出气动系统的工作原理图。
选择PLC控制机械手,选择合适的PLC模型,根据工作流程设计PLC控制方案,绘制工业机器人时序图,绘制PLC控制程序图。
关键词:工业机器人机械手腕气动可编程控制器(PLC)
ABSTRACT
Firstly, this paper briefly introduces the concept of industrial robots and industrial manipulators, the classification and components of industrial robots, their degrees of freedom and coordinate control forms, the characteristics of cylinder technology for manipulators, the characteristics of PLC control manipulators, and the development status of industrial robots at home and abroad.
Firstly, according to the load requirement, this paper preliminarily designs the structure of the manipulator using the holding hand, and determines the control coordinate form and technical parameters of the manipulator. Then the structure of the rotating part of the wrist of the manipulator is designed, and the driving moment needed when the wrist rotates and the driving moment provided by the rotary cylinder are calculated and checked.
According to the working requirements of the manipulator, the pneumatic system supporting the manipulator is designed, and the working principle diagram of the pneumatic system is drawn.
Select the PLC control manipulator, select the appropriate type of PLC, and compile the PLC control scheme according to the workflow design, draw the industrial manipulator working state sequence diagram, draw the PLC control program diagram.
Key words: Industrial Robot; Mechanical Wrist;Pneumatic;Programmable Logic Controller (PLC)
第一章 绪 论
1.1工业机械手概述
工业机器人由机械结构体,控制器,驱动系统和传感装置组成[],这是一种人工操作。机电一体化生产设备,可以自动控制,重新编程,并能够在大多数人无法工作的复杂和困难环境中执行各种操作。适合于多品种、变批量的生产。工业机器人在提高产品质量和生产效率,改善工作条件和节省劳动力成本方面发挥着重要作用。
机器人技术是由计算机技术,控制工程,信息传感技术和其他多学科相结合而形成的高科技技术。工业机器人不是简单地取代手工劳动,而是一种结合了人力和机器专业知识的机电设备。机器手由于不带有感情,所以它可以在工作极限时间内长时间的高质量的完成工作。而且机械手不惧怕恶劣环境,可以在不易人类生存的地方进行工作,做出决断。从某种意义上说,工业机器人也是机器向机器人发展的过程产品,也是先进制造技术领域不可或缺的自动化设备。
机械手是一种自动机械装置,可根据生产需要实现人手功能,如抓取和操作,这种在工业中的机械手称为“工业机械手”。它参与生产可以降低人工劳动产生意外发生概率,提高生效率和劳动转化率,保证产品质量;特别是在高温,高压,放射性等不适合手工作业的恶劣环境中,它可用于人类工作。因此,它已广泛应用于轻工,重工,交通等领域。
起初,机器人被用作仅在一台机器上移动工件的装置,它是机器的特殊附件。后随着技术的发展,出现了能存储许多设计好的工作程序并实现快速切换工作程序并且可以应用在各种行业加工流程中的“程序控制通用机械手”通用机器人被称为通用机器人,在中小型生产中被广泛引用。
1.2 机械手的组成和分类
1.2.1机械手的组成
执行系统、控制系统、驱动系统、定位反馈装备组成了完整的机械手。系统之间的关系如图所示。
2-1 机械手组成方框图:
Pane chart of composition of manipulator
1)执行机构
通常包括手部、手腕等部件
1、
手指是与工件发生接触的部件,使工件随着手部移动完成所需要的操作。由于工件的形状和材料,它可以分为夹紧型和吸附型。在这个课题中,我使用夹紧型手结构。
夹紧型手由手指和传动机构组成。利用手指固定工件,依靠夹紧力和摩擦力使工件固定在手指之间。手指的运动类型一般分为两种:平移型和回转型。回转型结构简单,制造成本低,工作方式更有效率,现今工业机械手的手指部分大多以平移型为主,使用广泛,更加适合生产。平移型结构较为复杂,但是当夹紧具有大直径范围的物体时,平移类型应用于某些特定加工时不受工件轴线位置的影响。
手指部分结构一般根据被夹持工件的特性(质量、形状、表面积等等)进行设计,大多根据现有的可以夹紧物体的工具的外形进行设计:模仿钳子而设计的钳型、模仿手指而设计的V字型等等。又根据被夹工件的具体形状,完整形状的工件依靠外夹形式;而对于一些贯穿的中空工件依靠内撑形式。
2、手腕
手腕是用来通过回转摆动来改变被抓取工件的姿态。
2)驱动系统
驱动系统由动力装置、调节装置和辅助装置组成。目前市面上常用的驱动系统以液压传动,气动传动和机械传动等为主[2]。
3)位置检测装置
位置检测装置监视机器手工作时的具体位置,并将监控的实时位置信息实时传输至控制系统。控制系统通过分析与既定程序中应该在的位置进行对比。若有影响工作要求的错误,则进行调整,使机械手在工作时能一直达成精度要求。
4)控制系统
控制系统是使工业机器人按照人工设计好的控制程序进行工作的系统。目前,工业机械手的控制系统一般以程序控制系统和电气定位系统相结合[3]。控制系统可以不但监控系统是否按照既定程序正常工作,还能在系统执行出现错误或机械构件发生故障或突发紧急情况时立即发出警报信号。
1.2.2 机械手的分类
目前由于工业机械手的种类繁多,而且尚未有国内权威机构出台统一的分类标准,所以这里暂时按照以下几方面进行分类:用途、驱式以及控式。
1)按用途分
可分为专用机器手和通用机器手
1、通用机械手
通用机械手的通用性强,可以适应大多数的生产环境,是由于它可以随时切换已经设计好的工作程序以及控制系统。它拥有独立的系统,只要拥有设计好的程序,可以在生产线上参与各种在自己能力范围之内的工作通用机械手可根据控制定位的方式分为简单型和伺服型两种:简单类型通过“打开和关闭”控制定位,只能通过点控制:可以是点位的,也可以实现连续轨控制。伺服型具有伺服系统定位控制系统[4]。
2、专用机械手
它是一个连接到计算机的机械设备,存储有设计好的程序,不能独立存在。专用机械手工作简单,动作较少,结构简,成本低的特点。如自动机床,自动线装卸机器人。
2)按驱动方式分
1、
气压传动机械手是用压缩空气来提供动力来驱动机械手运动。但是工作的稳定性差。负载通常小于30千克,并且在相同的称重条件下它质量大于液压操纵器的结构。因此,它适用于载荷较轻的工作。使用方便,结构简单,成本低。
2、电力传动机械手
它是依靠装配的感应电动机给予动力进行工作的机械手,由于依靠电力直接驱动,所以不需要能量的转换机构。因为只有电机供电所以这类机械手结构简单,维护方便,参与生产更是方便使用。目前市面上使用这类机械手的程度并不高,有着很好的研究发展前景。
3、液压传动机械手
这种机械手的负载可达到100kg以上,这是由于液压的性质,可以产生极大的压力。虽然它的密封要求极高,若是发生漏油事故,则机械手的工作会产生非常大的影响,事故发生概率大幅度提高,漏出来的液体产生的污染对工作环境的影响很大。但是,液压传动系统的稳定性很高,而且会使机械手的动作变得十分敏捷。液压系统也有使用限制,他不易在高温或者低温条件下工作。
4、机械传动机械手
这是一种单纯依靠机械零件相连传递动力,带动机械手进行工作的机械手。它与主机直接相连,通用性低,而且相对笨重,动作几乎在设计制造时已经决定了,故通用性差。它的主要优点的工作准确,结构可靠,在合理的使用以及定期维护的加持下,发生故障的概率极低。大多用于流水线上上料下料。
1、连续轨迹控制
它是一种页数的点位控制系统,通过设置无数多的点位,按照点位进行移动,使其在无限点组成的连续曲线上稳定精准的运动。但是由于点位很多,计算复杂,需要运用计算机控制,结构复杂。
2、点位控制
点位控制是指在三维空间中建立坐标系,在程序中设置坐标系中的点位坐标,机械手通过依次到达既定坐标的形式进行行程控制。这类方式无法精确命令机械手按照一定轨迹进行移动。先进市面上使用的专用、通用机械手大多都利用点位控制的方法。
1.3 国内外发展情况
机器人领域近阶段正朝着如下几个方面发展
1)随着制造技术的飞速发展,工业机器人的成本持续下降。
2)控制技术的发展,控制芯片的体积再一直缩小,而标准化程度一直在提高,提高了工业机器人的可靠性,并降低了维修成本。
3)现在越来越多的传感器在工业机器人上得到了应用。例如,远程遥控机器人利用了触摸传感器,以便于读取数据做出及时决策;搬运机器人安装了视觉传感器,以便于更好的完成工作。现在,装有多种传感器的工业机器人越来越多的应用在工业生产中,提高了生产效率。
4)随着VR技术的发展,虚拟现实技术在各行各业都有着卓越的应用。VR技术使操作员可以远程进行生产,保证了工人的人身安全。
5)现代遥控机器人系统不是一味的追求由计算机完全支配,而是操作者与机械人之间进行互动,更好的进行生产活动。远程遥控器加上本地自行决断系统构成了一个自治和遥控相结合的机器人。美国在探测火星使用的索杰纳号机器车便是这方面应用的实例。
6)我国在“七五”制定的科技攻关政策开始,在重要的大力支持下,工业机器人技术飞速提升。但是现在相比与世界上工业发展程度较高的国家还有一定的差距。我国没有成熟的国产机械工业机械人企业,并未掌握核心技术,无法自行生产成套的工业机器人,核心构建仍需要从国外进口。但是,我国的一些特种机器人处于世界领先地位。中国自主研制的6000米级遥控潜水机器人“海马号”的试验成功,打破了美日在这方面的垄断,标志着我国的深水机器人走在世界前列。但是在多传感器融合机器人,远程控制与自主决策相结合的机器人等等方面,我国还有很大差距。需要在这方面重点攻关,提高我国工业机器人水平。
1.4课题的提出及主要任务
1.4.1课题的提出
步入21世纪,随着科技发展,人力资源成本越来越高,我国需要提高劳动生产率,降低工人的劳动强度。而提高自动化水平可以解决这个问题。本课题的目的是设计一个气动三自由度的机械手腕,它可使用与大多自动化生产线进行工件(10kg)搬运工作,减轻工人的劳动,实现自动化生产,提高劳动生产率。
目前市面上大多数机器手臂采用液压传动装置,而液压传动具有以下缺点:
1)液压传动在长时间工作时,温度的提高会影响液压装置的工作,油温提高,造成运动特性变化,徒增安全隐患,无法长时间生产。
2)液压传动在工作过程中有高比例的能量损失(摩擦损失等);液压传动稳定性不强,容易造成泄漏,一旦发生泄露会污染工作现场,可能引起火灾,造成生产事故。
3)为了避免泄露,需要提高液压原件的制造工艺水平,成本高;维护方面也需要更搞得技能水平。
4)液压系统容易混入空气,产生较大的噪音。
鉴于以上这些劣势,本次设计将采用气压传动,
气动技术有以下优点:
1)气动系统只需要很短的时间压缩空气,即可达到工作多有需要的压力。而且放气迅速,只需要打开阀门,缸内压力马上回到正常值,安更加安全。
2)温度对气动系统影响较低,
3)气缸中的气体原料获得简单。而且气体介质安全无污染,可以直接排放在大气之中。抽出以及放入简单,易于操作。并且气体中杂质很少,不会遗留在气缸和导管中引起堵塞等一系列问题。
4)在气缸工作时,能量的损失小,气体的泄露少。而因为是气体,所以工作中气体流动收到的阻力小。而如果发生泄露,不会导致压力大规模降低和严重的环境污染。
5)气体存储方便,储气罐较为安全,不易在储存时发生事故。
6)气动装置属于先进发展成熟产品,因此制造简单、成本低廉。
1.4.2工业机器人主要技术性能参数
工业机器人的技术参数是说明其规格和性能的具体指标。主要技术参数有如下: |
- 抓取重量:
抓取重量是用来表明机器人所能承受负载能力的参数,这是一项主要参数。这项参数一般是指在正常速度下所抓取的物体的重量。 |
- 坐标形式和自由度:
说明机器人机身、手部、基座等共有的自由度数及它们组成的坐标系特征。 |
- 工件的极限尺寸:
抓取工件的极限尺寸是用来表明机器人抓取功能的重要参数,它表示手部所能抓取的最大的工件尺寸,是设计手部的基础。 |
- 运动行程范围:
指执行机构直线移动距离的范围,即各运动自由度的运动范围。根据行程范围和坐标形式就可确定机器人的工作范围 |
- 运动速度:
是反映机器人性能的重要参数。通常所指的运动速度是机器人的最大运动速度。它与定位精度,抓取的工件重量等参数有关,相互影响。当今社会国内外机器人的最大直线移动速度为1000mm/s左右,回转速度的最大值为180º/s。 |
- 定位精度和重复定位精度:
定位精度和重复定位精度是衡量机器人工作质量的一项重要指标。 |
1.4.3课题的主要任务
本课题将要依照顺序完成以下5个步骤:
(1)首先确定本设计的性质是通用机械手,以满足其通用性。
(2)接着设定机械手基本参数
(3)按照选定基本参数依次设计手指、手腕等部位,并校核负载要求。
(4)设计出为机械手提供动力的气压传动系统,选取气缸,设计气动回路,并绘制气动原理图。
(5)选取满足控制要求的PLC型号,根据参与工作时的工作步骤编写PLC程序,绘制梯形图。
第二章 机械手的设计方案
为了实现课题目的,机械手需要准确快速的夹起、搬运、放置工件,这就要求被设计的机械手要满足高精度,响应迅速,已经灵活的机械构造,能够快速定位。
启动机械手的设计流程为:首先分析工件结构以及生产环境,制定较为合理的工作流程以满足功能要求和生产环境要求。再根据工件形状和材料,在满足定位精度的要求下,确定机械手腕的结构和控制形式。并尽可能的使用标准件来简化制造过程,降低成本。
2.1机械手的座标型式与自由度
机械手的坐标形式的选定大多依照工作的具体类型。机械手的坐标形式可分为直角坐标形、圆柱坐标形等等。本设计的目的是设计一个可以在流水线上上下料的机械手臂,需要具有上升下降、回转、收缩的功能。圆柱做饼形能满足设计要求,因此本设计采用圆柱坐标形,相应的机械手具有三个自由度。


图2-1 机械手的运动示意图
Fia.2-1 Sketch Map of the Motion of Manipulator
2.2机械手的手腕结构方案设计
考虑到希望机械手在各种工作条件下都可以工作,同时由于被抓取工件是水平放置,因此必须设有能使手腕做出回转动作的元件才可满足工作的要求。因此,手腕设计成回转结构,实现手腕回转运动的机构为回转气缸。 |
2.3
根据设计目的需要,需要机械手可以快速、灵敏、定位精准、能量损耗低、成本低,所以本设计的机械手采用气动形式。
2.4
按照抓取工件的要求,本机械手的手臂有三个自由度,即手臂的伸缩、左右回转和降(或俯仰)运动。手臂的回转和升降运动是通过立柱来实现的,立柱的横向移动即为手臂的横移。手臂的各种运动由气缸来实现。 |
由于气压传动系统的动作迅速,反应灵敏,阻力损失和泄漏较小,成本低廉因此本机械手采用气压传动方式。 |
2
考虑到机械手的通用性,同时使用点位控制,因此我们采用可编程序控制器(PLC)对机械手进行控制。当机械手的动作流程改变时,只需改变PLC程序即可实现,非常方便快捷。 |
1.机械手的负载是设计时的主要参数,本设计的设计要求负载为10kg。
2.移动速度是机器手的基本参数。操作频率要求了机械手的运动速度,如果速度过低会限制其的应用范围。机械手主要的速度参数是机械手的伸缩速度以及回转速度。 该机械手最大移动速度设计为。最大回转速度设计为。平均移动速度为。平均回转速度为。机械手动作时有启动、停止过程的加、减速度存在,用速度一行程曲线来说明速度特性较为全面,因为平均速度与行程有关,故用平均速度表示速度的快慢更为符合速度特性。定位精度也是基本参数之一。该机械手的定位精度为. |
2.8 机械手的技术参数列表
1)用途:
2)设计技术参数:
1、抓重
抓重 | 10kg |
2、自由度数
自由度 | 3自由度 |
3、座标型式
坐标形式 | 圆柱坐标 |
4、最大工作半径
最大工作半径 | 1700mm |
5、手臂最大中心高
手臂最大中心高 | 800mm |
6、手腕运动参数
回转范围 |
|
回转速度 |
|
7、手指夹持范围
棒料 | Ø80- Ø150mm |
8、定位方式
定位方式 | 行程开关或可调机械挡块等 |
9、定位精度
定位精度 | ±1mm |
10、驱动方式
驱动方式 | 气压驱动 |
11、控制方式
控制方式 | 点位程序控制(采用PLC) |
‘
机械手的工作范围
Fig.2-6 Work Range of Manipulator
第三章
3.1 夹持式手部结构
3.1.1手指的形状和分类
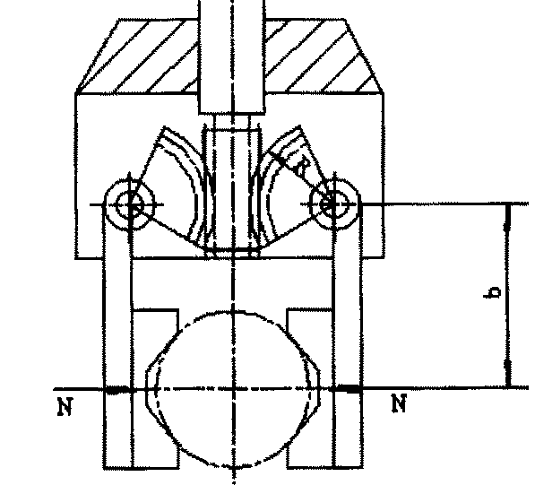
夹持式是最常见的一种,其中常用的有两指式、多指式和双手双指式:按手指夹持工件的部位又可分为内卡式(或内涨式)和外夹式两种:按模仿人手手指的动作,手指可分为一支点回转型,二支点回转型和移动型(或称直进型),其中以二支点回转型为基本型式。当二支点回转型手指的两个回转支点的距离缩小到无穷小时,就变成了一支点回转型手指;同理,当二支点回转型手指的手指长度变成无穷长时,就成为移动型。回转型手指开闭角较小,结构简单,制造容易,应用广泛。移动型应用较少,其结构比较复杂庞大,当移动型手指夹持直径变化的零件时不影响其轴心的位置,能适应不同直径的工件。 |
3.1.2设计时需要考虑的问题
1)
手指的开闭角是指两个手指在完全关闭时与处于打开时的极限位置时两个位置所成的角度。手指的开闭角需要满足要求,可以顺利的夹住工件,设计开闭角角度时应该以被加持工件的最大直径去考虑。
2)具有足够的握力
在通过负载计算握力时,不但要计算工件质量,而且还要考虑到在夹紧工件进行移动过程中会出现的惯性以及振动,确保工件不会产生松动或者掉落。
3)考虑被抓取对象的要求
回转型。因为工件为圆柱形工件,故手指形状设计成V型,其结构如附图所示。
4)
必须参照工件的形状及尺寸为参照选择手指类型,以保证手指可以准确的抓住工件,了夹持圆柱形工件,故选择V形手指为手指结构。
5)
因为手指在工件移动时还会受到惯性力以及振动,所以需要手指需要足够的强度和刚度来避免工作过程中发生变形。这就需要手部在设计时需要尽可能试结构紧凑,重量轻并使手部的中心在手腕的回转轴线上,以使手腕的扭转力矩最小为佳。
3.1.3 手部夹紧气缸的设计
1、
本课题气动机械手的手部结构如图3-2所示, |

图3-2 齿轮齿条式手部
Fig.3-2 Gear Wheel Hand
其工件重量:
摩擦系数为:
V形手指的角度:,
(1)根据手部结构的传动示意图,其驱动力为: |

(3-1)
(2)根据手指夹持工件的方位 |
(3-2)

所以



(3)实际驱动力:
(3-3)
I,因为传力机构为齿轮齿条传动,故取 |
并取
。若被抓取工件的最大加速度取
时,则:

所以:

所以夹持工件时所需夹紧气缸的驱动力为 |
2、气缸的直径
本气缸属于单向作用气缸。根据力的平衡原理,单向作用气缸活塞杆上的输出推力必须克服弹簧的反作用力和活塞杆工作时的总阻力,其公式为: |
(3-4)
式中:
|
弹簧反作用按下式计算:
(3-5)
(3-6)
Gf =

式中:
|
在设计中,必须想到负载率 |
(3-7)
由以上分析得单向作用气缸的直径: |
(3-8)







所以:





由
(3-9)
可得活塞杆直径:

圆整后,取活塞杆直径 |
(3-10)
有:
其中,[
]
,
则:


3,缸筒壁厚的设计 缸筒必须有一定的厚度来承受来自气缸中空气压缩时产生的压力。一般气缸缸筒壁厚与内径之比小于或等于1/10,其壁厚可按薄壁筒公式计算: |
(3-11)
式中:
6- 缸筒壁厚,mm
材料为:ZL3,[ |
代入己知数据,则壁厚为:
(3-12)

取
,则缸筒外径为:
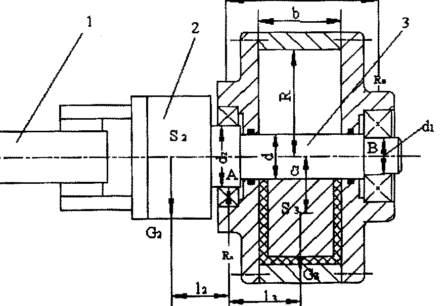
第四章 手腕结构设计
考虑到被工件是水平放置,因此手腕必须可以进行回转运动才可满足工作的要求。因此,手腕上安装回转气缸来满足回转要求。 |
4.1 手腕的自由度
手腕是连接手部和手臂的部件,它是用来调整或改变工件的方位,因而它具有独立的自由度,使机械手可以满足复杂的生产要求。手腕自由度与加工工艺要求、工件放置方式和定位精度等许多因素有关。由于本课题设计的机械手所抓取的工件是水平放置,同时考虑到通用性,因此给手腕设一绕x轴转动回转运动才可满足工作的要求目前实现手腕回转运动的机构,应用最多的为回转油(气)缸,因此我们选用回转气缸。它的结构紧凑,但回转角度小于,并且要求严格的密封。 |
4. 2手腕的驱动力矩的计算
4.2.1 手腕转动时所需的驱动力矩
手腕的回转、上下和左右摆动均为回转运动,驱动手腕回转时的驱动力矩必须克服手腕起动时所产生的惯性力矩,手腕的转动轴与支承孔处的摩擦阻力矩,动片与缸径、定片、端盖等处密封装置的摩擦阻力矩以及由于转动件的中心与转动轴线不重合所产生的偏重力矩.图4-1所示为手腕受力的示意图。 |

(4-1)
式中:
- (
);
- (
);
-
矩(
);
-
(
).
下面以图4-1所示的手腕受力情况,分析各阻力矩的计算:
1、手腕加速运动时所产生的惯性力矩M 若手腕起动过程按等加速运动,手腕转动时的角速度为 |
(4-2)
式中:
|
若工件中心与转动轴线不重合,其转动惯量
为:
(4-3)
式中:
|
2、

(
) (4-4)
式中:
|

.

(
) (4-5)
式中:
|
可按手腕转动轴的受力分析求解,
根据
,得:





(4-6)
同理,根据
(F)
,得:
(4-7)
式中:
|
4.2.2 回转气缸的驱动力矩计算
在机械手的手腕回转运动中所采用的回转缸是单叶片回转气缸,它的原理如图4-2所示,定片1与缸体2固连,动片3与回转轴5固连。动片封圈4把气腔分隔成两个.当压缩气体从孔a进入时,推动输出轴作逆时4回转,则低压腔的气从b孔排出。反之,输出轴作顺时针方向回转。单叶气缸的压力P驱动力矩M的关系为: |
, 或
(4-8)

4.2.3 手腕回转缸的尺寸及其校核
,为
=96mm,
,
=26mm,半径
,
=
,
=0.1s,压强
,
则力矩:
(4-9)

(4-10)
=0.0125
(4-11)
,
(4-12)
(4-13)
2、手腕转动件和工件的偏重对转动轴线所产生的偏重力矩为M偏,考虑手腕转动件重心与转动轴线重合, |

(4-14)

3、手腕转动轴在轴颈处的摩擦阻力矩为 |


(4-15)




4.回转缸的动片与缸径、定片、端盖等处密封装置的摩擦阻力矩M封,与选用的密衬装置的类型有关,应根据具体情况加以分析。在此处估计 |

3
(4-16)






(4-17)





设计尺寸符合使用要求,安全。
第五章 手臂气缸的尺寸设计及校核
5.1 手臂伸缩气缸的设计及校核
5.1.1 手臂伸缩气缸的尺寸设计
手臂伸缩气缸采用烟台气动元件厂生产的标准气缸,参看此公司生产的各种型号的结构特点,尺寸参数,结合本设计的实际要求,气缸用CTA型气缸,尺寸系列初选内径为,关于此气缸的资料详情请参看烟台气动元件厂公司主页: www.bota.cn/products.asp. |
5.1.2 尺寸校核
R=31.5mm的气缸的尺强,
则驱动力:
(5-1)
- 度,则惯性力
(5-2)
系数,
(5-3)
(5-4)
。
5.1.3.导向装置
气压驱动的机械手臂在进行伸缩运动时,为了防止手臂绕轴线转动,以保证手指的正确方向,并使活塞杆不受较大的弯曲力矩作用,以增加手臂的刚性,在设计手臂结构时,应该采用导向装置。具体的安装形式应该根据本设计的具体结构和抓取物体重量等因素来确定,同时在结构设计和布局上应该尽量减少运动部件的重量和减少对回转中心的惯量。 导向杆目前常采用的装置有单导向杆,双导向杆,四导向杆等,在本设计中才用单导向杆来增加手臂的刚性和导向性。 |
5.1.4 平衡装置
在本设计中,为了使手臂的两端能够尽量接近重力矩平衡状态,减少手抓一侧重力矩对性能的影响,故在手臂伸缩气缸一侧加装平衡装置,装置内加放砝码,砝码块的质量根据抓取物体的重量和气缸的运行参数视具体情况加以调节,务求使两端尽量接近平衡。 |
5.2 手臂的升降气缸的尺寸设计
运行速度,加速度时间=0.1s,压强p=0.4MPa,则驱动力
(5-5)
5.2.2 尺寸校核
1.
(5-6)
- 设计加速度,则惯性力
(5-7)
- 考虑活塞等的摩擦力,设定一摩擦系数,
(5-8)
总受力:
(5-9)
所以设计尺寸符合实际使用要求。
5.3 手臂回转气缸的尺寸设计
5.3.1 尺寸设计
为,为,R=105mm,轴径,半径,,加速度时间,压强,
(5-10)
5.3.2 尺寸校核
量,分析部件的质量分布情况,
的圆盘上
(5-11)
(5-12)
数,
(5-13)
(5-14)
设计尺寸满足使用要求
第六章 气动系统设计
6.1 气压传动系统工作原理图 图6-1所示为本设计中机械手的气压传动系统原理图。它的气源是空气压缩机(排气压力大于0.4-0.6MPa)通过快换接头进入储气罐,经水分过滤、调压阀、油雾器,进入各并联气路上的电磁阀,以控制气缸和手部动作 |

图6-1 机械手气压传动系统工作原理
表6-1 气路元件表
序号 | 型号规格 | 名称 | 数量 |
1 | QF-44 | 手动截止阀 | 1 |
2 | 储气缸 | 2 |
续表6-1
序号 | 型号规格 | 名称 | 数量 |
3 | QSL-26-S1 | 分水滤气器 | 1 |
4 | QTY-20-S1 | 减压阀 | 1 |
5 | QIU-20-S1 | 油雾器 | 1 |
6 | YJ-1 | 压力继电器 | 1 |
7 | Q24DH-10-S1 | 二位五通电磁滑阀 | 1 |
8 | Q24D2H-10-S1 | 二位五通电磁滑阀 | 4 |
9 | Q24D2H-15-S1 | 二位五通电磁滑阀 | 1 |
10 | 单向节流阀 | 2 | |
11 | LI-25 | 单向节流阀 | 2 |
12 | 快速排气阀 | 2 | |
13 | 气液转换器 | 1 | |
各执行结构的调速,凡是能采用排气口节流方式,都在电磁阀的排气口安装节流阻尼螺丝进行调速,这种方法的特点是结构简单,效果尚好。气液传送器气缸侧的排气节流,可用来调整回转液压缓冲器的被压大小。 为简化气路,减少电磁阀数量,各工作气缸的缓冲均采用液压缓冲器,这样可以省去电磁阀和切换节流阀或行程节流阀的气路阻尼元件。 电磁阀的通径,是根据各工作气缸的尺寸、行程、速度计算出所需空气流量,与所选用电磁阀的压力状态下的公称使用流量相适应来确定的。 | |||
第七章 机械手的PLC控制设计
|
7.1 可编程序控制器的选择及工作过程
7.1.1 可编程控制区的选择
目前,国际上生产可编程序控制器的厂家很多,如日本三菱公司的F系列PC,德国西门子公司的SIMATIC N5系列PC、日本OMRON(立石)公司的C型、P型PC等。考虑到本机械手的输入输出点不多,工作流程较简单,同时考虑到制造成本,因此在本次设计中选择了OMRON公司的C28P型可编程序控制器。 |
7.1.2 可编程控制区的工作过程
可编程序控制器是通过执行用户程序来完成各种不同控制任务的。为此采用了循环扫描的工作方式。具体的工作过程可分为4个阶段。 第一阶段是初始化处理。 可编程序控制器的输入端子不是直接与主机相连,CPU对输入输出状态的询问是针对输入输出状态暂存器而言的。输入输出状态暂存器也称为I/0状态表.该表是一个专门存放输入输出状态信息的存储区。其中存放输入状态信息的存储器叫输入状态暂存器;存放输出状态信息的存储器叫输出状态暂存器。开机时,CPU首先使I/0状态表清零,然后进行自诊断。当确认其硬件工作正常后,进入下一阶段。 第二阶段是处理输入信号阶段。 在处理输入信号阶段,CPU对输入状态进行扫描,将获得的各个输入端子的状态信息送到I/0状态表中存放。在同一扫描周期内,各个输入点的状态在I/0状态表中一直保持不变,不会受到各个输入端子信号变化的影响,因此不能造成运算结果混乱,保证了本周期内用户程序的正确执行。 第三阶段是程序处理阶段。 当输入状态信息全部进入I/0状态表后,CPU工作进入到第三个阶段。在这个阶段中,可编程序控制器对用户程序进行依次扫描,并根据各I/0状态和有关指令进行运算和处理,最后将结果写入I/0状态表的输出状态暂存器中。 第四阶段是输出处理阶段。 段CPU对用户程序已扫描处理完毕,并将运算结果写入到I/0状态表状态暂存器中。此时将输入信号从输出状态暂存器中取出,送到输出锁存电路,驱动输出继电器线圈,控制被控设备进行各种相应的动作。然后,CPU又返回执行下一个循环的扫描周期。 |
7.2 可编程控制器的使用过程
在可编程序控制器与被控对象(机器、设备或生产过程)构成一个自动控制系统时,通常以七个步骤进行: (1)系统设计 即确定被控对象的动作及动作顺序。 (2)I/0分配 即确定哪些信号是送到可编程序控制器的,并分配给相应的输入端号;哪些信号是由可编程序控制器送到被控对象的,并分配相应的输出端号.此外,对用到的可编程序控制器内部的计数器、定时器等也要进行分配。可编程序控制器是通过编号来识别信号的。 (3)画梯形图 它与继电器控制逻辑的梯形图概念相同,表达了系统中全部动作的相互关系。如果使用图形编程器(LCD或CRT),则画出梯形图相当于编制出了程序,可将梯形图直接送入可编程序控制器。对简易编程器,则往往要经过下一步的助记符程序转换过程。 (4)助记符机器程序 相当于微机的助记符程序,是面向机器的(即不同厂家的可编程序控制器,助记符指令形式不同),用简易编程器时,应将梯形图转化成助记符程序,才能将其输入到可编程序控制器中。 (5)编制程序 即检查程序中每条语法错误,若有则修改。这项工作在编程器上进行。 (6)调试程序 即检查程序是否能正确完成逻辑要求,不合要求,可以在编程器上修改。程序设计(包括画梯形图、助记符程序、编辑、甚至调试)也可在别的工具上进行。如IBM-PC机,只要这个机器配有相应的软件。 (7)保存程序 调试通过的程序,可以固化在EPROM中或保存在磁盘上备用。 |
7.3 机械手可编程控制器控制方案
7.3.1 系统简介
控制对象为圆柱座标气动机械手。它的手臂具有三个自由度,即水平方向的伸、缩;竖直方向的上、下;绕竖直轴的顺时针方向旋转及逆时针方向旋转。另外,其末端执行装置—机械手,还可完成抓、放功能。以上各动作均采用气动方式驱动,即用五个二位五通电磁阀(每个阀有两个线圈,对应两个相反动作)分别控制五个气缸,使机械手完成伸、缩、上、下、旋转及机械手抓放动作。其中旋转运动用一组齿轮齿条,使气缸的直线运动转化为旋转运动。这样,可用PLC的8个输出端与电磁阀的8个线圈相连,通过编程,使电磁阀各线圈按一定序列激励,从而使机械手按预先安排的动作序列工作.如果欲改变机械手的动作,不需改变接线,只需将程序中动作代码及顺序稍加修改即可。另外,除抓放外,其余六个动作末端均放置一限位开关,以检测动作是否到位,如果某动作没有到位,则出错指示灯亮。 |
7.3.2 机械手的工作流程
此机械手用于自动输送线的上下料。 当按下机械手启动按钮之后,机械手有如下动作: 先右转至右限位开关动作(1DT通电) |
7.3.3 机械手工作时序图如附图所示
1/0分配
根据系统输入输出点的数目,选用OMRON C28P型PC,它有16个输入点,
标号为0000-0015; 12个输出点,标号为0500-0511.
表7-1 I/0分配
输入 | 输出 |
启动 0000 | 手臂左转 0500 |
停止 0001 | 手臂右转 0501 |
手爪抓紧 0002 | 手臂伸长 0502 |
左转限位开关 0003 | 手臂收缩 0503 |
右转限位开关 0004 | 手臂上升 0504 |
伸长限位开关 0005 | 手臂下降 0505 |
收缩限位开关 0006 | 手腕逆转 0506 |
上升限位开关 0007 | 手腕顺转 0507 |
下降限位开关 0008 | 手爪抓紧 0508 |
逆转限位开关 0009 | 手爪放松 0509 |
顺转限位开关 0010 | |
物品检测 0011 |
7.4 机械手控制程序
根据机械手的逻辑时序图及1/0分配,画出控制梯形图,如附图所示。由梯形图可以看出: (1)手臂左转的条件:左转不到位(0003为OFF),收缩到位(0006为ON),上升到位(0007为ON),手腕逆转到位(0009为ON),手爪抓紧(0002为ON),无右转命令(0501为OFF). (2)手臂右转的条件:右转不到位(0004为OFF),上升到位(0007为ON),收缩到位(0006为ON),手腕顺转到位(0010为ON),手爪放松(0002为OFF),无左转命令(0500为OFF). (3)手臂伸长的条件:伸长不到位(0005为OFF),无收缩命令(0503为OFF),并且满足下列条件之一:1)右转到位(0004为ON),下降到位(0008为ON),手腕逆转到位(0009为ON),手爪放松(0002为OFF); 2)左转到位(0003为ON),上升到位(0007为ON),手腕顺转到位(0010为ON),手爪抓紧(0002为ON). (4)手臂收缩的条件:收缩不到位(0006为OFF),无伸长命令(0502为OFF),并且满足下列条件之一:1)右转到位(0004为ON),下降到位(0008为ON),手腕逆转到位(0009为ON),手爪抓紧(0002为ON); 2)左转到位(0003为ON),上升到位(0007为ON),手爪抓紧(0002为ON),手腕顺转到位(0010为ON). (5)手臂上升的条件:上升不到位(0007为OFF),无下降命令(0505为OFF),收缩到位(0006为ON),手腕逆转到位(0009为ON),手爪抓紧(0002为ON),右转到位(0004为ON). }(6)手臂下降的条件:下降不到位(0008为OFF),无上升命令(0504为OFF),右转到位(0004为ON),收缩到位(0006为ON),手腕顺转到位(0010 为ON),手爪放松(0002为OFF). (7)手腕逆转的条件:逆转不到位(0009为OFF),无顺转命令(0507为OFF),右转到位(0004为ON),收缩到位(0006为ON),下降到位(0008为ON),手爪放松(0002为OFF). (8)手腕顺转的条件:顺转不到位(0010为OFF),无逆转命令(0506为OFF),左转到位(0003为ON),收缩到位(0006为ON),上升到位(0007为ON),手爪抓紧(0002为ON). (9)手爪抓紧的条件:手爪未抓到物品(0002为OFF),无放松命令(0509为OFF),并且满足下列条件之一:1)右转到位(0004为ON),伸长到位(0005为ON),下降到位(0008为ON),手腕逆转到位(0009为ON),检测到有物品(0011为ON), 2)左转到位(0003为ON),伸长到位(0005为ON),上升到位(0007为ON),手腕顺转到位(0010为ON) (9)手爪放松的条件:手爪抓紧(0002为ON),无抓紧命令(0508为OFF),并且满足下列条件一:1)左转到位(0003为ON),伸长到位(0005为ON),上升到位(0007为ON),手腕顺转到位(0010为ON). 2)左转到位(0003为ON),上升到位(0007为ON),手腕顺转到位(0010为ON),收缩到位(0006为ON).另外,当按下停止按钮时,手臂停止动作,即手臂停止在不定的位置。 |
地址 | 指令 | 数据 | 地址 | 指令 | 数据 |
0000 | LD | 0000 | 0038 | AND | 0007 |
OR | 1000 | AND | 0010 | ||
AND NOT | 0001 | AND | 0002 | ||
OUT | 1000 | AND NOT | 0006 | ||
LD | 1000 | OR LD | |||
IL(02) | AND NOT | 0502 | |||
LD NOT | 0003 | OUT | 0503 | ||
AND | 0006 | LD | 0006 | ||
AND | 0007 | AND | 0009 | ||
AND | 0009 | AND | 0002 | ||
AND | 0002 | AND | 0004 | ||
AND NOT | 0501 | AND NOT | 0007 | ||
OUT | 0500 | AND NOT | 0505 | ||
LD NOT | 0004 | OUT | 0504 | ||
AND | 0007 | LD | 0004 | ||
AND | 0006 | AND | 0006 | ||
AND | 0010 | AND | 0010 | ||
AND NOT | 0002 | AND NOT | 0002 | ||
AND NOT | 0500 | AND NOT | 0008 | ||
OUT | 0501 | AND NOT | 0504 | ||
LD | 0004 | OUT | 0505 | ||
AND | 0008 | LD | 0004 | ||
AND | 0009 | AND | 0006 | ||
AND | 0002 | AND | 0008 | ||
LD | 0003 | AND NOT | 0003 | ||
AND | 0007 | AND NOT | 0009 | ||
AND | 0010 | AND NOT | 0507 | ||
AND | 0002 | OUT | 0506 | ||
OR LD | LD | 0003 | |||
AND NOT | 0005 | AND | 0006 | ||
AND NOT | 0503 | AND | 0007 | ||
OUT | 0502 | AND NOT | 0002 | ||
LD | 0004 | AND NOT | 0010 | ||
AND | 0008 | AND NOT | 0506 | ||
AND | 0009 | OUT | 0507 | ||
AND | 0002 | LD | 0004 | ||
AND NOT | 0006 | AND | 0005 | ||
LD | 0003 | AND | 0008 |
机械手控制程序:
地址 | 指令 | 数据 | 地址 | 指令 | 数据 |
0076 | AND | 0009 | |||
AND | 0011 | ||||
LD | 0003 | ||||
AND | 0005 | ||||
AND | 0007 | ||||
AND | 0010 | ||||
OR LD | |||||
AND NOT | 0002 | ||||
AND NOT | 0509 | ||||
OUT | 0508 | ||||
LD | 0003 | ||||
AND | 0007 | ||||
AND | 0010 | ||||
AND | 0002 | ||||
AND | 0005 | ||||
LD | 1001 | ||||
OR LD | |||||
AND NOT | TIM(01) | ||||
OUT | 1001 | ||||
LD | 1001 | ||||
TIMOO | |||||
LD | 0003 | ||||
AND | 0007 | ||||
AND | 0010 | ||||
OR LD | |||||
AND | 0002 | ||||
AND NOT | 0508 | ||||
OUT | 0509 | ||||
LD NOT | TIM00 | ||||
AND | 1001 | ||||
OR LD | |||||
0111 | ILC(03) | ||||
0112 | END(01) |
- 成本估计
本设计采用45钢作为主要材料,经查询一公斤价格在12元左右,大致需要300公斤,总价3600元。机械手零件采用机加工的方式制造,经打电话至加工厂了解,机加工价格为20/工时,大致需要20工时进行全套加工。经查询中温淬火加一次回火每炉价格为2000元。气缸价格大致为为200元/每件,气动元件总价在2000元左右。OMRON公司的C28P型可编程序控制器价格为650元。所以上述部分再加上各类零件,整个设计总价为10000元左右。
第九章 结论
1、本次设计的是三自由度通用机械手,机械手的自由度可变,控制程序可切换,因此可以应用于许多领域。 2、本次设计采用气压传动,反应迅速,动作灵敏,具有过载保护,便于自动控制。可适用 于各种工作环境,环境的变化对于机械手工作以及控制系统影响较小。气动作用因为阻力造成的能量损失较小,泄漏概率低,发生泄露也不会污染环境。成本低,制造简单,可批量生产。 3、通过对气压传动系统工作原理图的参数化绘制,大大提高了绘图速度,节省了大量时间和避免了不必要的重复劳动,同时做到了图纸的统一规范。 4、本设计机械手采用PLC进行控制,可靠性高,而且可以根据生产需要灵活切换控制程序,更适用于不断更改生产品种的中小规模生产,机械手的通用性更强。 |
参考文献
[1]黄晔 张燕 关节型机械手的结构创新设计 海南省机械工程学会 2010
以上是毕业论文大纲或资料介绍,该课题完整毕业论文、开题报告、任务书、程序设计、图纸设计等资料请添加微信获取,微信号:bysjorg。
相关图片展示:



。
-活塞杆上的推力,N
- 弹簧反作用力,N
- 气缸工作时的总阻力,N
- 气缸工作压力,Pa
- 弹簧刚度,N/m
- 弹簧预压缩量,m
- 活塞行程,m
- 弹簧钢丝直径,m
- 弹簧平均直径,.
- 弹簧有效圈数.
- 弹簧材料剪切模量,一般取
的影响,则:
校核,按公式:
- 气缸内径,mm
- 实验压力,取
, Pa
]=3MPa
,起动过程所用的时间为
,则:
- 参与手腕转动的部件对转动轴线的转动惯量
;
- 工件对过重心轴线的转动惯量
- 工件的重量(N);
- 工件的重心到转动轴线的偏心距(cm),
- 手腕转动时的角速度(弧度/s);
- 起动过程所需的时间(s);
—起动过程所转过的角度(弧度)。
- 手腕转动件的重量(N);
- 手腕转动件的重心到转动轴线的偏心距(cm)
- 转动轴的轴颈直径(cm);
- 摩擦系数,对于滚动轴承
,对于滑动轴承
;
,
- 处的支承反力(N);
- 的重量(N);
,—如图4-1所示的长度尺寸(cm);
,夹持工件一端时工件重心偏离转动轴线
,则
,对于滑动轴承
,
,
,
,
为
下降至下限位开关(5DT通电)
手腕逆时针转动90
(7DT通电)

