TC6510型塔机臂架设计毕业论文
2020-04-15 17:46:01
摘 要
塔式起重机被越来越广泛地应用于大的工程建设中,是不可或缺的起重运输工具。本课题主要是完成TC6510型塔机臂架部分金属结构的设计和起升机构的选型计算。
本设计臂架变幅方式采用小车变幅式水平臂架,是横截面为三角形的桁架结构,臂架节之间使用高强度螺栓连接的方式。以起重臂,平衡臂为研究对象,初选弦杆、腹杆的材料、规格,分析臂架在起重平面和回转平面所受的各种载荷,根据GB/T13752-2017《塔式起重机设计规范》,计算校核三种不同工况下臂架的刚度、整体稳定性、单肢稳定性,并且都符合设计要求。根据起升机构所需要的参数要求和如上的设计规范,选择YZRDW225M-4/8型号的电动机和QJS280-25型号的减速器、35×7-13-1770的钢丝绳,以及直径333mm的卷筒。
关键词:塔式起重机 稳定性 平衡臂 起重臂 起升机构
Design of TC6510 tower crane Jib
ABSTRACT
Tower crane is an indispensable lifting transport, which is more and more widely used in large engineering construction. This topic mainly completes the design of the metal structure of the jib of TC6510 tower crane and the selection calculation of the lifting mechanism.
In this design, the truss structure with triangular cross-section is a horizontal truss with variable amplitude of trolley. High Strength Bolts are used to connect the jib joints. Taking the lifting arm and balancing arm as the research object, the materials and specifications of chord bar and web bar are selected, and various loads on the lifting plane and rotary plane are analyzed. According to GB/T 13752-2017 "Design Code for Tower Crane", the stiffness, overall stability and single limb stability of the boom under three working conditions are calculated and checked, which meet the design requirements. According to the parameters required by the lifting mechanism, according to the design specifications mentioned above, YZRDW225M-4/8 motor and QJS280-25 reducer, 35×7-13-1770 wire rope and 333 mm diameter drum are selected.
Key words: Lifting arm; Stability; Balance arm; Tower crane; Lifting mechanism
目录
摘要 I
ABSTRACT II
第一章 绪论 1
1.1课题研究背景 1
1.2国内外研究现状 1
1.2.1国内研究现状 1
1.2.2国外研究现状 2
1.3本课题研究内容 3
第二章 起重机臂架总体设计方案 4
2.1臂架结构选择 4
2.2安全装置 5
第三章 臂架的钢结构计算 7
3.1起重臂的计算 7
3.1.1起重臂的构造 7
3.1.2初选起重臂的结构件型号 8
3.1.3作用在起重臂上的载荷计算 9
3.1.4起重臂的受力分析 12
3.1.5起重臂稳定应力校核 20
3.1.6臂架连接高强度螺栓计算 30
3.2平衡臂的计算 31
3.2.1平衡臂的构造 31
3.2.2初选平衡臂的结构件型号 32
3.2.3作用在平衡臂上的载荷计算 33
3.2.4平衡臂的受力分析 34
3.2.5平衡臂的稳定应力校核 37
第四章 起升机构的设计选型 39
4.1起升机构工作原理 39
4.2起升机构设计与校核 40
4.2.1主要性能参数 40
4.2.2钢丝绳的选择 40
4.2.3卷筒设计 40
4.2.4电动机设计 42
4.2.5起制动校核 43
4.2.6减速器选择 43
4.2.7制动器选择 44
4.2.8验算实际工作速度 44
第五章 总结与展望 46
5.1经济性分析 46
5.2总结与展望 47
5.2.1工作总结 47
5.2.2课题展望 47
参考文献 49
致谢 51
第一章 绪论
1.1课题研究背景
塔式起重机主要在民用与工业建筑施工中使用,是完成其他建筑工具与材料及预制构件等吊装工作的主要设备,属于一种非连续性搬运机械[1]。塔式起重机由金属结构、工作机构和驱动控制系统组成,在工程机械行业中,塔式起重机承担的任务越来越重要。而臂架在塔机金属结构中是很重要的部分,它的设计方法将会直接影响塔机的品质和塔机的安全可靠性。比起欧洲的塔机行业,我国起步较晚[2],塔机一度被外资品牌垄断;但经过多年的发展,我国的塔机生产也取得了很大的进步,成为了塔式起重机的生产大国[2]。但国内的塔式起重机在总体构造、性能、品质等方面与国外比较还略有不足。
1.2国内外研究现状
1.2.1国内研究现状
我国的塔机行业从建国初期开始起步,但中国的塔机行业的快速发展却在90年代,最近几年国内研发能力增强,才在大型塔机方面突破垄断。在这之前我国的大型电厂和桥梁、超高层建筑、核电站、造船等工程的建设所需要的超大型塔机都是由法夫可、波坦等国外品牌提供,直到中联重科等公司生产出了超大型塔机才慢慢打破我国工程机械所需的超大吨位塔机对进口的依赖[3]。当全球最大上回转塔机D5200和创造了世界纪录的全球最长臂塔机D1250的开发成功时,我国工程用超大吨位塔机长期依赖进口的局面就才彻底改变了[3]。
我国尽管已经成为塔机的生产和使用大国,但在塔式起重机的设计方面还存在着落后性,塔式起重机大多是在原有的塔式起重机基础上进行修改设计的,制造商们并没有严格按照设计规范设计,这也就导致起重机会存在很多不足,且一直无法被彻底解决,比如稳定性的缺失,影响起重机的安装位置,起重机的承受力不够等[4]。另外起重机本身也没有得到规范使用。相较于国外,现代智能化、数字化控制技术还没有普遍应用于塔机,分立实体元件还被大规模用于控制回路,造成电气元器件比较多,接线比较复杂,某一元件损坏或某一根线松动都可能是整台塔机不能正常运行的原因,这样就会故障率高,也不方便检修。如果在控制回路中采用PLC、变频器或计算机控制,就可以在逻辑控制环节极大地减少中间继电器和时间继电器,减少连接线,并且提高整个系统的可靠性,方便定位和排除故障[5]。在我国这样可以实现一直对运行状态的所有参数进行监控和出现的故障进行判断的智能型塔机还很少。在实验方面,大部分企业还没有能力预处理原材料并且进入企业时检验配套件;在配套件生产上,我国企业多,种类多,生产质量不高,都会对对塔机的质量和可靠性产生了直接影响。目前我国对新技术、新材料、新工艺、新结构的基础研究还在不继增强,大中型塔机技术含量和研究水平稳步提高,不断满足各种大型重点工程需要,很快就可以在国际市场中占有一席之地[3]。
1.2.2国外研究现状
国外的塔机主要集中在欧洲和日本。欧洲是塔机的起源地,并且在二次世界大战时,欧洲的塔机就得到了快速发展;而日本是从上世纪50年代开始引进塔机,并在80年代快速发展[2]。目前国外的塔机品种型号更新的很快,他们不断总结经验,改进产品设计并且及时推出适销对路的新产品,所以他们一直占据着国际市场。他们已经开始使用塔式起重机的动态分析,提出了超单元模型,发现从地面拾有效载荷地速度变化时会导致有限脉冲激励,引起起重机系统的动态响应[6]。使用悬臂起重机的非线性模型,来研究起重机在发生大范围运动时的动态行为。也已经实现了一种指令成形控制技术[7],使塔机应用的更加广泛。他们还发现控制有效载荷的振荡对解决起重机稳定性问题具有重要影响[8]。在塔机的实际使用过程中,他们基于起重机之间的重叠空间,使用具有重叠和耦合圈的优化方法缩短作业时间,提供工具给从业人员日常规划和优化流程,极大得加强起重机操作[9]。也提出了优化塔吊群位置的计算机模型,使彼此冲突的可能性最小,操作效率高[10]。除了在这些性能参数及构造功能等方面不断创新、不断拓展外,他们还不断采用新技术,淘汰过时的产品。如丹麦的塔机制造商,就实现了对塔机的所有功能进行监控。使用PLC与一个监控器相连,重量、力矩、起升高度、幅度都可以在这个监视器上显示,此外系统的各种故障也都可以自动显示[2]。驾驶员只要在屏幕上触摸的相应地方,就能看到故障的详细状况。
1.3本课题研究内容
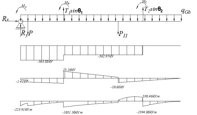
本课题使用传统的设计方法进行设计计算,根据GBT13752-2017《塔式起重机设计规范》设计TC6510型塔式起重机的臂架部分和起升机构。主要包括臂架的结构选型、弦杆和腹杆的布置、载荷分析,对起重臂在三种不同工况下的受力状况进行分析,画出弯矩图、轴力图、剪力图,对刚度、稳定性进行校核,对臂架高强度螺栓连接设计校核。对起升机构各起重零部件进行计算选型。
第二章 起重机臂架总体设计方案
2.1臂架结构选择
塔式起重机的臂架根据其主要受力方式可被分为受压臂架和受弯臂架,都是轴心受力构件[11]。受压臂架一般是受到起升载荷、变幅拉力以及臂架自重作用,主要受到轴向压力,其稳定性是造成臂架承载能力的主要原因。而受弯臂架主要承受横向弯曲,起决定性作用的是臂架的刚度和强度。本课题中TC6510塔式起重机的臂架属于双向受弯臂架,是小车变幅式塔机的水平臂架。
以上是毕业论文大纲或资料介绍,该课题完整毕业论文、开题报告、任务书、程序设计、图纸设计等资料请添加微信获取,微信号:bysjorg。
相关图片展示:









