电动车减震器柔性制造系统自动夹具设计毕业论文
2020-04-15 17:45:12
摘 要
伴随着“中国制造2025”的来到,在机械加工领域,自动化及智能化的水平越来越高。中国现在虽是一个制造业大国,但称不上强国。缺乏自主知识产权以及自我创新能力,因此,作为新一代先进技术人员必需发展先进的制造技术适应中国发展新潮流。作为计算机辅助夹具设计(CAFD)的一个重要应用,柔性夹具具有高柔性、智能化等优点,受到了广大机加工行业的认可。在人们对柔性夹研究的深入,随之而来问题也越发明显。例如复杂工件的定位夹紧方案的实现、夹紧点的计算研究甚少等。
论文研究对象是电动车减震器,来源于电动车零部件工厂。目前,电动车减震器的孔系生产效率低,加工成本高。为了解决这一系列的问题,试图设计一套基于柔性制造系统的夹具克服以上问题。
首先,需要分析零件的外形尺寸,区分非加工面以及加工面,选取合适的定位方案。并且对定位方案的精度进行分析。然后,对零件加工时的切削力进行计算,确定工件在定位完成之后夹紧力的确定。选取相应的夹紧原件,并对其进行加工稳定校核。最后,工件的锪平是工件加工中的一部分,工件需进行翻身,那翻身装置同样为夹具设计的一部分,需进行元件的选择,连接方式的确定,以及工作稳定性校核这些问题。并对夹具体进行了有限元分析和设计方案经济性分析与成本估算。
论文通过对夹具以及翻身装置的设计与研究,验证了所设计夹具以及翻身装置在多工位转台机床上的可行性,能够解决电动车减震器生产效率低、成本高的问题。
关键词:夹具 减震器 翻身装置
Abstract
With the coming of "made in China 2025", the level of automation and intelligence in the field of mechanical processing is getting higher and higher. Lack of independent intellectual property rights and self-innovation ability, therefore, as a new generation of advanced technical personnel must develop advanced manufacturing technology to adapt to the new trend of China's development. As an important application of computer aided fixture design (CAFD), flexible fixture has the advantages of high flexibility and intelligence, and has been recognized by the machining industry. For example, the implementation of the positioning clamping scheme of complex workpiece and the calculation of clamping point are rarely studied.
The research object is electric vehicle shock absorber, which comes from electric vehicle parts factory. At present, the hole system of electric vehicle shock absorber has low production efficiency and high processing cost. In order to solve these problems, a set of fixture based on flexible manufacturing system is designed to overcome the above problems.
First of all, it is necessary to analyze the shape and size of parts, distinguish between non-machined surface and machined surface, and select appropriate positioning scheme. And the accuracy of the positioning scheme is analyzed. Then, the cutting force is calculated to determine the clamping force of the workpiece after the positioning is completed. Select the appropriate clamping original, and its processing stability check. Finally, the workpiece facing is a part of the workpiece processing, the workpiece needs to be turned over, the turning device is also a part of fixture design, the selection of components, connection way, and work stability check these problems. The concrete finite element analysis, economic analysis and cost estimation of the design scheme are carried out.
Through the design and research of fixture and turning device, the feasibility of the designed fixture and turning device on multi-station turntable machine tool is verified, which can solve the problem of low production efficiency and high cost of electric vehicle shock absorber.
Keyword:fixture Shock absorber Turn device
目录
摘要 I
Abstract II
目录 IV
第一章 绪论 1
1.1 课题背景及意义 1
1.2 研究现状 1
1.3 主要研究内容 4
第二章 工装夹具单元总体方案设计 5
2.1 夹具在加工过程中的工况分析 5
2.2 对夹具的总体需求 6
2.2.1 夹具的总体设计方案设计 7
2.2.2 定位原理及其实现 7
2.2.3 夹紧力的初步以及夹紧方式的选择 8
2.3 翻身装置及其总体设计 10
2.3.1 翻身装置的工况及要求 10
2.3.2 翻身装置的总体设计 11
第三章 夹具的详细设计 11
3.1 夹具的介绍 11
3.2 机床夹具的分类及设计要求 12
3.2.1 机床夹具的分类 12
3.2.2 机床夹具的设计要求 12
3.3 机床夹具保证加工精度的原理 13
3.3.1 机床夹具保证加工精度的工作原理 13
3.3.2 使用夹具对工件进行加工时加工误差的组成 13
3.4 工件的定位 14
3.5 定位误差的分析与计算 16
3.6 夹紧力的确定 17
3.6.1 夹紧的动力装置 17
3.6.2 夹紧力的分析计算 18
3.6.3 夹具体与机床的连接方式 19
第四章 夹具锪平加工中翻身装置的详细设计 21
4.1 工件翻身过程当中的需求 21
4.2 翻身装置夹紧力的计算 21
4.3 翻身装置的夹持取出装置设计 22
4.4 翻身装置的总体连接方案设计 28
4.5 翻身装置的可靠性分析(螺栓校核) 30
第五章 夹具体的有限元分析以及优化改进措施 33
5.1 夹具体有限元设计要求 33
5.2 结构静力学分析 34
5.2.1结构静力学分析 34
5.2.2结构动力学分析 38
5.3 夹具体的优化设计 40
第六章 夹具结构工艺性和经济性分析 40
6.1 夹具的结构工艺性 41
6.2 夹具的经济性分析 41
6.3 夹具的成本估算 42
第七章 总结 43
参考文献 44
致谢 46
第一章 绪论
1.1 课题背景及意义
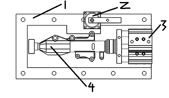
背景:随着社会的快速发展,工业也在迅速发展。这对工厂在激烈的社会竞争带来了相当大的压力和负担,为了更好提高零件的生产率,各个生产厂家都在积极地寻求在新的制造方式的突破。对于在机械加工中有着重要地位的加工机床来说,夹具是机床上一项重要的组成部分,夹具设计的先进与否也意味着能否进一步提高零件的生产率,而夹具属于电动车减震器柔性制造系统中的一套设备,用于在工件加工中,使工件在空间上具有确定的位置。针对于目前行业内使用加工中心加工电动车减震器的一般方式,寻找一种在工件加工过程当中从不需要刀库换刀以及人工翻身的加工方式,成为了行业的一种发展趋势。
意义:对电动车减震器两边孔的加工方式一开始是由加工中心来进行加工的的,这造成了在加工过程当中需要多次换刀,并且,在铣削加工时孔的正反面都需要铣削,所以在加工过程当中翻身者一道工序那是必不可少的,如果在加工过程当中使用多工位转台机床,减少了刀库换刀和工件翻身的工时,不仅可以大大提高效率,而且还可以保证在定位基准重复度上的精确性,减少人工成本以及劳动的工作强度。而如果能够开发出一种先进的转台式多工位加工机床也具有相当大的实际意义,首先,可以在很大程度上节约人工成本,并且可以进一步调整改善及提高资源的利用效率,而且还可以节省很大的生产成本,对环境也有相当大的好处。
1.2 研究现状
1.转台式多工位加工机床
以上是毕业论文大纲或资料介绍,该课题完整毕业论文、开题报告、任务书、程序设计、图纸设计等资料请添加微信获取,微信号:bysjorg。
相关图片展示:









