数控模板电解加工机床设计毕业论文
2020-04-15 16:53:15
摘 要
当前我国在机械加工方面相对欧美等发达国家尚有差距,尤其在模板电解加工这一领域,我国好多地方任然在沿用上世纪的工艺制造方法,并且随着加工制造系统向着柔性化和数控化方向的发展,我们必须重视模板电解加工的发展;而且模板电解加工法可以一次性加工一系列尺寸不同的群孔,尤其目前微小群孔广泛应用于航空、航天等领域,所以我们必须重视模板电解加工技术的发展。
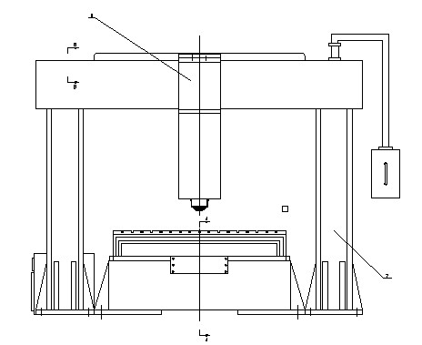
我选择的毕业设计课题名为:数控模板电解加工机床设计。基于模板电解加工的基本原理以及结合数控机床的结构特点,我最终选择了龙门式机床作为本课题的机床结构,进而对机床中的运动部件、传动部件、支承部件,以及其他辅助部件进行了校核设计。
在这次毕业设计前的准备时期中,我一边回想、一边有计划的复习大学所学知识,为的就是可以搞好这次毕业设计,我觉得通过这次毕业设计,会加深我对以前的基础知识的掌握,而且培养了我独立思考、解决问题的能力,为将来走上工作岗位打下了坚实的基础。
在这次毕业设计中,我紧扣设计题目,在图书馆认真查阅有关技术资料,并在老师和同学的指导帮助下,完成了模板电解机床的总体及相关的部件的设计。
关键词:机械加工;电器;数控铣床
The design of machine tools of Activities template electrochemical machining of holes array
Abstract
At present, our country is still lagging behind the developed countries in some realm, such as in mechanical processing. Especially in the field of template electrochemical processing, many parts of our country still follow the process manufacturing method of the last century. With the development of manufacturing system towards flexibility and numerical control, we must attach importance to template electrolysis. The development of processing; moreover, template electrochemical machining can process a series of group holes of different sizes at one time, especially at present, micro group holes are widely used in aviation, aerospace and other fields, so we must pay attention to the development of template electrochemical machining technology.
The graduation project I chose was named: Design of NC Template Electrochemical Machining Machine Tool. Based on the basic principle of template electrochemical machining and the structural characteristics of numerical control machine tools, I finally chose gantry machine tools as the machine tool structure of this topic, and then checked and designed the moving parts, transmission parts, support parts and other auxiliary parts in the machine tool.
In the graduation design, while I begin does well this graduation design, the front side and systematically review learned the basic knowledge. Thus the basic knowledge of before I acquire firmer, and developed my ability to solve problems.
In the graduation design, I gripping design topic, consult relevant technical data, and the teacher's guidance and help, completed the CNC milling machine design and relevant electric control.
Keywords: mechanicalprocessing;electric;CNC milling machine
目录
摘 要 i
Abstract ii
第一章 引言 1
1.1选题历史发展状况回顾 1
1.2模板电解加工优缺点分析 1
1.3模板电解加工技术 3
1.4研究意义 4
第二章 数控模板电解加工机床总体设计 4
2.1本设计任务简介 5
2.2加工方法选择 5
2.3机床结构的选择 6
第三章 机床主要部件的设计 8
3.1主轴系统 8
3.1.1主轴的基本要求 8
3.1.2主轴的结构分析 9
3.1.3主轴的材料及热处理方式 9
3.1.4主轴的润滑及密封 9
3.2立柱 9
3.2.1立柱的选择 9
3.2.2 立柱的安装 10
3.3横梁 11
3.4工作台 11
3.5传动系统的设计 12
3.5.1导轨 12
3.5.2滚珠丝杠 13
3.5.3步进电机和电动机的选取 15
3.5.3.1步进电机的选用 15
3.5.3.2纵向(y方向)步进电机的选取 16
3.5.3.3横向(x方向)步进电机的选取 16
3.5.3.4竖直(z方向)步进电机的选取 16
3.6床身部件的设计 17
3.7通用部件选用的方法和原则 17
3.8 机床底座 18
3.8.1 工字钢的选取 18
3.8.2 工字钢与立柱的连接 18
3.9 冷却系统 19
3.10总装配图 19
3.11床身焊接图及技术要求说明 20
3.12机床成本预估 22
第四章 结论与展望 24
4.1 结论 24
4.2未来展望 24
参 考 文 献 26
致 谢 28
第一章 引 言
1.1 选题历史发展状况回顾
电解加工(Electrochemical Machining)通俗的讲是在电解的过程中,使得阳极溶解阴极成型的一门技术,而且材料的去除通常是以离子为单位进行的,而且进行模板电解加工的时候没有工件和工具的直接接触,所以不存在切削力,因此我感觉这种加工方式非常适合用来加工航空、航天等领域所要的微小群孔。为此我研究了模板电解加工技术用来加工微小群孔以及配套机床的设计工作[1]。
作为一门较年轻的特种加工工艺,因为其产生在上世纪,历经了上世纪快速成长阶段,目前已经在各行业获得了一定的应用。但进入新世纪以来,此项技术一直处于一个停滞缓进的阶段。
造成这样的原因很多,主要有[2]:
- 资金不足
- 技术力量不足
- 科技成果的实力化不够
- 宣传推广工作没做好
为此,我研究了模板电解加工技术以及相配套的机床设计,这项技术可以解决当前我国在航空航天等领域加工微小群孔的各种难题。
以上是毕业论文大纲或资料介绍,该课题完整毕业论文、开题报告、任务书、程序设计、图纸设计等资料请添加微信获取,微信号:bysjorg。
相关图片展示:









