合成气甲醇换热器设计毕业论文
2020-04-15 17:34:14
摘 要
本设计完成了合成气/甲醇换热器设计的设计过程,包括换热器的选型、工艺计算、结构设计、强度校核等。其中壳程侧流体介质为合成气,管程侧介质为富甲醇,设计工况是低温、高压,金属材料在低温工况下容易出现脆性开裂等失效问题,故要关注低温设备的运行特点,并且此次换热器中的流体介质不易产生结垢,所需的换热器就不需要频繁的拆卸管束进行清理,所以综合考虑选择U型管式换热器,这种换热器的特点为稳定性好,结构简单。在换热器的工艺计算和机构设计时,首先通过给定物料的进出口流量和总换热系数确定设备的换热面积,并进行管程和壳程的压降校核;再根据设计条件选材,进行换热器的结构设计以及强度校核。然后确定换热器的安装以及制造方法,完成设备施工图绘制与经济成本核算。
关键词:燃料气 富甲醇 管壳式换热器 换热器 U型管式换热器
Design of syngas/methanol heat exchanger
Abstract
This design completes the design process of the synthesis gas/methanol heat exchanger design, including heat exchanger selection, process calculation, structural design, strength check and so on. The fluid medium on the shell side is syngas, the medium on the tube side is rich in methanol, the design condition is low temperature and high pressure, and the metal material is prone to brittle cracking and other failure problems under low temperature conditions, so it is necessary to pay attention to the operating characteristics of the cryogenic equipment. Moreover, the fluid medium in the heat exchanger is not easy to generate scale, and the required heat exchanger does not need to be frequently disassembled for cleaning, so the U-tube heat exchanger is selected comprehensively, and the characteristics of the heat exchanger are It has good stability and simple structure. In the process calculation and mechanism design of the heat exchanger, the heat exchange area of the equipment is first determined by the inlet and outlet flow rate and the total heat transfer coefficient of the given material, and the pressure drop check of the tube and shell sides is performed; Material selection, structural design of the heat exchanger and strength check. Then determine the installation and manufacturing method of the heat exchanger, complete the equipment construction drawing and economic cost accounting.
Key words: fuel gas; methanol-rich; shell-and-tube heat exchanger; U-tube heat exchanger
目 录
摘要 I
Abstract II
第一章 绪论 1
1.1国外发展现状 1
1.2 国内发展现状 2
2. U型管式换热器设计中需要注意的事项 2
第二章 换热器设计 3
2.1换热器设计工艺计算 3
2.1.1基础数据 3
2.1.2 定性温度和介质相关物性参数 3
2.1.3热量和物料核算 4
2.1.4有效平均温差 4
2.1.5 换热器结构设计 4
2.1.6管程计算 5
2.1.7壳程计算 6
2.1.8 总传热系数 7
2.1.9换热面积与壁温核算 8
2.2换热器结构设计 9
2.2.1筒体设计 9
2.2.2管箱筒体设计 9
2.2.3 U型管式换热器管板设计 9
2.2.4 封头设计 10
2.2.5 换热管设计 11
2.2.6 折流板 11
2.2.7 法兰及垫片 11
2.2.8 附件 11
2.2.9 防冲档杆 12
第三章 换热器的安装以及设计制造 13
3.1换热器的设计制造 13
3.1.1 管箱筒体、换热器筒体 13
3.1.2 换热管 13
3.1.3 U型管式换热器的管板 13
3.1.4 换热器的密封面以及组装 13
3.1.5 低温容器焊接接头无损检测和焊后热处理 14
3.2 换热器的安装、操作和维护 14
3.2.1拆装空间 14
3.2.2支座 14
3.2.3 安装 14
3.2.4试车与维护 14
3.3 换热器的经济性分析 15
第四章 总结与展望 16
4.1本次设计总结 16
4.2换热器的发展趋势和展望 17
参考文献 18
附录 20
致谢 42
第一章 绪论
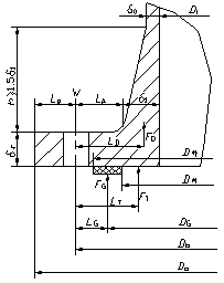
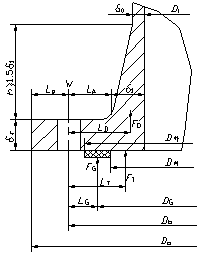
就目前来说,我国的工业行业中的换热器设备以管壳式换热器为主要形式,约占换热器设备总量比例的70%,而这其中U型管式换热器是工业生产中最常用的设备之一,常被用于冷热流体的热量交换。换热器的主要结构是管板、壳体、换热管、折流板、拉杆、定距管、封头等。与其它如塔器等压力容器相比,换热器的结构相对简单,这就使得换热器在石油化工领域的使用十分广泛。
U型管式换热器具有的结构特点是,管束为U型结构,由许多根U型换热管构成,换热管的两端固定在一块管板上,管子的长度可以自由选择,且这种换热器相对比较稳定,因为当壳体与U型换热管有温差时,不会产生热应力[1]。工作原理是冷热流体分别通过各自的接管进入换热器,通过壳体和换热管的热交换来实现换热。由于其天然的结构特点,造成了它有管子不易更换的缺点,典型的一种情况就是堵死,这就造成坏一根U型管式相当于坏两根直管;如果要重新更换换热管,就会造成较大的经济损失和繁重的工作量,就不如直接更换管束部件[2]。所以比较适合介质流体比较清洁的情况。本课题设计的换热器属于U型管式换热器,根据给定的参数来完成理论计算和图纸的绘制,熟悉压力容器设计的基本要求,掌握U型管式换热器的常规设计方法,把所学的知识应用到实际的工程设计中去,为以后的工作和学习打下扎实的基础[3]。
以上是毕业论文大纲或资料介绍,该课题完整毕业论文、开题报告、任务书、程序设计、图纸设计等资料请添加微信获取,微信号:bysjorg。
相关图片展示:









