手机包装盒用纸自动分拣装置设计毕业论文
2020-04-12 16:05:20
摘 要
自动分拣装置在先进的生产制造领域发挥着极其重要的作用。它可以运送货物,分拣物料,代替人工劳动力做繁重的工作。除此之外,它还可以实现生产的机械化和自动化,在一些对人体有害的环境下进行高强度的工作,目前被广泛应用于冶金,机械制造、电子、原子能等领域。除了以上优点之外,一个高度自动化的分拣装置,也是企业和国家的生产力的象征,可以肯定,在未来高新技术的发展下,智能化的自动分拣装置必将成为生产制造等行业的主力。
本设计的主要思路:首先联合实际,考虑到手机包装盒用纸分拣流水线的作业情况,结合机械手系统的分析与设计,提出了由执行机构、驱动系统与控制系统三个部分组成的分拣装置的总体设计方案。并针对每一个部分进行了详细的设计和补充,执行系统:采用气动机械手的整体方案,选用真空吸盘作为纸张的夹取工具,进而完成所需要的动作;驱动系统:采用气动与电气驱动相结合的方式,考虑的到实际情况和纸张运送过程的平稳性,手臂的直线运动用气缸驱动,而整个装置的回转则通过底座的步进电机驱动,并针对驱动部件进行了选型分析和设计计算;控制系统:采用PLC控制的设计方案,并对其进行了选型和分析,进一步的明确控制要求,完成了相关的硬件连接和程序的编制,充分发挥了自动控制与手动控制结合的优点,不仅操作简单,而且生产效率又高。
通过以上工作,设计了一种基于PLC的实用,经济,高可靠性的手机包装盒用纸分拣装置,对其他的经济型分拣装置的设计也具有一定的参考价值。
关键词:分拣装置;气动;机械手;可编程控制器(PLC)
Abstract
The automatic sorting device plays an extremely important role in the advanced manufacturing field. It can transport goods, sort materials, and do laborious work instead of artificial labors. In addition, it can also realize the mechanization and automation of production, doing high-intensity work in some environments that are harmful to the human body. It is currently widely used in metallurgy, machinery manufacturing, electronics, and atomic energy fields. In addition to the above advantages, a highly automated sorting device is also a symbol of the productivity of enterprises or countries. It can be affirmed that under the development of high-tech in the future, intelligent automatic sorting devices will become the main force in the manufacturing and other many industries.
The main idea of this design is to combine the actual situation, taking into account the operation situation of the paper sorting line for the mobile phone packaging box, combined with the analysis and design of the manipulator system, and proposes the sorting consisting of three parts: the actuator, the drive system and the control system. The overall design of the device. And for each part of the detailed design and supplement, the implementation of the system: the use of pneumatic robot's overall plan, use vacuum suction cup as a paper clamping tool, and then complete the required action; drive system: the combination of pneumatic and electrical drive The method, taking into account the actual situation and the smoothness of the paper conveying process, the linear motion of the arm is driven by the air cylinder, and the rotation of the entire device is driven by the stepping motor of the base, and the selection analysis and design calculation of the drive component are performed. Control system: PLC control design program, and its selection and analysis, further clarify the control requirements, complete the relevant hardware connections and program preparation, give full play to the advantages of automatic control and manual control, Not only is the operation simple, but also the production efficiency is high.
Through the above work, a practical, economical and highly reliable paper sorting device for mobile phone packaging boxes based on PLC is designed, which also has certain reference value for the design of other economical sorting devices.
Key Words:Sorting machine; Pneumatic; Manipulator; PLC
目 录
第1章 绪论 1
1.1 国内外研究现状 1
1.2 研究的目的和意义 2
1.3 研究的基本内容 2
第2章 纸张分拣装置总体设计 4
2.1执行模块总体设计 4
2.2驱动模块总体设计 4
2.3控制模块总体设计 4
第3章 纸张分拣装置执行系统的设计 5
3.1 执行系统的组成与坐标形式 5
3.2 纸张分拣机构执行模块设计 6
3.2.1 纸张夹取手爪形式与结构设计 6
3.2.2 纸张运送手臂结构设计 7
3.2.3 平面回转基座结构设计 8
3.3 分拣装置执行系统的工作原理 9
3.4 执行机构的选型与计算 10
3.5 本章小结 12
第4章 纸张分拣装置驱动系统的设计 13
4.1 驱动方式的比较与选择 13
4.2 气动回路的工作原理 14
4.3 驱动元件的选型与计算 15
4.3.1 气缸的选型计算 15
4.3.2 电机的选型计算 16
4.3.3 轴承的计算 16
4.3.4 轴与连接件的计算 17
4.4 本章小结 17
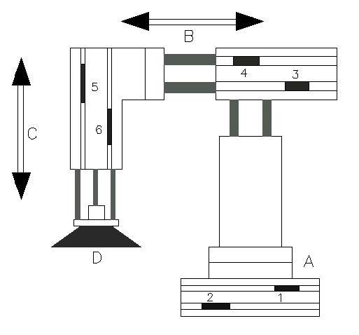
第5章 SolidWorks建模与PLC系统设计 18
5.1 在SolidWorks中建立纸张分拣装置模型 18
5.1.1 纸张吸取吸盘的模型 18
5.1.2 升降手臂模型 18
5.1.3 水平手臂模型 19
5.1.4 步进电机驱动模型 19
5.1.5 回转底座模型 20
5.1.6 纸张分拣装置总体模型 20
5.2 PLC工作原理简介 21
5.3 PLC的选型与分析 23
5.4 PLC的外部接线 24
5.5 PLC程序设计 25
5.5.1 总体程序设计 25
5.5.2 自动控制程序 27
5.5.3 手动控制程序 29
5.6 本章小结 31
第6章 结论 32
参考文献 33
致谢 34
第1章 绪论
1.1国内外研究现状
随着通讯和电子技术的发展,手机,已经融入了生活,成了每个人的必备品,而生产制造业也随之融入了新的元素:手机包装盒,每年有大量的铜版纸、卡纸、瓦楞纸被用在生产手机的包装盒上[1],故设计一种经济、高效、节能的纸张分拣装置就显得十分重要。
自动分拣系统(Automatic sorting system)是第二次世界大战后率先在发达国家的物流中心被采用的一种自动化作业系统,这一系统目前在生产制造及物流领域已经成为不可缺少的一个环节[2]。同时,自动检测与分拣技术是各大企业实现自动化生产流水线高效持续作业的一个重要条件,自动化技术和智能化装置己成为一种必然的趋势。
随着生产制造业与自动控制技术的蓬勃发展,我们正在进一步实现生产的自动化。随着机械制造以及装备质量的不断发展,许多装置的功能和性能都在不断提高,自动化装置比如机械手等的应用正在不断发展。
我国对机械手的相关研究和发展萌芽于上个世纪70年代初期,至今,可概括为3个阶段:70年代认知初期,80年代的发展期和90年代的实际应用化。在我国,这一类自动化装置的市场份额大多数都被外资企业所霸占着。在外强内患的环境和种种压力下,国内企业同时面临着巨大的挑战和机遇[3]。
在国外,他们的分拣系统比较喜欢使用自动化程度很高的货物自动分拣系统,而在国内,我们的分拣系统和科学技术方面还比较落后,实际作业中,还在使用人工劳动力的情况不是少数,RF技术、电子标签等辅助技术的使用还不多。所以目前主要面临的问题是集约化程度低、自动化系统设备应用不够广泛。
以上是毕业论文大纲或资料介绍,该课题完整毕业论文、开题报告、任务书、程序设计、图纸设计等资料请添加微信获取,微信号:bysjorg。
相关图片展示:









