200m3氧气球罐设计及焊接缺陷评定毕业论文
2020-06-20 19:16:38
摘 要
球罐普遍应用在石油行业,化工行业等领域中。它的用途很广泛,一般用来储存压缩气体和液体介质。球罐技术的先进,也从侧面体现出了一个国家的工业水平。
本次设计是根据球罐技术设计一个200立方米的氧气球罐,并对焊接缺陷进行评定。主要内容如下:
1、介绍了球罐的特点以及发展历史,是对球罐的基本介绍。
2、对球罐的设计要求作出了介绍,并给出了此球罐的设计参数,压力为3.7MPa,设计温度为常压,球壳内直径为7100毫米。根据GB12337-2014,进行材料选择,球壳选用Q345R。
3、根据GB/T17261―2011确定球罐的基本参数,本球罐采用的是橘瓣式球罐。球罐的公称容积为200立方米,球壳分三带,支柱选用4根。根据设计压力,球壳的计算厚度是44毫米。采用100%无损检测,对球罐进行水压试验以及气密性试验。由于此球罐的体积很小,故在设计完成此球罐的情况下并未加梯台。计算完成后进行SW6强度校核
4、对所设计的球罐进行缺陷评定,进行超声波检测发现两处缺陷,缺陷性质为毛细浅表裂纹。对缺陷部位消除和补焊。
5、进行经济评价,完成此球罐设计以及施工安装费等,总需约52万元。
完成的球罐设计可能存在一些缺陷,还需多加改进。
关键词:球罐 设计 焊接
Abstract
Spherical tanks are widely used in the petroleum industry, chemical industry and other fields. They are used to store compressed gases and liquid medium. Sphere of advanced technology, but also reflects the level of a country's industry.
The design is based on spherical tank technology to design a 200 cubic meter oxygen sphere, and evaluate the welding defects. The main contents are as follows:
1. The characteristics and development history of spherical tank are introduced, which is the basic introduction to spherical tank.
2.the design requirements of the sphere are introduced, and the design parameters of the sphere are given. The pressure is 3.7MPa, the design temperature is normal, and the diameter of the ball shell is 7100 millimeters. According to GB12337-2014, material selection is carried out and the ball shell is chosen Q345R.
3. according to GB/T17261 - 2011 to determine the basic parameters of the spherical tank, this sphere is used in orange - shaped spherical tank. The nominal volume of spherical tank is 200 cubic meters, the shell is divided into three belts, and the support is made up of 4 pieces. The calculated thickness of the shell is 44 millimeters depending on the design pressure. Adopt 100% nondestructive test to carry out water pressure test and air tightness test on spherical tank. Because of the small size of the spherical tank, the platform has not been added in the design of the sphere. After calculation, check the strength of SW6
4. The defects of the designed spherical tank are evaluated by ultrasonic testing, and two defects are found. The flaw is capillary shallow surface crack. Remove and repair the defects.
5. economic evaluation, the completion of the spherical tank design and construction, installation costs, etc., need to total about 520 thousand yuan.
The design of the spherical tank may have some defects and needs to be improved.
Key words: spherical tank design welding
目录
第一章、绪论 8
1.1球罐的特点 8
1.2球罐分类 8
1.2.1 按储藏温度 8
1.2.2 按结构形式分类 9
1.3球罐建造历史 9
1.3.1国内外发展现状 9
1.3.2、我国球罐的发展趋势及面临的问题 10
1.4本球罐的设计 11
第二章、球罐的球壳设计 13
2.1球罐设计要求 13
2.2球罐设计参数 13
2.2.1厚度 14
2.2.2焊接接头系数 15
2.2.3试验压力 15
2.2.4气密性试验 15
2.3材料 16
2.3.1球罐选材准则 16
2.3.2球壳选材 16
2.3.3 锻件用钢 17
2.4结构设计 18
2.4.1概况 18
2.4.2球壳计算 21
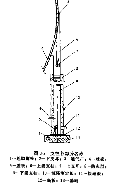
2.4.3支柱结构 27
2.4.4拉杆结构 28
2.5人孔结构 29
第三章、球罐强度计算 30
3.1设计条件 30
3.2球壳计算 30
3.2.1球壳各带的厚度计算 31
3.3球罐质量计算 32
3.4地震载荷计算 33
3.4.1自振周期 33
3.4.2地震力 34
3.5风载荷计算 35
3.6弯矩计算 35
3.7支柱计算 36
3.7.1单个支柱的垂直载荷 36
3.7.2支柱的最大垂直载荷 36
3.7.3组合载荷 37
3.7.4单个支柱弯矩 37
3.7.5支柱稳定性校核 39
3.8地脚螺栓计算 41
3.9支柱底板 42
3.9.1支柱底板直径 42
3.9.2底板厚度 42
3.10拉杆计算 43
3.10.1拉杆载荷计算 43
3.10.2拉杆连接部位的计算 43
3.10.3翼板厚度 44
3.10.4连接焊缝强度验算 44
3.11a点的应力校核 45
3.11.1 a点的剪切应力 45
3.11.2 a点的应力校核 47
3.12焊缝的强度校核 47
第四章、球罐焊接缺陷评定 49
4.1缺陷评定 49
4.2缺陷消除及补焊 55
4.3无损检测 57
第五章、球罐经济评价 59
5.1球罐材料费用 59
5.2安装费用 59
5.3土建费用 59
5.4完成球罐所需费用 59
第六章、结论 60
参考文献 61
第一章、绪论
球罐普遍应用在石油行业,化工行业等领域中。它的用途很广泛,一般用来储存压缩气体和液体介质。球罐的用应不仅局限于此,在城市建设上,对于高压气体的输送也会用到球罐;钢铁厂里球罐被用应于贮存压缩气体。此外,球罐还用应于发电站的储罐;用作化工厂的反应器等。
1.1球罐的特点
球罐是钢制容器中的一种设备。工作温度一般在零下50度到50度之间,,工作压力则定在4MPa以下。球罐具有钢材消耗少,占地面积小等特点。但对球形罐的制造,焊接技术方面要求非常高, 检查作业沉重,制作成本也高。球形容器是一种容量大,压力大的贮存介质的容器。
与立式圆筒形储罐相比,球罐展现出来了很大的优势特点,一样的体积和压力,球罐具有最小的表面积,因此节省了钢材材料,保证了效益;一样的直径,它的的板厚度只是做对应的圆筒形容器壁板厚度的一半。
相关图片展示:









