DN3000吸附净化塔疲劳设计毕业论文
2020-05-28 07:02:44
摘 要
塔是化工和炼油等生产设备是最常见的。它允许气液或液液两相状态,以实现紧密接触,以实现相质量转移之间。常见的单元操作,可在塔内完成主要有:精馏,吸收,解吸和提取。此外,冷却和工业气体,湿气体和干净系统的再循环,以及两个液两相传质和传热加湿器,除湿机等。从工艺发明到施工塔的设计实力,中国也取得了长足的进步,也引进了一系列新技术和标准。特别是计算机技术,通过主板上的计算密集型计算的化工工程设计的发展中受益,我们已经能够快速,轻松地获得满意的结果。计算机也可以加载异常复杂的塔强度设计挑战要考虑一个接一个,和使由分析计算出的合适的。压力容器强度计算工具SW6,是由全国化工设备设计技术中心精心编写准备的,容器的强度和刚度可以计算出来。现在也正在思考最有效的设计方法。
根据给定的设计参数,选择附件的设计以及塔结构的设计,强度和稳定性包括壁厚计算、塔地震周期计算、各种负荷计算、塔的强度校核、结构稳定性检验,裙座计算和检查等。
通过文献检索,查找有关筛板的信息,完成所有的设计计算,并提出了制造,试验等方面的要求。
关键词:强度设计、结构设计、材料选用
DN3000 adsorption purification tower fatigue design
Abstract
By performing two processes and the use of adsorption and distillation systems on the same device geometry, physical properties as similar as possible issues our current study recalculated the mass transfer of data reopened absorption and distillation between. In the wet wall column has been chosen as it guarantees the same well-known and effective interfacial area of two experimental setup process. In this paper, we present the experimental results of absorption and the subsequent article will focus on those distillation and compared with each other. The liquid side mass transfer coefficient is from primary alcohols using nitrogen desorption of oxygen in the liquid phase of the measurement range of Reynolds number flows 30~560 experiments carried out in the environment, and at elevated temperature to provide a range of liquid Schmidt.Absorption experiments within the coverage range of Reynolds number and Schmidt number ranges overlap distillation experiments, which will re-calculate the required mass transfer coefficient from the absorber to the distillation conditions are not extrapolated. Experimental results of absorption has been associated in dimensionless
Keywords:Absorption; Distillation; Mass transfer; Wetted-wall column
目 录
摘要 1
Abstract 2
第一章 概论 6
1.1塔设备在化工领域的应用 6
1.2塔设备的分类和一般构造 6
1.3对塔设备的要求 6
1.4本文主要研究内容 8
第二章 净化塔的强度设计和稳定校核 9
2.1筒体和封头的壁厚计算 9
2.1.1材料选择 9
2.1.2按设计压力计算筒体壁厚 9
2.1.3封头壁厚计算 9
2.2板式塔质量及各种载荷计算 11
2.2.1塔的质量载荷 11
2.2.2塔的分段 14
2.3塔的自振周期计算 14
2.4地震载荷计算 14
2.4.1基本参数 14
2.4.2确定危险截面的地震弯矩 14
2.4.3对于等直径、等壁厚的塔 14
2.4.4弯矩计算 15
2.5风载荷计算 17
2.5.1风力计算 17
2.5.2风弯矩计算 19
2.6轴向应力计算 20
2.6.1计算压力引起的轴向拉应力
20
2.6.2操作质量引起的轴向压应力
20
2.6.3最大弯矩引起的轴向应力
21
2.7筒体和裙座强度及稳定性校核 23
2.7.1筒体的强度与稳定性校核 23
2.7.2裙座的稳定性校核 25
2.8筒体和裙座水压试验应力校核 25
2.8.1筒体水压试验应力校核 25
2.8.2裙座水压试验应力校核 27
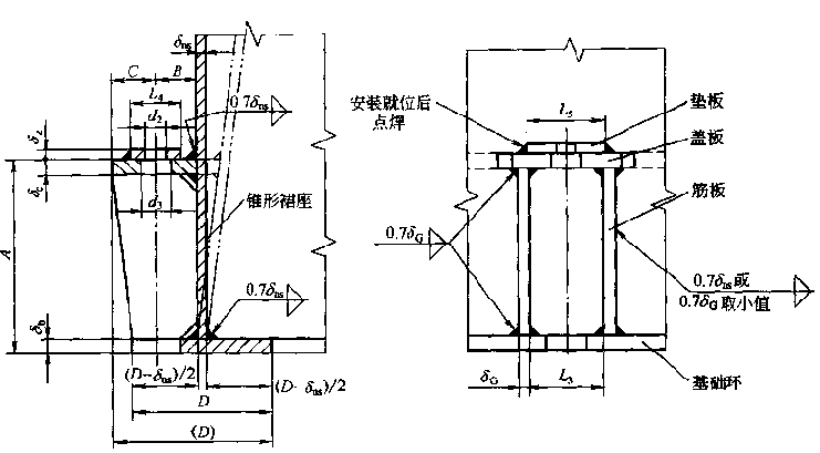
2.9基础环设计 27
2.9.1基础环尺寸 27
2.9.2基础环应力校核 28
2.9.3基础环厚度
28
2.10地脚螺栓计算 29
2.10.1地脚螺栓承受的最大拉应力 29
2.10.2地脚螺栓直径 30
2.10.3地脚螺栓座 30
第三章 净化塔塔盘的结构设计 32
3.1塔盘型式 32
3.1.1塔盘结构 32
3.1.2 主要结构参数 32
3.2分块式塔盘 33
3.2.1分块式塔盘的选用 33
3.2.2结构型式 33
3.2.3自身梁式塔盘板 33
3.3降液管及受液盘 34
3.3.1弓形降液管 34
3.3.2降液管尺寸 34
3.3.3降液管结构 34
3.3.4平型受液盘 34
3.4溢流堰 35
3.4.1入口堰 35
3.4.2出口堰 35
3.5塔盘的支承结构 36
3.6塔盘的紧固件 36
第四章 净化塔辅助装置 37
4.1气体分布器 37
4.2裙座 37
4.2.1裙座的选材 37
4.2.2裙座的结构 37
4.3人孔 38
4.3.1人孔的设置 38
4.3.2人孔的标准 38
第五章 塔设备的制造、安装及运输 40
5.1 制造要求 40
5.1.1制造上的要求 40
5.1.2制造与组装 40
5.1.3焊接及其特点 40
5.2 设备的检验 41
5.2.1目的 41
5.2.2检验方法 41
5.2.3水压试验 41
参考文献 ........................................................42
第一章 概论
1.1塔设备在化工领域的应用
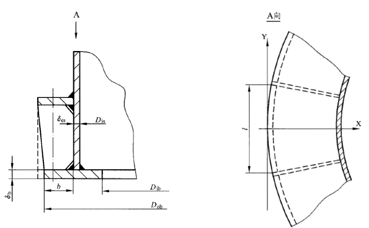
相关图片展示:









