水泥装袋机设计-多头装袋机设计毕业论文
2020-04-10 16:58:44
摘 要
现在社会,随着经济的快速发展,对于机械的智能化程度和生产效率的要求普遍提高。本次毕业设计的题目为:水泥装袋机设计——多头装袋机设计。旨在主要解决目前市场上包装机不能满足厂家生产效率的需求和需要的人力成本过高的缺点。
目前市场上的水泥多头包装机主要存在充填前回转电机与充填电机不同步,闸板不开启;充填时,物料掉落过慢,充填精度过低,回转时水泥袋脱落;充填完成后,不掉袋,闸板关闭不及时等问题。恩赐设计需要从各个方面找到各个问题的解决方法,并给出相应的解决方案。
在老式水泥包装机的基础上,结合目前先进的技术,对其进行改进。主要包括水泥包装机的物料充填机构,挂袋、压袋、掉袋机构和称量机构的设计改进,在包装机中使用先进的仪器设备如传感器等,辅助机器运转。在此基础上,设计的水泥包装机可以自动的完成压袋、充填、称量卸袋等工作,减少在生产过程中的人力,提高机器的生产效率。
回转式水泥装袋机的设计方案为:其作业方式为回转式连续作业,给料方式为叶轮给料,称量方式为微机秤称量。这样可以使包装机在保证物料充填精度的情况下最大限度的提高其生产效率。
此种水泥包装机具有极大程度的自动化,计量精度高,设备运转稳定性能好,易于机器的维修和保养。
关键词:回转式;包装机;充填机构;称量机构
Abstract
In today's society, with the rapid development of economy, the requirements for the intellectualization and production efficiency of machinery are generally improved. The title of this graduation project is: the design of cement bagging machine -- the design of multi head bagging machine. The aim is to solve the shortcomings of the current market that the packaging machine can not meet the needs of the manufacturer's production efficiency and the high cost of human resources.
At present, the main cement multi head packing machine in the market is that the rotary motor is not synchronized with the filling motor before filling, and the gate is not open; when filling, the material falls too slowly, the filling precision is too low and the cement bag falls off when the rotation is turned; after the filling is completed, the bag is not dropped and the gate closes are not closed in time and so on. The gift design needs to find solutions to various problems from various aspects and give corresponding solutions.
Based on the old cement packer, combined with the advanced technology, it is improved. It mainly includes the material filling mechanism of the cement packer, the design and improvement of the bag, bag, bag dropping mechanism and weighing mechanism, and the use of advanced instruments such as sensors in the packing machine to assist the machine to operate. On this basis, the design of the cement packaging machine can automatically complete the work of pressure bag, filling, weighing and unloading bags, reducing the manpower in the production process and improving the production efficiency of the machine.
The design scheme of rotary cement bagging machine is: its operation mode is rotary continuous operation, feeding mode is impeller feeding, weighing method is microcomputer scale weighing. This can make the packaging machine maximize the production efficiency under the condition of ensuring the accuracy of material filling. The design scheme of rotary cement bagging machine is: its operation mode is rotary continuous operation, feeding mode is impeller feeding, weighing method is microcomputer scale weighing. This can make the packaging machine maximize the production efficiency under the condition of ensuring the accuracy of material filling.
The cement packing machine has a great degree of automation, high precision, stable operation and easy maintenance.
Key words: rotary packing machine;; filling mechanism; weighing mechanism
目录
第一章 绪论 1
1.1研究背景及目的 1
1.2国内外研究现状 1
1.3研究的基本内容及技术路线 3
第二章 包装机的主要参数设计 6
2.1整机参数设计 7
2.2电动机的选型设计 9
2.3轴的设计 9
2.3.1轴的材料 9
2.3.2回转主轴轴径的初步估算 10
2.3.3.3回转轴的校核 10
2.3.4充填轴轴径的初步估算 11
第三章 包装机主要机构的设计 12
3.1上盖装置 12
3.2储料机构 12
3.3充填机构 14
3.4称量机构形式的选择 17
3.5闸板控制机构 18
3.6装袋夹持机构 20
第四章 包装机支承件与其它部件的设计 25
4.1包装机支撑件 25
4.2收尘部件 27
结论 28
参考文献 29
致谢 30
绪论
针对目前市场上已有的水泥包装机,为市场上已知的水泥包装机进行优化,改变老式水泥包装机计量不精确,单位时间的产量低,效率低下,工作过程中易发生故障等严重缺陷,在老式包装机的基础上,借鉴目前国内外的先进科技技术,进行水泥包装机器的机械部分重要构件的新设计工作。主要包括充填机构,称重计量机构,开关闸板机构等。通过对水泥包装机机械部分的改进,来达到现代化水泥工厂对包装机械的需求,通过改进机械的自动化智能程度,提高企业的生产效益和经济效益。
1.1研究背景及目的
目前,包装机械行业的市场需求正在稳步提高,市场发展前景一片大好。水泥作为各行各业都需要用到的一种普遍建筑材料,需求量极大。在使用水泥的过程中,就不可避免的要考虑到水泥的包装运输。在市场中流通时,水泥包装对于水泥的销售也会产生极大的影响。
水泥作为一种廉价、普遍的建材,水泥生产商在生产出水泥后,考虑其包装时,水泥的包装生产效率,必然是第一参考点。对于水泥生产厂家来说,每天所销售的水泥数量必然是极大的,而对水泥的包装生产速率如果达不到生产要求,必然会对厂家产生极大的影响。国内目前对于水泥包装机这一领域的技术还是相对于国外是不成熟的,比较为人所知的就是唐山智能电子有限公司。专注于水泥包装机这一方面创新的企业并不多见,这也是我国水泥包装机行业的不足之处。但是对于水泥包装机所需的技术在国内市场有一些很不错的创新。随着机电一体化的出现,使得以前的半自动化机械不断的淘汰,市场目前对于全自动水泥包装机的需求极大。所以,各大水泥公司对高效率的水泥包装机的需求变大。本次设计便是在目前的水泥包装机的基础上结合现代科技进行改进。
在目前市场前景极好的状况下,对水泥包装机的研究设计必然是可行的。在设计时,可以参考与水泥相似物料的包装机的结构进行设计。同时也要考虑到水泥物料与其它物料的不同。要考虑到水泥厂家对于包装机生产率和自动化程度的要求。同时也应该考虑到零件制造的可行性和成本。在满足各方条件的情况下,最大化的使设计的包装机满足目前包装市场的要求。设计时,也应该放眼长远,考虑到所设计的包装机不会被市场过快的淘汰。
1.2国内外研究现状
我国包装机械工业发展历史短,总体技术水平和生产能力较低。近年来,在国内巨大包装市场的作用下,并受国外先进技术的影响,我国包装技术水平发展迅速,技术水平有了明显的提高[[1]]。
先如今市场上的水泥包装机可分为两种:回转式水泥包装机和固定式水泥包装机,固定式水泥包装机是指具有1-4出料嘴的包装机, ,旋转式水泥包装机是指具有6-14出料嘴的包装机。
水泥包装机工作原理为:水泥物料通过水泥输送管道进入水泥包装机储料仓里,再在自身重力的作用下进入到所对应的分料斗中,当包装袋准备就绪后,微机发送充填信号,充填阀门打开,开始充填。当充填到达所设定的额定值时,电机停止,阀门关闭,进行掉袋,完成一次充填工作。回转式水泥包装机在很大程度上改进了机械的自动化,水泥包装的全过程都可以在机器的自动工作下完成,节省了企业的人力成本,同时也可提高水泥生产厂家的生产效率。
回转式水泥包装机的配套设备有振动筛,螺旋闸门.给料机,溜槽,包装机主机,接包输送机,正包输送机,清包输送机,荷重传感器,料位控制仪等。

图1.1 单嘴水泥包装机
单嘴水泥包装机为市场上最先出现的一种水泥包装机,此种包装机因为只有一个工作台,在工作时,水泥充填没有其它干涉条件,整机较小,也易于移动安装调试和维修。但是此种包装机由于其自动化程度较低,对水泥的充填精度不高,生产效率较低。在生产过程中,需要较多的人力参与生产,会增加企业的生产成本。
回转式水泥包装机为单嘴水泥包装机的改进产品,此种机器采用回转式多工位模式,在一个储料仓的下方进行多嘴充填。充分利用机器的充填速率,提高生产效率。同时此种机器具有极高的自动化,对于水泥充填的整个过程都可机器自动完成,除去了工作中的人力成本。但是,由于整机工位较多,整机偏大,成本较高,安装调试工作也较为繁琐,适用于大型水泥生产企业。

图1.2 回转式水泥包装机
1.3研究的基本内容及技术路线
机械设计的基本要求为以下几个方面:
- 实现预定的功能,满足运动和动力性能的要求;
- 可靠性和安全性的要求;
- 市场需要和经济性的要求;
- 零部件结构设计的要求;
- 工艺及标椎化、系列化、通用化的要求[[2]]。
本次设计的要求为设计一款多头装袋机,将水泥填充到水泥袋中,生产量为20吨/小时,每袋水泥25kg。回转式水泥包装机由动力系统、上盖装置、上回转体、下回转体、灌装充填系统、装袋机构、开关闸板机构、防摆轴装置、底盘、料位器等部件组成。回转式水泥包装机的主要工作过程为:主驱动由电动机经调速后,通过主轴带动机身旋转。充填系统由电动机带动充填叶轮推动水泥实现水泥充填。当水泥包装袋的水泥到达一定质量后,通过微机秤进行计量,实现水泥的定量充填。
目前,市场上的水泥包装机器存在机头设计可能存在缺陷,机器上袋后在回转过程中,易发生落袋,空袋回转的现象。由于水泥易结块、易飞扬的特性,所以在进行水泥的充填时应当考虑到这些影响因素。在卸料时,可能出现卸料不及时的情况。本次设计应该考虑到市场上机器的缺陷,进行机器结构的优化,来达到提高生产率降低生产成本的目的。
在老式水泥包装机的基础上,设计是创造性的劳动,创造是创新,创新才是技术和经济发展的源泉,机械创创新才可提高市场竞争力,满足市场需求[[3]]。
此次设计的技术路线为:
- 包装机整体的工作流程;
- 总体结构参数的设计,包括包装机的长宽高和最大回转直径等;
- 总体动力系统的设计;
- 包装机各个主要机构的设计,包括充填机构等
- 包装机支承件的设计和选择;
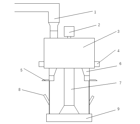
图1.3 水泥包装机结构简图

1——输送管道;2——回转电机;3——储料仓;4——充填电机;5——出料嘴;6——分料斗;7——立柱;8——收尘口;9——包装机底座
物料输送管道
储料仓
分料斗
开始充填
有袋信号
无
无袋信号
闸板打开
叶轮电机启动
到达额定重量
叶轮电机停止
闸板关闭
出料嘴翻转、落袋
复位
图1.4 水泥包装机工作流程图
包装机的主要参数设计
水泥包装机主要用于大型水泥工厂内代替人工完成水泥装袋工作,大幅度的提高上生产效率,降低生产成本。本次设计的前提要求为设计一台多头水泥装袋机,生产量为20吨/小时,每袋水泥25kg。水泥包装机的结构主要包括:储料机构,充填机构,上袋机构,称量机构,以及各机构之间的连接形式和支撑件。
下图为此次设计的总体三维图:

图2.1 包装机整机三维图
2.1整机参数设计
在已知设计前提(生产效率20吨/小时)的情况下,进行整机参数的设计,包括整机的设计尺寸,整机转速,回转直径,零部件安装位置安装尺寸等。
查阅市场上已存在的回转式水泥包装机规格尺寸,与本次设计的要求进行对比分析。
储料仓(上回转体):上回转体主要有储料仓组成。储料仓的容积要求需要满足回转包装机单次回转所充填物料的充填量。包装机单次回转所需充填的水泥袋数为8袋,已知水泥袋规格为25kg/袋,即需要200kg。已知水泥的密度为1.13吨/m³,同时,储料仓的储料量需要远大于所需充填量,初步设定储料仓的容积为1.5m³左右,。储料仓采用圆柱型回转式,中心焊接芯轴进行动力传递。
图2.2 储料仓结构图
初步设计储料仓的外径为D1=1560mm,高度为H1=920mm,采用8mm的钢板卷曲焊接而成,焊接与10mm的直径为1560mm的底板上,中心处焊接芯轴,周围使用加强筋连接底板法兰加强连接。下部可通过法兰连接其他部件。
- 下回转体:下回转体主要包括连接盘,支柱,收尘装置。初步设定下回转体连接盘的外径为D2=800mm,高度为H2=300mm。立柱焊接于连接盘上,收尘口设置与立柱上。
- 上下回转体之间通过立柱连接周围设计安装架,各个工位分别安装于安装架上。
- 整机回转速度:因为此次设计的水泥包装机采用回转式,在工作时整机进行回转,所以出料嘴的充填速率需要和整机回转速率相匹配,同时需要达到生产速率的要求。目前市场上的回转式水泥包装机的出料嘴数一般为6、8、10、12等。本次设计的生产速率要求较低,所以本次设计的水泥包装机的出料嘴数设定为8个。根据生产要求,包装机的生产效率要求应达到800袋/小时。即在一个小时中,对应的单个出料嘴的生产效率需达到100袋/小时。在一个回转周期里,单个出料嘴的生产量为1袋。所对应的在1小时内包装机回转圈数为100r/小时,即为回转速率为100r/h,1.7r/min。
- 充填叶轮转速:在包装机的一个回转周期内每个充填嘴都需要完成一次充填,而如果仅仅在重力的作用下,物料充填速度太慢,所以需要叶轮辅助充填。初步设计分料斗内叶轮的直径为160mm,宽度为100mm,分料斗的容积约为0.002m³。在包装机回转一个周期内,则叶轮的转速需要达到24r/周期,包装机回转的一个周期为36s,则充填叶轮的转速为40r/min。在充填过程中需克服水泥与管壁的摩擦力和水泥的充填阻力。单次通过分料斗的水泥量约为2.4kg,水泥与充填管道的摩擦力因数μ2=0.5。则所需克服摩擦力约为:
F=μFN=0.5×24=12N 式(2.1)
所需克服的水泥充填阻力约为:F阻=24N
以上是毕业论文大纲或资料介绍,该课题完整毕业论文、开题报告、任务书、程序设计、图纸设计等资料请添加微信获取,微信号:bysjorg。
相关图片展示:









