从低品位煤系高岭土制备高性能聚合双酸铝铁净水剂毕业论文
2020-04-13 11:12:39
摘 要
高岭土作为一种十分重要的无机非金属矿产,具有很多优良的性能,在许多领域均有重要的应用。然而高岭土在形成的过程中,由于受到环境的影响,掺杂有害成分而导致其品位降低。在我国,品位较低的高岭土占有很大的比例,利用率较低,部分甚至被堆积废弃,这不仅导致了土地资源被占用,而且很大程度地污染了自然环境,所以必须对其进行无害化处理。
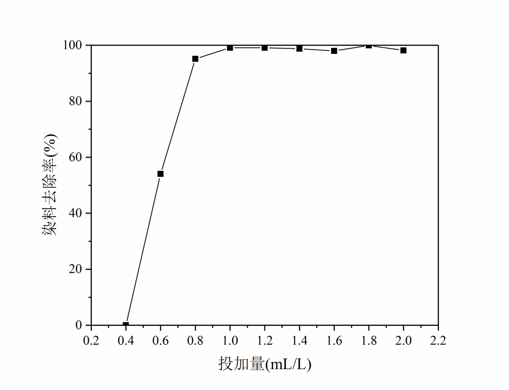
本文成功探索出了一种低品位煤系高岭土制备聚合双酸铝铁净水剂的工艺。即低品位煤系高岭土经粉碎后烘干,加入一定酸液后搅拌,放入烘箱中烘干,然后加入一定量蒸馏水搅拌,抽滤、洗涤得到铝和铁的浸出液。补加一定量的六水合氯化铁,通过调节pH并升温来提高产品盐基度,保温一段时间得到聚合双酸铝铁絮凝剂。采用XRD、FT-IR等表征手段对制备的产品进行分析。结果表明,聚合过程中铝离子和铁离子二者通过共聚作用形成了内部为无定型结构,结晶程度近于非晶态的聚合双酸铝铁净水剂。用制备的聚合双酸铝铁絮凝剂处理模拟染料废水并探究最佳净水条件,结果证明,制备的PAFCS絮凝效果良好,在pH=8、投药量为1ml/L时对浓度为100mg/L的直接蓝2B染料溶液的染料去除率可达99%。该工艺成功的从低品位煤系高岭土制备PAFCS,实现了以废治废的目标。
关键词:低品位高岭土,聚合双酸铝铁,低温活化溶出,絮凝
Abstract
As an important non-metallic mineral, kaolin has many excellent properties and has important applications in many fields. However, during the formation of kaolin, due to the influence of the environment, doping with harmful components leads to a decrease in its grade. In China, kaolin of a lower grade occupies a large proportion and has a low utilization rate. Some of them are even piled up and discarded. This not only occupies a large amount of land, but also seriously pollutes the environment and must be reduced, harmless, and resource-resourced
This paper explore a process successively to prepare PAFCS cleaning agent with low-grade coal-based kaolin. That is, low-grade coal-based kaolin is crushed, dried, added with a certain amount of acid solution, stirred, dried in an oven, and then stirred with a certain amount of distilled water. The aluminum and iron leaching solution is obtained by suction filtration and washing. A certain amount of ferric chloride hexahydrate was added, and the salt base degree of the product was raised by adjusting the pH and raising the temperature, and the PAFCS was obtained for a certain period of time. The prepared products were analyzed by XRD, FT-IR and other characterization methods. The results showed that both aluminum ion and iron ion in the polymerization process formed a polymeric aluminum dihydrogen phosphate purifying agent with an amorphous structure and a degree of crystallinity close to that of the amorphous state. The prepared polymeric aluminum di-aluminate flocculant was used to treat the simulated dye wastewater and the optimum water purification conditions were investigated. The results showed that the prepared flocculant of PAFCS had good flocculation effect. When it is added to 100mg/L direct blue 2B solution, the dye removal rate was up to 99% when the pH was 8 and the dosage was 1 ml/L. The process successfully produced PAFCS from low-grade coal-based kaolin and achieved the goal of waste treatment.
Key words: Low-grade kaolin, poly-aluminum-ferric-chloride-sulfate, low temperature activation leaching, flocculate
目录
摘要 Ⅰ
Abstract Ⅱ
目录 Ⅲ
第一章 绪论 1
1.1 高岭土的概述与低品位煤系高岭土 1
1.1.1高岭土的简介 1
1.1.2高岭土的分类 1
1.1.3高岭土的开发现状 2
1.1.4低品位煤系高岭土 2
1.2 高岭土的应用与工艺进展 2
1.2.1高岭土在陶瓷工业中的应用 2
1.2.2高岭土在絮凝剂制备中的应用 2
1.2.3高岭土在造纸工业中的应用 3
1.2.4高岭土在涂料工业中的应用 3
1.2.5高岭土在橡胶工业中的应用 3
1.2.6 高岭土在医药行业中的应用 3
1.3 絮凝剂的概述 3
1.3.1 絮凝剂的简介 4
1.3.2 混凝的基本原理 4
1.3.3 无机絮凝剂的开发与应用中存在的问题 4
1.4聚合双酸铝铁絮凝剂 4
1.4.1聚合双酸铝铁絮凝剂的简介 4
1.4.2聚合双酸铝铁絮凝剂的合成方法 5
1.4.3聚合双酸铝铁絮凝剂研究进展 5
1.5研究背景 5
1.6研究目标 6
第二章 实验部分 7
2.1 仪器与试剂 7
2.1.1 实验仪器 7
2.1.2 实验试剂 8
2.2 高岭土成分分析 8
2.2.1 XRD 9
2.2.2 XRF 9
2.3 聚合双酸铝铁絮凝剂的制备过程 9
2.3.1 低温活化溶出阶段预实验 9
2.3.2 溶出最佳工艺条件的探究 9
2.3.3 熟化聚合阶段预实验 10
2.3.4 聚合最佳工艺条件的探究 10
2.4 聚合双酸铝铁絮凝剂的表征 11
2.4.1 XRD 11
2.4.2 FT-IR 11
2.5 聚合双酸铝铁絮凝剂絮凝条件的探究 11
2.5.1 PH值对混凝效果的影响 11
2.5.2 投药量对混凝效果的影响 12
2.5.3 聚合双酸铝铁混凝的动力学试验 12
第三章 结果分析与讨论 13
3.1 高岭土成分分析 13
3.1.1 XRD 13
3.1.2 XRF 13
3.2 聚合双酸铝铁制备各阶段较优条件及分析 14
3.2.1 低温活化溶出阶段机理分析 14
3.2.2低温活化溶出阶段较优条件 14
3.2.3聚合阶段机理分析 19
3.2.4聚合阶段较优条件 20
3.2.5聚合双酸铝铁的制备方法 21
3.3聚合双酸铝铁的表征 21
3.3.1 XRD表征 21
3.3.2 FT-IR表征 22
3.4 聚合双酸铝铁絮凝剂絮凝条件的探究 23
3.4.1 pH对混凝效果的影响 23
3.4.2 投药量对混凝效果的影响 24
3.4.3 混凝的动力学试验 25
3.4.4 聚合双酸铝铁絮凝剂的混凝效果 25
第四章 结论与展望 26
4.1 结论 26
4.2 展望 26
参考文献 28
致谢 30
绪论
- 高岭土的概述与低品位煤系高岭土
 
1.1.1高岭土的简介
高岭土(Al2Si2O5(OH)4)可以简单地定义为在土壤中自然形成的一种粘土。它被标为软粘土,颜色为白色或近于白色,土质,由硅酸盐矿物分解而形成。高岭土的历史名称来源于汉语中的“高岭”一词,它是以中国瓷都景德镇附近的一座小山命名的。高岭土是由风化作用形成,与其他粘土相比,其粒径较粗,且具有不塑性。作为宝贵的四大非金属矿产之一,高岭土主要成分是高岭石,因其具有卓越的可塑性、烧结性、电绝缘性和耐火度以及其他良好的工艺性能而被普遍应用于陶瓷、造纸、石化、医疗以及国防等领域。由于存在风化、沉积和蚀变的成矿作用,以及成矿地质背景的不同,所形成的高岭土在矿床规模、矿体形态、分布特征和矿石成分性质上都存在差异[1]。自然界中的高岭土主要包括粘土矿物与非粘土矿物。而粘土矿物中又包括高岭石族矿物以及少量蒙脱石、绿泥石和云母;非粘土矿物的主要成分则是长石、铝的水合物以及石英。高岭石作为高岭土的主要成分,由1个氧化铝八面体片和1个二氧化硅四面体片以1:1的化学计量比组成。纯净的高岭土具有和高岭石一样的化学组成,其主要化学成分包括SiO2、Al2O3、H2O,理论的化学组成为SiO2 46.54%、Al2O3 39.50%、H2O 13.96%[2]。其中高岭石占有的比例越高说明其化学组成与高岭石的理论成分越相似,但是由于成矿作用以及地质背景等复杂的因素,实际的高岭土掺杂了Fe2O3、TiO2、CaO、MgO、K2O、Na2O、SO3、P2O5等成分,使得分布于我国大江南北的高岭土矿物成分存在些许差异,同时也导致了高岭土的品位降低,使高岭土的开发利用变得困难。
作为世界上最早开发利用高岭土的国家,我国的高岭土的类型齐全,煤系硬质高岭土的储量十分丰富。但是低品位煤系高岭土的比例较大,其中含有一些有害物质,既污染了环境,也占用了土地资源。因此,我们需要合理处理并利用低品位高岭土资源,做到科学发展。
以上是毕业论文大纲或资料介绍,该课题完整毕业论文、开题报告、任务书、程序设计、图纸设计等资料请添加微信获取,微信号:bysjorg。
相关图片展示:






您可能感兴趣的文章
- 用于甲醇制烯烃反应的SAPO-34/ZSM-5复合催化剂的原位水热结晶合成外文翻译资料
 - 硫化氢在活体的化学发光探针成像外文翻译资料
 - 全色发射型ESIPT荧光团对某些酸及其共轭碱负离子识别的颜色变化外文翻译资料
 - 一种用于成像神经元细胞和海马组织中NMDA受体附近内源性ONOO-的双光子荧光探针外文翻译资料
 - 表面功能化的Ui0-66/pebax基超薄复合中控纤维气体分离膜外文翻译资料
 - 金属有机框架中的可逆调节对本二酚/醌反应:固态固定化分子开关外文翻译资料
 - 二维MXene薄片的尺寸相关物理和电化学性质外文翻译资料
 - 将制甲烷的Co催化剂转化为产甲醇的In@Co催化剂外文翻译资料
 - MXene分子筛膜用于高效气体分离外文翻译资料
 - 模板导向合成具有排列通道和增强药物有效荷载的立方环糊精聚合物外文翻译资料
 

        
            
