常州某制药场废水处理工程设计毕业论文
2020-07-11 18:00:24
摘 要
江苏省常州市人口众多,是制药工业与其他重工业密集地区,因此,工业废水的及时和正确处理显得尤为重要。针对药厂废水含有大量有毒物质,可生化性低的特性,采用铁碳微电解法对污水进行预处理,后续工艺采用厌氧和生物接触氧化的组合工艺对药厂废水进行处理。本设计对于以上三种工艺进行了组合应用,详细介绍了以上三种工艺的原理、作用机理以及对所用设备进行了比选和尺寸计算,经处理后的废水可生化性大大提高,有效降低了水中污染物含量以及悬浮颗粒的含量,使其达到了国家规定的标准值。
关键词:药厂废水、铁碳微电解法、厌氧处理、生物接触氧化
Abstract
Design of Wastewater Treatment Engineering of a Pharmaceutical Factory in Changzhou
Changzhou City, Jiangsu Province has a large population and it is a pharmaceutical industry and other heavy industry-intensive areas. Therefore, the timely and correct treatment of industrial waste water is particularly important.In view of the fact that pharmaceutical wastewater contains a large amount of toxic substances and has low biodegradability, iron-carbon microelectrolysis is used to pretreat the wastewater, and the subsequent process uses anaerobic and biological contact oxidation to treat pharmaceutical wastewater.This design combines the above three processes and describes in detail the principles and mechanisms of the above three processes, as well as the selection and size calculation of the equipment used.The biodegradability of the treated wastewater has been greatly improved, and the harmful substances and suspended substances contented in water also met the official requirements.
Keywords:pharmaceutical wastewater;Iron-carbon microelectrolysis;Anaerobic treatment;Biological Contact Oxidation.
目录
第一章 绪论 6
第二章 设计标准与说明 7
2.1 前言 7
2.2设计说明 7
2.2.1 设计原则、任务、内容及依据 7
2.2.2设计基础资料 8
第三章 污水处理工艺流程的确定及设备的比选 10
3.1格栅 10
3.2沉砂池 10
3.3初次沉淀池 11
3.4主体工艺的比选 14
1.混凝—水解酸化—CASS(好氧)工艺 14
2.微电解—水解—好氧接触氧化 14
3.水解—UBF—CASS工艺 14
3.4.1提高污水可生化性工艺的比选 15
3.4.2污水处理主体工艺比选 16
1.厌氧处理技术的比较及选择 16
2.好氧处理技术的比较及选择 18
第四章 设计计算 22
4.1.格栅 22
4.1.1格栅的间隔数 22
4.1.2格栅槽宽度 22
4.1.3进水渠道渐宽部分的长度 23
4.1.4出水渠道渐窄部分的长度 23
4.1.5通过格栅的水头损失 24
4.1.6栅后明渠的总高度 24
4.1.7格栅槽总长度 24
4.1.8每日栅渣量 24
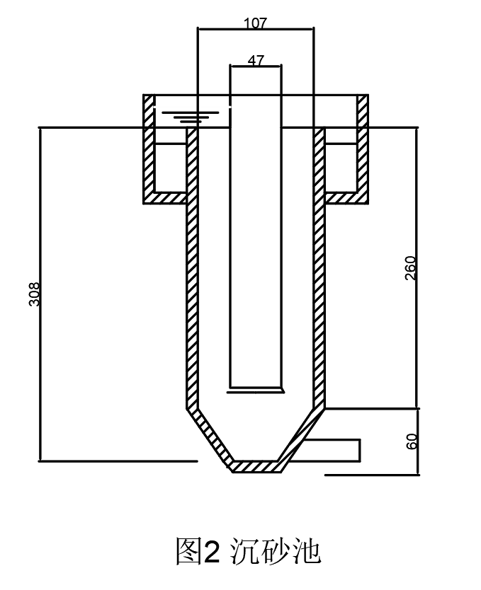
4.2沉砂池 25
4.2.1沉砂池直径 25
4.2.2沉砂池中心管管径 26
4.2.3沉砂池水流部分高度 26
4.2.4沉砂室所需容积 26
4.2.5每个沉砂斗容积 27
4.2.6沉砂斗高度 27
4.2.7沉砂斗实际容积 28
4.2.8沉砂池总高度 28
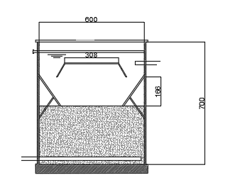
4.3初次沉淀池 28
4.3.1沉淀池表面积 29
4.3.2沉淀部分有效水深 29
4.3.3沉淀部分有效容积 29
4.3.4沉淀池长度 30
4.3.5沉淀池宽度 30
4.3.6沉淀池格数 30
4.3.7污泥部分所需容积 31
4.3.8每格沉淀池污泥部分所需容积 31
4.3.9污泥斗容积 31
4.3.10沉淀池总高度 32
4.3.11进水配水井 33
4.3.12进水渠道 34
4.3.13进水穿孔花墙 34
4.3.14出水堰 35
4.3.15出水渠道 35
4.3.16进水挡板、出水挡板 36
4.4铁碳微电解塔 36
4.4.1加酸系统 37
4.4.2铁碳微电解塔设计计算 37
4.5升流式厌氧污泥床反应器 44
4.5.1 UASB反应器的特征 44
4.5.2 UASB反应器的设计计算 44
4.5.3加碱系统 45
4.5.4 UASB反应器容积及主要工艺尺寸的确定 46
4.6生物接触氧化池 55
4.6.1容积负荷 55
4.6.2平面尺寸计算 55
4.6.3供气量的计算 57
4.6.4平面布置 61
4.6.5进出水系统 61
4.6.6空气管道的计算 63
4.6.7填料设计 65
第五章.污水处理厂布置 94
5.1厂址选择 94
5.1.1厂址选择遵循的基本原则 94
5.1.2厂址选择的基本要求 94
5.1.3厂址选择中的环保要求 94
5.2平面布置 95
5.2.1 污水处理厂设施组成 95
5.2.2平面布置的原则 95
5.3高程布置 97
5.3.1高程布置的原则 97
5.3.2 污水处理构筑物高程布置 97
5.3.3 污泥处理构筑物高程布置 100
第六章. 经济分析评价 102
参考文献 104
致谢 106
第一章 绪论
近几年,铁碳微电解技术成为了炙手可热的污水预处理技术,它是利用金属腐蚀原理,形成原电池,对废水进行处理的良好工艺,又称内电解法、零价铁法、铁屑过滤法、铁碳法等。 铁碳微电解工艺的电解材料一般采用焦炭和铸铁屑或者活性炭,当材料浸没在废水中时,发生内部和外部两方面的电解反应。 铸铁是铁、炭、碳化铁及一些杂质组成的合金。在水中,碳化铁及杂质为阴极,铁为阳极形成微观原电池;同时碳化铁又可作为阳极,活性炭等作为阴极形成宏观原电池。该法具有适用范围广、处理效果好、使用寿命长、成本低廉及操作维护方便等优点,并使用废铁屑为原料,也不需消耗电力资源,具有“以废治废”的意义。虽然铁碳微电解对于废水的处理具有一定的效果,但是通常达不到废水排放标准,因此铁碳微电解技术在废水处理中被越来越多用作与预处理阶段,并与其他方法组成连用工艺使处理后的废水达到排放标准。
厌氧处理技术提供了高浓度有机废水的高效、经济的处理方法。厌氧法工作原理是通过转化方式,在厌氧条件下降解有机污染物中的大分子转为小分子,例如:转为 CO2、H2O 和 CH4 等。厌氧法生物降解工作环节包括:水解、酸化、同型产乙酸、以及产甲烷。董龙标等运用厌氧处理工艺处理制药产生的废渣和污水研究结果表明,厌氧处理工艺高效节能,是理想的污水处理工艺之一。
相关图片展示:







        
            
