车载GNSS定位模块设计毕业论文
2020-02-17 23:05:31
摘 要
本文主要开发设计了一个车载GNSS定位器,该定位器能利用 GNSS技术对自身汽车位置进行有效定位,并将汽车的位置信息通过GPRS 技术无线通信传输出去。该定位器是采用STM32F103C8T6微控制器作为系统的主控芯片,SIM868芯片为GNSS模块和GPRS模块,选择基于GPS的定位方式;整个定位器包括电压转换模块、GPS定位模块、STM32单片机和GPRS发送模块,终端接收器是我们经常使用的智能手机。
GPS定位模块能够接收到来自GPS卫星的定位信息,并将数据发送给STM32单片机,STM32单片机将信号处理后将数据发送给GPRS模块,通过GPRS发送模块将信息传输到智能手机端,智能手机将GPRS信号转换为定位信息,然后显示在手机屏幕上,这样就实现了对汽车的定位及监管。
本文设计的GPS车载定位器具有低成本,易实现,操作简单,可靠性较高,易于制作和生产等优点,对于对车辆的定位及监管十分适用。
关键词:GNSS;GPS;GPRS;STM32;SIM868;车载定位器
Abstract
This paper mainly designs a vehicle locator based on GNSS, which can use GNSS technology to effectively locate the position of the car, and transmit the location information of the car through GPRS wireless communication technology. This locator uses STM32F103C8T6 microcontroller as the main control chip, SIM868 chip as GNSS module and GPRS module, and chooses GPS-based positioning mode. The whole positioner includes voltage conversion module, GPS positioning module, STM32 MCU and GPRS sending module. Terminal Receiver is our frequently used smartphone.
GPS positioning module can receive positioning information from GPS satellite and send data to STM32 MCU. STM32 MCU sends data to GPRS module after signal processing. Through GPRS sending module, information is transmitted to smart phone. Smart phone converts GPRS signal into positioning information, and then displays it on the screen of mobile phone. This realizes the positioning and supervision of automobile.
The GPS vehicle locater designed in this paper has the advantages of low cost, easy implementation, simple operation, high reliability, easy manufacture and production. It is very suitable for determining the location of vehicles and vehicle management.
Key Words: GNSS;GPS;GPRS;STM32; SIM868; vehicle locater
目录
第1章 绪论 1
1.1 选题背景及意义 1
1.2 国内外发展状况 1
第2章 系统总体设计 3
2.1 相关技术 3
2.1.1 GPS定位原理 3
2.1.2 GPRS简介 4
2.2 系统总体框图 5
第3章 硬件设计 6
3.1 电压转换模块 6
3.1.1 4.0V稳压电路 6
3.1.2 3.3V稳压电路 7
3.1.3 锂电池充电电路 8
3.2 STM32单片机模块 9
3.2.1 STM32简介 10
3.2.2 模块整体电路 11
3.2.3 晶振电路 12
3.2.4 STM32休眠/唤醒电路 12
3.2.5 状态指示灯电路 13
3.3 GPSamp;GPRS模块 13
3.3.1 SIM868简介 13
3.3.2 模块整体电路 14
3.3.3 SIM868启动电路 15
3.3.4 状态指示灯电路 17
3.3.5 Micro USB电路 18
3.3.6 SIM卡电路 19
3.3.7 GPRS电路 19
3.3.8 GPS电路 21
第4章 软件设计 24
4.1 系统流程图 24
4.2 休眠/唤醒程序 26
4.3 GPS定位模块 26
4.4 GPRS发送模块 27
第5章 定位测试与分析 28
5.1 系统实物图 28
5.2 定位测试 29
第6章 总结与展望 30
参考文献 31
附录:定位器整体电路图 32
致谢 33
第1章 绪论
1.1 选题背景及意义
随着经济的快速发展,我国的汽车行业迅速发展,每年都有几百万辆新汽车进入社会。[1]交通问题已经日益严峻,在拥堵的城市公路上,车辆的位置信息在车辆的监管上十分重要,同时生活中时常发生车主在停车一段时间后无法寻找自己车辆的现象。车载定位器, 在日常驾驶汽车的过程中越来越有必要。据统计,截至到2013年底,国内私家车保有量为1.37亿辆, 支持使用车载智能终端的私家车比例超过90%。[2]然而对于如此庞大且日益增长的私家车数量, 绝大部分车主只能通过专业人员来了解自己的车况。[3]
因此,本论文开发了基于 GNSS 的车载定位系统,这套系统可以将车辆的位置信息通过GPRS 技术传输到手机,车主可以在汽车行驶中实时了解自己的位置信息,停车后也可以在完全陌生的环境下寻找到自己的车辆,避免了时间、金钱的浪费;方便车主对汽车进行跟踪监测、有效管理,解决在日常行车中遇到的各种交通问题。
1.2 国内外发展状况
GNSS,全名为Global Navigation Satellite System,指的是全球导航卫星系统,本人通过互联网、中国知网查阅了大量的相关期刊和论文,并且了解到: 全球一共有四大GNSS系统:格洛纳斯(GLONASS)、全球定位系统(GPS)、伽利略(Galileo)和北斗系统(BeiDou Navigation Satellite System)。还有一些基于地面站或卫星的增强系统,例如欧盟的EGNOS、印度的GAGAN、美国的WAAS、尼日尼亚的NIG-GOMSAT-1以及日本的MSAS。
国外最著名的GNSS系统是美国的GPS。GPS起始于1958年美国军方的一个项目,是其独霸全球的重要战略部署,在1964年投入使用。从该系统开始建设截至到1994年3月,美国已经成功将24颗GPS卫星送入预定轨道,这使得GPS全球定位系统拥有高达98%的全球覆盖率。从2013年起,美国开始发射Block III卫星,其中附加了能够与Galileo公开服务信号相互操作、日本QZSS共用的民用信号——L1C。相比于以前发射的卫星,Block III卫星在抗干扰能力更强上,精度更高,并且其可控的完好性性能更为优秀。由于GPS技术所具有的全天候、高精度和自动测量的特点,是当下最为先进的定位和测量手段之一。目前,GPS系统已经融入了社会生活的各个方面,定位导航已经成为人们社会生活中不可或缺的需求。
和中国同为新兴发展中国家的印度,也有大量的企业及高校投入到对车辆定位导航领域的探索中。例如印度的一所高校开发了一套完整的车联网应用系统,该系统具有远程的车辆诊断功能。它利用车载终端,采集K线、LIN线及CAN总线数据,收集车辆故障信息码等信息,并通过GPRS网络传回实验室内,系统硬件成本低,功能实用。[4]
我国正在建设的自主发展、独立运行的全球卫星导航系统是北斗卫星导航系统(Beidou Navigation Satellite System,BDS)。北斗卫星导航系统空间段由5颗静止轨道卫星和30颗非静止轨道卫星组成。[5]北斗卫星导航系统目前已经可以为整个亚太地区提供准确的无源定位以及导航、授时服务。[6]预计未来两到三年,北斗系统就能够实现全球全覆盖。
百度当前推出的车联网解决方案之一百度CarLife,是国内第一款跨平台的车联网解决方案。[7]该方案的车辆端可以很好的适配Linux操作系统、QNX操作系统和Android操作系统。用户手机的操作系统无论是Android还是IOS操作系统,百度CarLife都可以提供稳定而精确的服务,基本上覆盖了95%以上的智能手机用户。相比于其他车联网系统,百度CarLife的用户不必纠结于手机的操作系统,任何手机连接到车载系统上都只需要连接一根数据线或者连接到WiFi即可,用户只需要少量的操作就可以安全、快捷地享受CarLife提供的优质服务。
随着5G的火热,快速且安全的通讯方式为车联网的进一步发展起到了的推动作用,中国在车联网方面的研究,已经逐渐走到了世界的前列。
第2章 系统总体设计
2.1 相关技术
2.1.1 GPS定位原理
美国的GPS总共发射了24颗卫星,其中有21颗作为工作卫星,还有3颗是备用卫星,它们都位于距地球表面20200km的高空,运行周期为半天十二小时。卫星均匀分布在6个轨道倾角为55°的轨道面上(即每个轨道面4颗)。[8] 这使得任何GPS定位器在任何地方都可接收到四颗或四颗以上的卫星的位置信息。而GPS定位,实际上就是通过这四颗或四颗以上已知位置的卫星来确定我们车载定位器的位置。
在轨道面正常运行的GPS卫星,无时不刻都在通过卫星信号向全世界广播自己的当前位置坐标信息。车载定位器可以通过天线接收到这些信息,并且能够解析这些信息(这是每一个GPS芯片的核心功能之一)。在发送位置信息的同时,也会附加上该数据包发出时的时间戳。GPS接收器收到数据包后,用当前时间(当前时间以GPS接收器的时间为准)减去时间戳上的时间ti(i=1,2,3,4),我们就可以得到数据包在空中传输的时间ti(i=1,2,3,4)了,我们已知信号在空间中传播的速度是光速c,所以距离就为di=c*ti。
d2
d1
d4
d3
图2.1 GPS定位原理图
如图2.1所示,我们可以得到GPS卫星的具体位置以及GPS接收器到各卫星的距离di(i=1,2,3,4),由几何知识我们可以知道,在图中的三维空间中,要确定一个点的具体位置,必须知道四个或以上卫星的位置和距离(这也就是为什么一定要收到四颗或四颗以上卫星的信号的原因):以各卫星为圆点,di为半径画球,四个球面的交点即为定位器的位置。假设定位器的三维坐标为P(X,Y,Z),而四个GPS卫星的坐标已知为Si(Xi,Yi,Zi),我们因此可以得到下列四个方程式:
(X-X1)2 (Y-Y1)2 (Z-Z1)2=d12------------------------(2.1)
(X-X2)2 (Y-Y2)2 (Z-Z2)2=d22------------------------(2.2)
(X-X3)2 (Y-Y3)2 (Z-Z3)2=d32------------------------(2.3)
(X-X4)2 (Y-Y4)2 (Z-Z4)2=d42------------------------(2.4)
解出上面的三元二次方程方程组,我们就可以得到GPS定位器的具体坐标,转换为经纬度信息后,得到在地图上相应的位置
2.1.2 GPRS简介
通常我们所说的GPRS(General Packet Radio Service)指的是通用分组无线服务技术,是介于第二代和第三代之间的一种传输技术,通常称为2.5G。[9]它采用与GSM相同的频段、频带宽度、突发结构、无线调制标准、跳频规则和相同的TDMA帧结构。[10]
与GSM相比,GPRS在原有的GSM网络的基础上引入了新的网络节点:一个是GPRS服务支持节点,称为SGSN,而另一个是网关支持节点,称为GGSN。其结构如图2.2所示:
图2.2 GPRS原理图
当GPRS模块通过接口从TM32单片机获得数据后,会将处理后的GPRS信号(PDU)发送到附近的基站。分组数据会被SGSN进行封装,然后SGSN会通过GPRS骨干网把数据发送给GGSN。接着GGSN会再对数据进行一定的处理,最后发送到相应的网络中。
GPRS网覆盖范围广、数据传输速度快、通信质量高,支持TCP/IP协议,可以直接与Internet互通。因此,GPRS具有无可比拟的性价比优势,满足本次设计的所有要求,是本设计通信方式的最佳选择。
2.2 系统总体框图
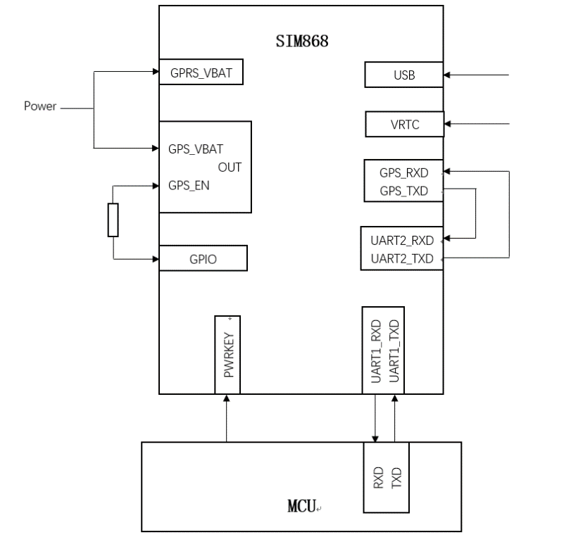
整个车载定位器系统包括五个模块:电压转换模块、GPS定位模块、STM32单片机、GPRS发送模块和一部智能手机,其中GPSamp;GPRS模块均集成在SIM868模块上,其工作原理如图2.3所示:
图2.3 系统总体框图
GPS定位模块能够接收到来自GPS卫星的定位信息,并将数据发送给STM32单片机,STM32单片机将信号处理后将数据发送给GPRS模块,通过GPRS发送模块将信息传输到智能手机端,智能手机将GPRS信号转换为定位信息,然后显示在手机屏幕上。
第3章 硬件设计
3.1 电压转换模块
电压转换模块作为整个定位器的供电模块,是整个电路中最基本、最不可或缺的部分,也是本课题第一个设计的部分。
3.1.1 4.0V稳压电路
车载电源一般电压在12V(即电瓶电压)左右,即使有USB车充通过Micro USB串口为定位器供电,电压仍高达5V,而SIM868生厂商建议的工作电压为4.0V,为了避免高压损坏SIM868模块,消除安全隐患,使电压下降到SIM868可承受的范围,本设计使用了MP2303A同步整流降压调节器作为我们4.0V稳压电路的主要元件,如图3.1所示:
图3.1 4.0V稳压电路
整个电路参考MP2303A数据手册设计,由Micro USB提供的VBUS作为输入电压。IN引脚是电源输入端,为整个调节器供电,工作电压为4.7V~28V, 旁接一个较大的电容C06接地,以消除输入端的噪声;EN引脚是使能端,通过一个分压电阻R03与IN引脚相连,控制整个模块工作;SS引脚是软启动控制端,其作用是控制软启动周期,将电容C07从SS引脚连接到地以设置软启动周期,数据手册建议为0.1μF,软启动时间为15 ms;SW引脚是功率开关输出,是为输出供给功率的节点,L01和C09作为LC滤波器接到SW引脚和负载之间;BS端是高压侧栅极驱动BOOST输入,为高压侧N沟道MOSFET开关提供驱动,在SW引脚与BS引脚之间连接一大小为0.01μF的电容C08,为高压侧开关供电;COMP引脚为补偿节点,用于补偿控制回路,在COP引脚和GND引脚间接入R02和C04,C05组成的RC网络以补偿控制回路;FB引脚是反馈输入端,反馈值为0.8V,在该引脚、地端和输出端之间连接电阻R04、R05,通过电阻分压的方式控制输出电压。
电路的输出是由FB端口决定的,该端口的电压为0.8V,而电路中的D02为肖特基二极管,管压降约为0.2V,由电路图可知:
VCC=0.8*(R04 R05)/R05-0.2≈4.0V,-----------(3.1)
该电压在3.4V~4.4V的范围内,既能够保证SIM868正常工作,也不会损坏SIM868模块。
3.1.2 3.3V稳压电路
整个定位器的主要芯片有两个:STM32和SIM868,上一节中已经提到,SIM868的工作电压为4.0V,但是STM32的工作电压在3.3V左右,所以仍然需要一个3.3V的稳压电路来保证STM32的正常工作。
图3.2 3.3V稳压电路
以上是毕业论文大纲或资料介绍,该课题完整毕业论文、开题报告、任务书、程序设计、图纸设计等资料请添加微信获取,微信号:bysjorg。
相关图片展示:









