徐州市科技园B区1号办公楼设计毕业论文
2020-06-06 09:53:50
摘 要
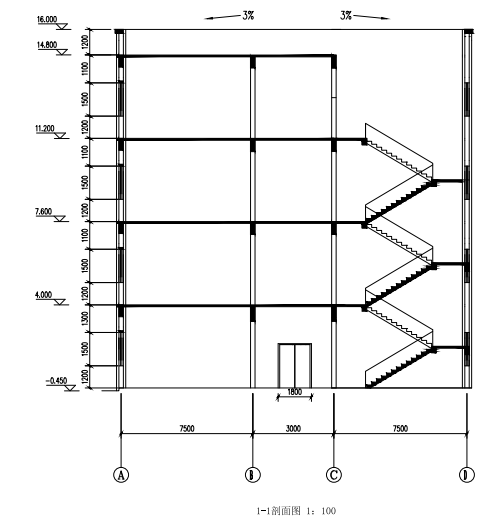
本毕业设计题目是徐州市科技园B区1号办公楼设计,结构体系为四层钢筋混凝土框架结构,首层层高为4m,其余层层高均为3.6m,建筑面积为3024平方米。
本设计选取了轴线为5的框架进行计算,计算书内容主要包括:构件尺寸的初步确定、框架的计算简图、荷载计算、框架在水平及竖向荷载作用下的内力分析、内力组合、梁柱截面设计、板设计、楼梯设计及基础设计。其中地震作用采用底部剪力法确定,水平荷载作用下的内力采用D 值法计算,竖向荷载作用下的内力采用迭代法计算。内力组合考虑无地震作用效应组合和有地震作用效应组合两种情况。由于此框架属于三级框架,所以没有进行节点抗震设计,但是在梁柱截面设计时采用了“强柱弱梁”的设计原则。楼梯采用板式楼梯。基础采用柱下独立基础。在设计过程中采用电算对手算结果进行校核,及时发现设计中的错误以及与电算不同的部分,找出原因。
关键词:框架结构,内力组合,截面设计,柱下独立基础
Abstract
The theme of this graduation design is a working and training center in Guangzhou,the structure system is a four stories reinforced concrete framework, the height of all floor is 4.2m,the total building area is2762 sq.m.
This design choose axis 2 frame calculate to load to go on . The content calculation include:defining magnitude of frame members and calculated sketch of frame, counting loads,calculating internal force of section underlying horizontal and vertical loads, combining
internal force, designing section of beams and columns and plate and staircase, and design of
the foundation. Horizontal earthquake load is calculated by equivalent base shear method, internal force is calculated underlying horizontal loads by D value method, internal force is
calculated underlying vertical loads by iterative method. Earthquake is and not is considered inCombination of internal force. For this frame belonging to third class frame, not counting
intersection of beams and columns, but this design obeys the design philosophy of “strong
column and weak beam”. Staircase is plate-type. The foundation is independent foundation undercolumn.Hand computation is checked by computer in the course of counting, aiming to findingerror and analyzing reason.
Key words:Frame structure, Combination of internal force, Section design, Independent foundation under column
目录
第一章 结构选型与布置 1
1.1结构选型 1
1.2结构布置 2
第二章 确定计算简图 11
2.1确定计算简图 12
2.2梁、柱截面尺寸 14
2.3材料强度等级 14
2.4荷载计算 14
第三章 框架内力计算 21
3.1恒载作用下的框架内力 21
3.2活载作用下的框架内力 28
3.3风荷载作用下的框架内力 43
3.4地震作用下横向框架的内力计算 46
第四章 框架内力组合 56
4.1框架梁弯矩调幅计算 56
4.2横向框架梁内力组合 61
4.3横向框架柱内力组合 66
第五章 框架梁柱界面设计 67
5.1框架梁截面设计 67
5.2框架柱截面设计 78
第六章 楼梯结构设计计算 79
6.1梯段板计算 79
6.2 休息平台计算 80
6.3梯段梁TL1计算 81
第七章 现浇楼面板计算 82
7.1 跨中最大弯矩计算 83
7. 2 求支座中点最大弯矩 84
7.3 A区格 85
7.4 F区格﹍﹍﹍﹍﹍﹍﹍﹍﹍﹍﹍﹍﹍﹍﹍﹍﹍﹍﹍﹍﹍﹍﹍﹍﹍﹍﹍﹍﹍﹍﹍﹍﹍﹍ 86
第八章 基础设计 89
8.1 荷载计算 89
8. 2 确定基础底面积 90
8.3 基础结构设计 92
第九章 PKPM软件在框架结构设计中的应用 96
参考文献 104
致谢 106
第一章 结构选型与布置
结构设计的主要内容包括:结构选型、结构布置、确定计算简图、选择合理简单的计算方法进行各种荷载作用下的内力计算、荷载效应组合、截面配筋设计(计算、构造)、绘施工图。
1.1结构选型
结构选型是一个综合性问题,应选择合理的结构形式。根据结构受力特点,常用的建筑结构形式有:混合结构、框架结构、框架-剪力墙结构、剪力墙结构(一般剪力墙结构、筒体剪力墙结构、筒中筒剪力墙结构)等。混和结构主要是墙体承重,由于取材方便,造价低,施工方便,我国广泛地应用于多层民用建筑中,但砌体结构强度低、自重大、抗震性能较差,一般用于7层及7层以下的建筑。框架结构是由梁、柱构件通过节点连接形成的骨架结构,框架结构的特点是由梁、柱承受竖向和水平荷载,墙体起维护作用,其整体性和抗震性均好于混合结构,且平面布置灵活,可提供较大的使用空间,也可构成丰富多变的立面造型,但随着层数和高度的增加,构件截面面积和钢筋用量增多,侧向刚度越来越难以满足设计要求,一般不宜用于过高的建筑,现浇框架结构适用最大高度见表1-1。框架-剪力墙结构是在框架中设置一些剪力墙,既能满足平面布置灵活,又能满足结构抗侧力要求,一般常用于10~25层的建筑中。剪力墙结构是依靠剪力墙承受竖向及水平荷载,整体性好、刚度大、抗震性能好,常用于20~50层的高层建筑。
现浇钢筋混凝土房屋适用的最大高度(m) 表1-1
结构体系 | 设防烈度 | |||
6 | 7 | 8 | 9 | |
框架结构 | 60 | 55 | 45 | 25 |
结构选型时需充分了解各类结构型式的优缺点、应用范围、结构布置原则和大致的构造尺寸等,根据建筑物高度及使用要求,结合具体建设条件,进行综合分析,从而做出最终的决定。结构设计中,选择合理科学的建筑结构体系非常重要,是达到既安全可靠又经济合理的重要前提。
相关图片展示:









