徐州某高层酒店给水排水设计毕业论文
2020-06-20 19:01:24
摘 要
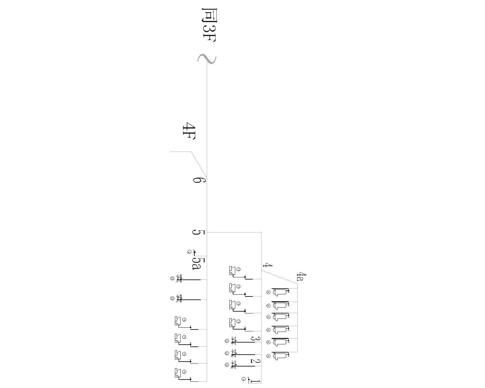
给水系统采用分区供水,-1到4层为低区,由市政管网直接供水。5到11层为中区,12到16层为高区。采用上行下给的供水方式,由变频调速泵直接向中、高区管网供水;热水供应系统同样采用上行下给全日制机械全循环方式,系统的竖向分区同给水系统。
本酒店为一类高层建筑,火灾危险等级为中危Ⅰ级。消火栓系统不分区,管材采用普通碳素无缝钢管。
本工程污、废系统采用合流制,室内±0.000以上污废水重力自流排入室外污水井,地下室污废水采用潜污泵提升至室外设置的化粪池,排水立管采用伸顶通气和专用通气立管的通气方式;屋面雨水采用重力流雨水斗,侧面外排引向室外周围地面散排。
关键词:酒店建筑 给水排水设计 系统分区
Xuzhou a high-rise hotel water supply and drainage design
Abstract:This is a water supply and drainage design for a hotel in Xuzhou, including water supply system, hot water supply system ,fire control system, drainage system and roof rainwater drainage system five system.
Water supply system using water rationing, 1 to 4 layer is low area, water supply directly by the municipal pipe network.5 to 11 for the central district, 12 to 16 is high area.Upside down to the water supply method, frequency control of motor speed pump directly to the medium and high area pipeline network of water supply;Under the hot water supply system also uses up to full-time machinery full circulation way, with the water supply system of the vertical division system.
This hotel is a kind of high-rise buildings, fire danger rating for moderate Ⅰ level.Fire hydrant system partition, pipe using common carbon seamless steel pipe.
Pollution and waste system adopts the confluence system of this project, indoor more than ±0.000 polluted waste water gravity gravity into the outdoor sewage well, the basement sewage using submersible sewage pump, up to the outdoor sewage well drainage riser and roof ventilation and use special ventilation ventilation mode of the riser;Roof runoff with gravity flow of rainwater, the side outside to outdoor ground scattered around.
Keywords: hotel architecture;water supply and drainage design;system subarea
目录
第一章 设计资料 6
1.1 工程概况 6
1.2 设计条件 6
1.2.1 给水水源 6
1.2.2 排水条件 6
1.3 设计任务 6
1.3.1 设计内容 6
1.3.2 完成工作量 7
第二章 建筑生活给水系统 7
2.1 给水系统的组成 7
2.2 生活给水系统的竖向分区 7
2.3 生活用水量的计算 8
2.4 给水方案的确定 9
2.5 水池及水表的计算 10
2.5.1 水池容积的确定 10
2.5.2 水表的选择 10
2.6 管道的布置 11
2.7 给水管网水力计算 12
2.7.1 低、中、高区管网水力计算 12
2.8 设备的计算与选择 18
2.8.1 中区生活给水泵的计算与选择 18
2.8.2 高区生活给水泵的计算与选择 19
2.9 给水设备的设置 19
2.10给水管材的选择 20
第三章 建筑消防系统 20
3.1 消防给水系统方案以及参数的确定 20
3.1.1 建筑类别及火灾危险等级的确定 20
3.1.2 建筑消火栓用水量标准 21
3.1.3 高层建筑消防用水量计算原则 22
3.1.4 徐州某高层酒店的消防给水系统技术参数的确定 22
3.2 室内消火栓系统的竖向分区 23
3.3 室内消火栓系统的布置 23
3.3.1 室内消火栓管网布置 23
3.3.2 室内消火栓的布置 23
3.4 消火栓系统设计计算 25
3.4.1 消防水箱贮水量计算 25
3.4.2 消防水池贮水量计算 25
3.4.3 消火栓栓口所需压力 26
3.4.4 最不利点消火栓所需的压力和实际射流量 27
3.4.5 消防管网的水力计算及增压设备的选择 28
3.5 室外消火栓的布置 31
3.6 自动喷水灭火系统 31
3.6.1 自动喷水灭火系统的设置场所 31
3.6.2 自动喷水灭火系统的类型 31
3.6.3 自动喷水灭火系统的组成及组件 32
3.6.4 自动喷水灭火系统的水力计算 34
3.6.5 增压设备的选择 36
3.6.6 校核 37
第四章 建筑生活排水系统 38
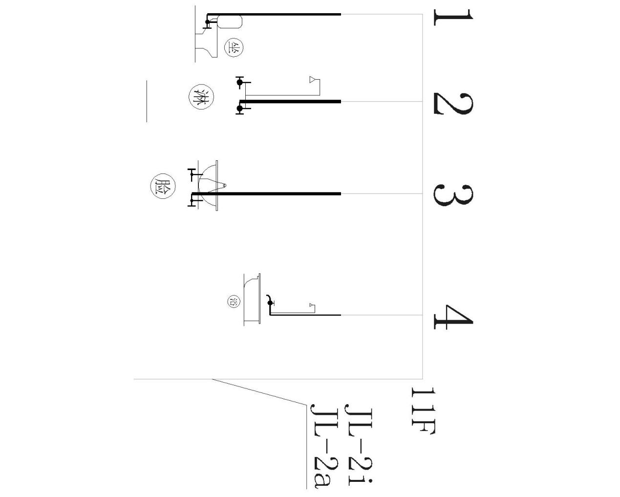
4.1 排水系统的分类 38
4.2 排水系统的组成 38
4.3 排水系统类型的选择 38
4.4 排水系统材料的选择 39
4.5 排水系统的附件 40
4.6 排水方案确定 40
4.7 排水管道的敷设 40
4.8 通气管计算 41
4.9 排水管道水力计算 42
4.9.1 排水定额及设计秒流量 42
4.9.2 排水管网的水力计算 43
4.10 污水局部处理和局部提升构筑物 56
4.10.1 污水提升 56
4.10.2 化粪池的计算 56
第五章 建筑屋面雨水排水系统 57
5.1 屋面雨水排水系统的设计 57
5.1.1 屋面雨水排水系统的分类 57
5.1.2屋面雨水排水系统的组成 57
5.1.3 管道的布置与敷设 57
5.1.4 屋面雨水排水系统的选择 58
5.2 雨水排水系统的水力计算 58
5.2.1 雨水量计算 58
第六章 热水供应系统 61
6.1 热水供应系统的分类 61
6.2 热水供应系统的组成 61
6.2.1 热媒系统(第一循环系统) 61
6.2.2 热水供应系统(第二循环系统) 62
6.2.3 附件 62
6.3 热水供应方式 62
6.4 热水供应系统的热源 62
6.5 热水供应系统的加热设备 63
6.6 热水供应系统管材的选择 63
6.7 热水管道的敷设 63
6.8 热水量和耗热量的计算 64
6.8.1 热水量的计算 64
6.8.2 耗热量的计算 65
6.9 热水加热及贮存设备的选择和计算 65
6.10 热水配水管网的计算 67
6.10.1 配水管网水力计算 67
6.10.2 热水循环管网的计算 70
结 论 77
参考文献 78
致 谢 79
第一章 设计资料
1.1 工程概况
1、本工程为徐州某高层(16层)酒店建筑给水排水设计,本工程位于徐州市云龙区,和平路以北,香溪左岸D区,地上十六层、地下一层,建筑高度61.3米,总建筑面积24449.1平方米。建筑地下一层为浴室、设备用房,一至四层为餐饮,五至十六层为旅馆。
2、该酒店建筑为一类高层建筑。结构形式采用框架剪力墙结构,建筑耐久年限:50年,抗震设防烈度:7度,耐火等级一级。
3、室内地坪标高0.000相当于相当于黄海高程34.45m,室内外高差0.3m。
相关图片展示:









