基于窄带物联网的明渠流量远程监测终端设计毕业论文
2020-04-09 15:24:11
摘 要
随着物联网技术的不断发展,窄带物联网作为一个新的分支,现在已展现出了它极大的优势。现阶段对于水资源的配置、保护和节约的问题来说,能够实时监控明渠流量就显得尤为重要,而先前的明渠流量计在线性和及时性较差,不能够及时反映明渠流量的现状。窄带物联网技术当今正在兴起,借助窄带物联网成本低,功耗小,覆盖广但运用方便的优势,将明渠流量计通过单片机接入窄带物联网,在手机等移动智能终端直接接收明渠流量计的实时数据,就可以对明渠的流量做到实时的监控,从而更有效的对水资源做到合理的利用和分配。
本课题通过对明渠流量计和窄带物联网做相应介绍,主要以超声波明渠流量计为主,介绍了流量计的原理。同时也对窄带物联网的优势做了相应的介绍。
在系统设计方面,主要包含ADC0832数据采集模块以及RS232接口模块, 通过MAX232进行电平转换。将流量通过RS232接口实现流量计流量的采集及上传,最终通过窄带物联网将流量信息在移动终端的面板上显示,从而实现对流量的实时监测。
关键词:窄带物联网;明渠流量监控;水资源;
Abstract
With the development of Internet of things, narrow-band Internet of things (IOT) has shown great advantages as a new branch. At present, it is very important to monitor the flow of open channel in real time for the problem of water resources allocation, protection and saving. The previous open channel flowmeter is less linear and timeliness, and it can not reflect the current situation of open channel flow in time. The technology of narrowband Internet of things is rising today. With the advantage of low cost, small power consumption, wide coverage and convenient application, the open channel flowmeter is connected to the network of narrow band through the single chip microcomputer, and the real-time data of the open channel flow meter can be received directly by the mobile intelligent terminal, such as mobile phone, and the flow of the open channel can be realized in real time. Monitoring, so as to make rational use and distribution of water resources more effectively.
This topic introduces the open channel flowmeter and narrow-band Internet of things, mainly based on ultrasonic open channel flowmeter, and introduces the principle of the flowmeter. At the same time, the advantages of narrowband IOT are also introduced.
In terms of system design, it mainly includes ADC0832 data acquisition module and RS232 interface module, and performs level conversion through MAX232. The flow of flowmeter is collected and uploaded through the RS232 interface, and the flow information is displayed on the panel of the mobile terminal through the network of narrow band, thus the real-time monitoring of the flow is realized.
Key words: NB-IoT; open channel flow monitoring; water resources;
目录
第一章 引言 1
1.1研究背景 1
1.2课题研究的目的与意义 1
1.3本课题国内外研究现状 2
1.3.1 国内外窄带物联网发展现状 2
1.3.2 国内外明渠流量监控现状 3
1.4 课题研究的主要内容 3
第二章 明渠流量计测量原理 4
2.1 明渠流量计 4
2.2 超声波明渠流量计工作原理 5
2.3本章小结 8
第三章 窄带物联网 9
3.1发展历程 9
3.2 标准特性 9
3.3 窄带物联网标准的应用 10
3.4 本章小结 12
第四章 系统设计 13
4.1 系统框图设计及分析 13
4.2 RS232 14
4.2.1接口原理图 14
4.2.2 电脑通过RS232与单片机连接 15
4.2.3 RS232的DB9引脚定义 16
4.3系统程序框图 17
4.4 软件设计流程图 18
4.5 程序设计 19
4.5.1 ADC0832采集程序设计 19
4.5.2 发送程序设计 20
4.6 本章小结 20
第五章 总结与展望 21
参考文献 22
致 谢 23
第一章 引言
1.1研究背景
作为物联网通信技术的一个重要组成分支,窄带物联网技术的现代性和创新性,在业界得到了的高度关注,慢慢演变成物联网通信区域的一个主要研究方向。合理利用窄带物联网技术,对于短距离通号传输和广域物联网通号传输有极大的便利,现已成为由3GPP标准组织率先提出的新的窄带蜂窝通信技术。【1】
对比窄带物联网技术和传统物联网技术可以发现,窄带物联网技术拥有极为强大的兼容性。通过蜂窝物联网无线技术,构建了新的技术样式,可在使用的时候有效解决好室内网络覆盖的问题,允许接入各种分辨率的设备,并且在低时延现象的问题上比较敏感,能够行之有效的减少物联网通信网络建设的基础成本,进一步改进物联网通信网络的结构,保证物联网通信技术功耗低的优势。目前,在发展窄带物联网的过程中,依然存在着很多的困难,为了进一步促进中国物联网的有序发展,需要对各种情况进行模拟和仿真,明确窄带物联网技术的应用特点。
针对窄带物联网技术的应用现状,充分论证了低功耗、成本低、效率高、覆盖范围广的四个基本特征, 就实际运用效果而言,它远远高于其他类型的物联网通信技术。具有适应性强、扩展范围广、高效传输等优势。它是一种便捷的新型通信技术。目前,我国一些企业已经开始大面积投入窄带物联网技术,并获得了三代全球合作伙伴的“通行证”。建成了一套完善的技术规范标准,表现出了我国对窄带物联网技术的高效性以及迅速性,在企业的个性化要求方面,我们也能做到有效的满足,并且能很好地带领该产业的前进。更为重要的是, 我国很多行业都已经开展了对窄带物联网技术相关的核心技术的研发, 为将来在该技术的研发上夺取主动权。【2】
1.2课题研究的目的与意义
伴随着社会的进步,工农业用水加上居民生活用水量,社会用水量日益增加,国家对于水资源的管控也越来越紧张,另外加上水资源的污染,也使得可被我们使用的水资源变的越来越少。也正因为如此,于2012年,国家在提出了在全国范围内开展水资源管控能力项目,明确道出水资源就是生命的根源、生态的基本、生产的必要因素,把水利上升到关乎经济、生态、国家安全的高度,并且明显提出水利项目建设有很强的公益、基础、战略意义,是我国对水利和水资源认识的又一次巨大提升。
对于水资源的配置、保护和节约的问题,构建水资源管理的三条界限,保证水资源管理问责制和考核体制,确保水资源管理任务的完成,是严格履行水资源管理制度的关键所在。一、确定水资源开采使用管控红线,实行严格的取水及用水的总量管控;二、确定用水效率管控红线,坚决制止浪费水资源;三、在水功能区,确立能够接纳污水上限的红线,严格把控入河湖所排入的污水的总量;四、树立水资源管理的问责制并加强考核制度,加强对水质水量的监测能力建立。严格实行水资源管理制度,加强对水资源的监测及基础设施建设,实时把控水的来、取、用和排的动态,保证信息能够实时准确的传输。所以,对明渠流量进行实时在线且有效的监测就显得尤为重要了。
测量水任务的开展是对需灌溉区域管理工作的主要组成部分,是需灌溉区域水资源合理配置、有序调度、节约用水、合理收费的重要支撑,是增强对需灌溉区域经营管理的重要措施,也是关乎供用水两方直接利益的一项重要任务。对明渠流量进行在线实时监测,可以准确得到需灌溉区的所需水量,在用水或调水方面有着极为重要的控制意义,便于明渠各管理处对灌区统筹治理。
1.3本课题国内外研究现状
1.3.1 国内外窄带物联网发展现状
近年来,物联网产业的发展是举世瞩目的,中国政府一再表示大力鼓励物联网产业的发展。2017年6月,工信部发布了《全面推进移动物联网发展建设的通知》正应证了这一点。
预计到2020年,中国窄带物联网基站的规模建设将达到150万,实现全国范围信号覆盖。这一则公告的推出,引起了各方的极大关注,为窄带物联网技术的发展指出了明确方向,也表明了中国发展窄带物联网技术的坚定信心。
在网络部署中,伴随中国移动、联通、电信的积极推广,使得窄带物联网网络的基础设施建设和窄带物联网芯片的成本得到了下降,我们将看到更多的窄带物联网应用落成。目前,全球商用窄带物联网网络已经达成了21个,其中包含:VDF西班牙、德电荷兰、德国德国、中国电信、中国移动、中国联通、韩国LGU 等。2018的商业网络的数量预计将已达到100张。2017年6月底,中国电信宣布完成世界上第一个全覆盖的新一代物联网(窄带物联网)商业网络,促进国际物联网产业链的发展,并提供商业经验。世界上其他运营商也在部署窄带物联网,加速智能互联时代。
目前,窄带物联网产业发展还存在一些问题急需解决,如产品成本高、整体运力不足、技术标准化互操作问题、安全机制不够完善、个性化应用平台等,都还需要大力发展。
1.3.2 国内外明渠流量监控现状
目前,国内外研究对明渠流量的监测主要焦点集中于:
A.量测仪器的探索:电子技术的发展,随之而来的是量测仪器的繁荣发展,新型的量测仪器要求自动化程度高,测量准确且携带方便,例如:超声波明渠流量测量仪,多普勒明渠流量测量仪等。
B.测量方法的改善探究:如何快速准确地测量明渠水流,一般两点法、水位流速法、速度等值线法等研究方法。
C. 横断面流速分布问题的研究:明渠水流运动规律的研究是对明渠断面流速分布规律的研究的基础。在流量测量中获得流速的关键因素,主要集中在水槽的研究和FLUCNT的数值模拟,同时得出了在不同区域,流速的分布也不相同的结果。其中主要有对数分布和抛物分布两种分布方式。然而,由于新的量测手段价格较高,无法在大面积推广,新的测量方法在一定程度上受测量环境的影响,只能在某些特定情况下才会使用。
1.4 课题研究的主要内容
本课题主要研究明渠流量计架构在窄带物联网基础上,对明渠流量实施实时监控的探索,主要内容如下:
- 对测量系统流程整体的设计;
- 通过特定的协议(窄带物联网),实现对明渠流量数据实时自动化采集;
- 数据上传方式的设计;
- 远程移动终端实时数据监测;
第二章 明渠流量计测量原理
2.1 明渠流量计
明渠流量计是一种用于测量非完全管状明渠自由面自然流量的流量计。对非完全管流通的水通道流量的测量称为明渠流量测量。明渠流量测量的仪器称为明渠流量计。对于渠道流量的量测,通常是在通道上安装水槽堰。水槽堰的作用是将流量信息通过对应关系变为液位信息。液位计用来测量槽堰、流量转换器中的液位,并根据各种槽堰的液位流动关系计算液体流速。【3】
通道内液位与槽堰的液位通常有明显正相关关系,一般渠道内的液位和流量之间无明显关系。因为渠道内部的形状各不相同,同时水下的情况也会出现很大的出入。而槽堰就不一样了,因为堰的间隙或槽的宽度远小于渠道的断面积。所以在槽堰中液位和流量的关系主要与几何外形相关,集合形状相同的话,流量与液位就存在明显的正相关。即使放置在不同的通道中,相同的槽堰也会监测出相同的液位信号。槽堰将流量转化为液位。明渠流量计一般采用超声波明渠流量计和静压明渠流量计两种类型。
采用超声明渠流量计测量非满通道和明渠的流量。超声波明渠流量计的应用领域是:
- 城市供水导流渠道;
- 电厂冷却水引水渠道;
- 污水流入;
- 工矿企业的废液排放;
- 水利工程和农业灌溉渠道;
明渠流量计的形状除圆形以外,还有:①U形、②梯形、③矩形等形状。
2.2 超声波明渠流量计工作原理
传统的时差法量测公式如下:
(1)
公式(1)中: h:所需液位的高度;
H:超声波探头和明渠底部的间隔;
V:大气中超声波的速度;
t:超声波传播时间;
通过以上公式可知,当 H 已知时,液位测量的准确性主要依赖于超声波速度 V 的量测精度和超声波传递时间 t 的量测精度。
超声波速度的量测方式主要由:①温度传感器修正法②声障板回波修正法,两种。
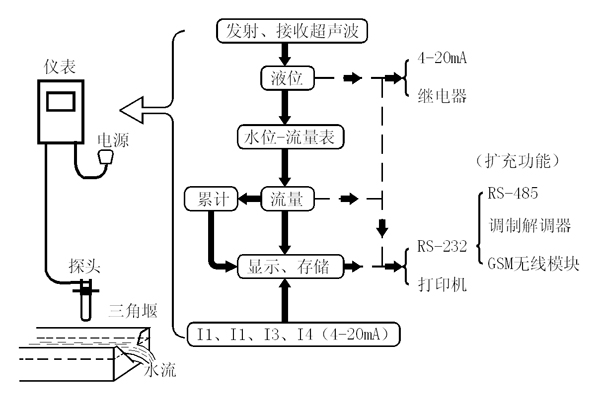
超声波明渠流量计由超声波探头和带校准杆的显示控制仪表组成,其工作原理如图1所示。将探头固定安装在堰槽上方,与水面相对。仪器悬挂在室内的墙上或置于标准柜内。当测量明渠中的液体流量时,首先用超声波测量探头辐射表面与液体表面的距离D,D将探头辐射表面的距离L降低到最低水位(水位=0),而T中的电流水平H减小。获得了水体积堰槽。然后根据堰液位的H流量Q与堰水位之间的关系计算瞬时流量。通过测量液位数据,可以通过测量标准堰槽的水位数据来获得流量数据。表划分的越详细,流值的误差就越小,但存储数据的空间就需要的越大。考虑到实际应用时的需要,液面流动适用于40组等步长数据,其他液体点流量的数据可通过差值运算获得。【4】

图1 超声波明渠流量计示意图
具有校准棒的超声波探头的功能是以一定频率周期性地发射超声波脉冲,并接收目标反射的回波。通过滤波放大回波,然后由AD转换器处理采样时间,以获得校准棒的回波时间和液体表面的回波时间。当校准棒的长度确定时,可通过比例方式得到,从而去除了环境不同温度、压力和湿度对超声波在的影响。【5】
公式如下:
由:
(2)
可得:
(3)
其中:
C :环境中的超声波的速度;
E1:校准杆的长度;
t1:校准杆反射的回波时间;
D :液面与超声探头的间隔;
t2:液面反射回波的接收时间。
由公式(3)可知,液面与探头的间隔只与液面和校准杆接收回波信号时间的比值以及校准杆的长短相关,回波时间的测量精度只由液位的测量精度决定。【6】
如下图2所示,明渠流量计可以通过记录探头发射超声波的时间和接收超声波的时间,通过计算两个时间的差值,在内部CPU计算后可以得出对应的液位值,然后再比对内部手动输入的液位流量表,将液位信号装变成与之对对应的流量信号,并输出。
水位流量计作为储存于明渠流量计中的内部数据。可以经过仪器上的按键输入到明渠流量计的存储器中。该仪器的水位流量计以相同的水位间隔存储。明渠流量计根据时间积累瞬时流量,得到累加流量。当累积8位时,自动返回到零,再次累积。仪表本身无论是8位累积到零或被人密钥清除,都将会记录恢复到零的时间。然后显示在显示屏的“累计流量清除时间”的位置上。【7】

图2 明渠流量计工作原理
在明渠流量计中,有两套记录储存器用于记录历史数据。一组用于记录时、日和月的历史数据记录。如果只存储流量和累计流量,则可以存储两年以上的记录;对液位以及i1、i2、i3和i4进行同时储存时,则只能存储四个月。另一种是用来存储每个分区的历史,如果只有存储流量和累积流量,则记录可以存储超过八小时,对液位、I1、I2、I3和I4进行同时储存时,只能存储四小时。这两组内存是循环使用的,也就是说,当内存已满时,覆盖最早的记录。【8】
四个接线端子i1、i2、i3、i4,从其他设备接入的4~20mA的电流信号。采样电阻为200欧姆,安装于仪表内部。当选定特定某端子时,仪表会同时储存并记下该端子上外接设备的历史变化记录。同时也会在显示屏上的相应位置上,不断地闪现被选仪表的瞬时示数。【9】
明渠流量计可输出四种电信号:
- 4~20mA模拟电流信号,根据设定的参数可以是瞬时流量或液位;
- 继电器开关量,依据参数设定,或根据累计流量动作量。按照设定的上下限报警点的液位,或仅液位上限,或仅液位下限。
- 根据参数设置的RS-232数字信号按照通信协议规定的格式传出;
- 打印机接口基于设置或等距打印,或打印在历史记录上。
超声波明渠流量计可支持接入RS-232、RS-485、调制解调器和GSM等无线通信模块的信号传递。RS-232和RS-485接口安装在面板背面的仪器(A、B、GND)上。可以通过按键在RS-232和RS-485之间来回切换。从RS232外接调制解调器,GSM无线信号模块的体型相对较小,可以安装于超声波明渠流量计内部。如果需要使用GSM无线通信模块发送短信,可以使用一般的手机。【10】
2.3本章小结
本章主要探究明渠流量计的工作原理,以超声波明渠流量计为例,系统介绍了将明渠流量计实时监测的液位-流量信息上传至窄带物联网的可行性。通过RS232单片机,可以实现将明渠流量计的液位-流量信号转变成数字信号上传,为实时监测明渠流量提供了研究方向。
第三章 窄带物联网
3.1发展历程
物联网的通信技术可以从传输距离上分为两种:第一种是短距离通信技术,;第二种是低功耗局域网(低功耗广域网,LPWAN),经典的运用比如智能的抄表系统。LPWAN技术根据工作频带可分为两种:Lora、SigFox等在非授权频段中工作的一种,这种技术没有统一的标准, 3GPP支持下的2/3/4G蜂窝通信技术,该技术工作在授权频段之下。
2014年5月,在3GPP、GSM/EDGD的GSM EDGE无线接入网(GREN)研究项目中,华为和沃达丰提出了NB-M2M技术。在同一年,窄带正交频分复用(NB-OFDM)技术被高通公司提出。在2015年5月,NB-M2M技术和NB-OFDM技术被合入至NB-CIOT中。【11】


