智能路灯控制系统设计毕业论文
2020-03-31 12:04:21
摘 要
随着国家经济的发展,地球上有限的资源变得十分的可贵,如何节约资源使之得到利用的最大化成为当前紧要的问题。
本文研究的智能路灯控制系统是为了使我国城市照明这一块对电力资源的使用更合理、更智能,从而达到节能的目的。该系统通过处理光敏传感器与激光传感器检测的数据对系统进行控制,实现了根据光照和人流量的变化控制自身的启停与亮度,在节约能耗的同时也延长了路灯的使用寿命。本文详细介绍了设计智能路灯控制系统时的创新思维、具体实施方案、元器件选型、硬件电路、软件设计和工作原理等。
实验表明,本文设计的智能路灯控制系统可以很好的达到降低路灯电能消耗的要求,提高了用电效率,这对于资源匮乏的现在社会来说,无疑是一束希望之光。我相信该设计的推广会是迈向时代前线的重要一步。
关键词:智能路灯、单片机、节能
ABSTRACT
With the development of the Chinese economy, the limited resources on earth have become very valuable. How to save resources and maximize their utilization has become a critical issue.
The smart street light control system studied in this paper is to make the use of electric power resources in China's urban lighting more reasonable and intelligent, so as to achieve the purpose of energy conservation. The system controls the light sensor and the laser sensor by processing the data of the system, and realizes the start and stop and brightness control according to the change of the light and the flow of people, and also prolongs the service life of the street lamp while saving energy consumption. This article introduces in detail the innovative thinking, specific implementation scheme, component selection, hardware circuit, software design and working principle when designing intelligent street lamp control system.
Experiments show that the intelligent street lamp control system designed in this paper can well meet the requirements for reducing street lamp power consumption and improve the efficiency of electricity consumption. This is undoubtedly a hopeful light for the current society with scarce resources. I believe that the promotion of this design will be an important step towards the era.
Key words:Intelligent street lighting、Single-chip microcontroller、energy saving
目录
第1章 绪论 1
1.1课题研究背景 1
1.2课题研究的目的和意义 1
1.3课题的国内外研究现状 2
1.3.1国内研究现状 2
1.3.2国外研究现状 2
1.4课题的预期目标和研究内容 3
第2章 系统总统结构设计 4
2.1方案设计 4
2.2方案选择 4
2.3系统工作过程说明 5
第3章 硬件设计 6
3.1硬件结构设计 6
3.2光照的采集与检测设计 6
3.2.1光照检测原理 6
3.2.2光电式传感器选型 7
3.3激光信号的采集与检测设计 8
3.3.1激光检测原理 8
3.4智能控制器硬件设计 10
3.4.1微处理器的选型及介绍 10
3.4.2单片机最小系统 12
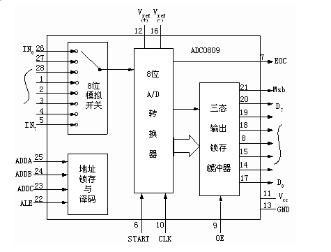
3.5 A/D转换电路 13
3.6液晶显示电路 15
第4章 软件设计 17
4.1软件结构设计 17
4.2系统主程序 18
4.3 AD采样程序 18
4.4 PWM控制 19
4.4.1PWM调光原理 19
4.4.2PWM控制程序 20
第5章 电路设计 21
5.1 光电检测电路 21
5.2 激光检测电路 21
5.3 LCD液晶显示电路 21
5.4 A/D转换电路 22
5.5 路灯控制电路 23
5.6 整体电路设计 24
第6章 系统仿真 25
6.1软件介绍 25
6.1.1仿真软件Proteus介绍 25
6.1.2编程软件keil c51介绍 26
6.2仿真结果 27
6.2.1仿真电路 27
6.2.2软件编译 31
6.3问题分析与解决 32
6.3.1硬件分析 32
6.3.2软件分析 32
6.4仿真结果与分析 33
第7章 结论 34
致谢 35
参考文献 36
附录A 源程序 37
第1章 绪论
1.1课题研究背景
能源的危机使得社会的可持续发展变得越来越困难,而能源的分配问题引发全球的广泛关注,能源的开发与使用无法达到平衡,能源正在供不应求的社会环境中逐渐变少,特别是电力资源。在我国人口众多的环境下,电力能源显得十分吃紧,甚者有的时候需要靠着各个地区轮流断电的方式来解决供电压力的问题。这不但给人们的日常生活带来了不便,还影响这社会的发展和时代的进步。
在我国,城市照明在电力的使用中占有很大一部分的比重。在建设城市夜景景观中,随着城市逐渐的亮化、美化,耗电量也逐步攀升,快速的城市发展带来的是对电量更多的需求与消耗,长此以往,电力的供求矛盾必然加重。电力供应紧张的问题很难得到有效的缓解,所以节约电力资源已然成为我们必然的选择,为求发展与节约并重,路灯照明的智能控制是节约电力资源必走的途径。
1.2课题研究的目的和意义
路灯是国家经济发展和建设中不可缺少的重要组成部分,随着城市交通网的不断扩张,它在国家用电中占有的比重越来越大,如果能通过其自身的智能控制能达到节能的目的,就能降低电力的损耗,节约资源的同时也减少了人力资源的使用,对国家经济的发展有着重大意义[1]。
本文研究的智能路灯控制系统设计是通过检测外界的光线明暗控制路灯的开启和关闭,避免定时开关造成天亮了灯未关,天黑了灯未亮的不合时宜的情况,通过检查外界人流车流量的多少,控制路灯两端电压的变化,从而改变路灯的亮暗,使路灯的亮度在不同人流量、车流量情况下维持在合理的范围内,这样的照明系统更具智能化,也更能节约没必要的电能消耗。
1.3课题的国内外研究现状
1.3.1国内研究现状
通过调查发现,中国路面上的路灯材质大多为钠灯、金卤灯、水银灯等。它们的发光亮度高,光色舒适,成本低廉,安装方便,但同时它耗电量大的缺点使得它在提倡节能的社会上更容易被淘汰。为此我国也研发出不少节能型路灯产品,它们虽然可以满足一定的节能要求,但效果上还是存在巨大的发展空间的。它们主要是以下两类:
采用自耦变压器及磁饱和电抗器的降压技术。它的反应速度非常缓慢。当城市达到用电高峰期时,它两端的电压降低,灯光会不断的闪烁,容易造成损坏;而夜深用电低谷时,电压超过额定值,灯具受到高压的冲击也会损坏,所以该灯具本身的稳定性较差,使用它的成本较高,不利于城市建设。
采用电子器件构成的可控硅式设备,它的工作原理是简单的相控技术,此种设备使用的相控技术有污染电网、减损灯具使用寿命、不绿色环保等缺点,已被国家相关规定明令禁止使用。
我国目前的照明方式也分为全夜灯照明和亮一隔一等方式。全夜灯照明未考虑人流量的变化和对周围居民的影响,造成的浪费太大;亮一隔一等方式虽然节约了一定的电能,但对行人的舒适度问题易造影响,夜间是人精神最脆弱的时候,忽明忽暗的环境容易造成危险的发生。
我国对照明路灯开关的控制分为人工控制或定时控制。人工控制的方式不光浪费了一定的人力资源,还使得系统的开关时间没有规律可循;定时控制的方式虽然十分规律,可冬天夜长夏天夜短的情况使得定时的时间存在着争议,易造成电能的浪费和照明的不及时等情况出现,影响着人们的出行和安全问题。
1.3.2国外研究现状
近年来,随着大家节能意识的提升,路灯的节能控制器也相继问世。其中,美国和日本两个国家主要致力于研究紧凑型荧光灯和镇流器荧光灯两个方面。这两个国家的各地都出台了相关的法律法规,促使人们不得不迈进节能的大门。同时,他们也大力宣传和推广节能产品在人们日常生活中的使用。
国外的路灯节能技术的发展主要体现在政策和器件性能上。在政策上,他们推行绿色照明,出台了一系列的节能管理要求,对光源材料、使用规范等严格要求,力求全民实行照明节能。在器件性能上,他们主要提高镇流装置的技术,希望通过镇流器技术的提高来实现照明设备的效率。
1.4课题的预期目标和研究内容
本文通过分析国内外现状,对比几种常用的路灯节能控制系统,旨在研究出一套更智能、更节能的路灯控制系统。该系统要求能够完成路灯随外界光线变化而智能开启和关闭的功能,能够完成随着当时具体人流量情况进行光照强度的自我调整的功能,以便其能达到智能节能的效果[2]。
课题的研究内容:
(1)以单片机为核心的智能路灯控制系统设计
(2)智能路灯控制系统检测电路和控制电路设计
(3)智能路灯控制系统程序设计
(4)智能路灯控制系统的仿真和试验
第2章 系统总统结构设计
本设计是对智能路灯控制系统的设计,设计要求该智能路灯控制系统能够智能的根据外界光线的明暗控制自动的开启或者关闭,在路灯开启的时间段之间,能够根据通过的行人和车辆调节路灯的亮度:没有行人和车辆时,路灯启用最低亮度;行人和车辆增多时,根据行人和车辆的多少智能的判断需要增加路灯的亮度,直至路灯变为最亮;行人和车辆减少时,路灯慢慢降低亮度,保持在合适的亮度等待下一次行人通过[3]。
2.1方案设计
方案一:采用STC89C52单片机作为控制器核心,使用光敏电阻对外界光线进行测量,将采集到的数据经ADC0809进行模数转换,再提供给单片机作为其对外界光线的考量数据,单片机对接收到的数据进行判断和处理,再由单片机控制路灯,实现路灯亮度的转变和自身的开启与关闭。而行人和车辆的多少则通过声音检测装置来判断,当麦克风接受到声音信号时,声音采集装置发送模拟信号送入ADC0809中,ADC0809再将接收到的模拟信号经处理变为数字信号,送至单片机中进行处理,路灯受单片机的控制变亮,在声音消失后恢复最低亮度。
方案二:采用STC89C52单片机作为控制器核心,使用光敏电阻对外界光线进行测量,将采集到的数据经ADC0809进行模数转换,再提供给单片机作为其对外界光线的考量数据,单片机对接收到的数据进行判断和处理,再由单片机控制路灯,实现路灯亮度的转变和自身的开启与关闭。行人和车辆的多少通过激光传感器来判断,当激光传感器检测到信号时,通过ADC0809进行模数转换,送到单片机中进行处理,路灯根据信号的强弱智能的增加减弱亮度。
2.2方案选择
两种方案都是选用STC89C52单片机作为核心,不同之处在于对行人和车辆的检测,方案一采集的是声音信号,方案二采集的是激光信号。通过对比可明显发现方案一的不稳定性,若设定调光的声音分贝值过小,那么周边居民发出的声音也会使得路灯直亮,达不到节能的效果;若设定调光的声音分贝值过大,那么行人走路的声音不易采集,容易造成灯光过暗的情况,不利于社会治安。而方案二所采用的检测激光的方法则比较稳定,权衡之下就选择了方案二来完成此次设计。
2.3系统工作过程说明
系统的工作过程可以分为以下几个步骤:外界光源的检测;激光信号的检测;信号的AD转换;微处理器的综合处理;液晶显示屏的实时显示;路灯亮度的改变。
外界光源的检测是通过光敏电阻的阻值改变来判断的,而激光信号的检测是通过激光对射管的中断次数来判断的;这样通过光敏电阻和激光对射管就可以清晰的让整个系统了解到外界的光照与人流量。
光照的数据决定这整个系统的开启与关闭,所以光源检测模块是整个系统的第一步骤,只有光照的亮度低于80%,整个控制系统才开始运行。
光照信息和人流量信息传送到AD转换模块进行信号的转换,这是整个系统运作的第二步骤,只有将采集到的模拟信号转变为数字信号,单片机才能接收和处理。
第三步骤:单片机的综合处理。这是整个系统的核心,单片机是维持各个部分正常运作的枢纽,没有它的存在,整个系统将不能联系在一起。它不光要对接收到的数据进行处理分析,判断出此种光照和人流量下设定的路灯亮度值,还要对路灯的亮度进行相应的控制,并将所接受到的信息和控制信息转换成文字显示在液晶显示屏上。
最后就是路灯亮度的改变和液晶显示屏上的数据显示。本系统液晶显示屏上显示的数据有:路灯实时亮度、外界光照实时亮度和实时人流量。
第3章 硬件设计
3.1硬件结构设计
智能路灯控制系统的硬件部分由微处理器、信号检测与处理器、电力电子功率器件等组成。其中,信号检测与处理器由激光传感器、光敏传感器、信号变送器、A/D转换器等组成[4]。
硬件系统的工作原理为:光敏电阻通过检测光源,将检测到的模拟信号输入至A/D转换器转换成数字信号,通过单片机的处理实现路灯的开启和关闭。激光信号通过激光传感器转变成模拟信号,通过A/D转换器输入到单片机中反馈行人车辆流量信息,经pwm控制动态调节灯光强弱度,实现节能控制。其系统框图如图3.1所示。

图3.1 硬件结构图
3.2光照的采集与检测设计
3.2.1光照检测原理
光照的检测实际上依靠的是光电式传感器。光电式传感器可以将光能转化为电能,它也被称为光电子器件。光电传感器一般由光源、光学通路和光电元件三部分组成。它的基本原理是根据光电效应将被测量转化为光信号,然后再用光电元件将转化来的光信号转换为电信号。它的功能依靠的是光电效应。
光电效应的发生是由于物体内导电电子运动状态的改变使得电特效的改变。它被广泛应用于现代测量和控制系统中。当光照在某一物体上时,可以看作是有一连串具有一定能量的光子在轰击这个物体,光子轰击在物体上,就将其所有能量传给了电子,一个电子得到了一个光子的所有能量,其状态就会发生改变,从而使这个物体产生光电效应。
通常把光电效应分为三类:
(1) 外光电效应:即光照使得电子逸出物体表面,如光电管、光电倍增管等;
(2) 内光电效应:即光照使得物体的电阻率发生改变,如光敏电阻、光敏晶体管等;
(3) 光生伏特效应:即光照使得物体产生电动势,如光电池等。
3.2.2光电式传感器选型
在智能路灯控制系统的设计中,光照检测仅仅只是为了判断光照值从而控制路灯的开启和关闭,所以只需要选择具有内光电效应的光敏器件即可[5]。光敏器件包括光敏电阻、光敏二极管及光敏三极管等[6]。而本系统对光敏器件的选择首先需要对三种光敏器件做一个详细的了解。
光敏电阻又称为光导管,它是用光电导体制成的光电器件,它的工作依靠的是半导体光电效应。它没有极性,是一个电阻器件,无论是直流偏压和交流电压都可以使之工作。随着光照的变化,它的阻值也会发生变化,它的阻值随光照的增强而减小,通过它自身阻值的变化影响到电路中电流的改变,从而达到测光的效果。
光敏二极管与一般二极管相似,但在其管壳上有着一个玻璃嵌入窗,便于光的进入。它的PN结的面积也较一般二极管偏大,这样可以增加光照的面积。光敏二极管只有在反向偏置的时候工作,它与负载电阻串联。随着光照的增加,光敏二极管的载流子被激发,产生空穴电子,反向电流因为载流子的导电作用增大,同时也改变了负载电阻的电流,产生了随光强而变化的电信号。
而光敏三极管除了能将光信号转换成电信号之外,还能对电信号进行放大。通常,光敏三极管只引出发射极和集电极,管壳与光敏二极管一样也有着一个玻璃嵌入窗。为了更好的吸收入射光,基极的面积较一般三极管都大。它工作时集电结反偏,发射结正偏。随着光照的增强,基极产生的电流随之增大。
由于本系统只是依靠光敏器件检测的光照值来控制路灯的开关,所以使用最为简单方便的光敏电阻即可满足要求。对智能路灯控制系统的设计中,需要利用光敏电阻随光照的增强阻值不断下降的特性来为系统提供服务。当天黑以后外界光强减弱,光敏电阻阻值变高,此时流经它的电流变小,送至ADC0809的电压为低电平,通过ADC0809的进一步处理将数据传送给单片机等待进一步控制。
光敏电阻有以下特点:
(1) 光谱响应范围宽广。可以响应紫外光、可见光、近红外光,甚至是远红外光。
(2) 工作电流大。
(3) 强光和弱光都可以检测。
(4) 灵敏度高。
3.3激光信号的采集与检测设计
3.3.1激光检测原理
激光具有高度方向性,它不仅传播得远,在传播过程中还不易发散,据统计,激光束传播到几公里以外也仅仅不过扩展几厘米,它的稳定性使得它在各方面都得到广泛应用。
激光传感器由激光器、激光接收器和测量电路组成。激光传感器的工作原理是先由激光器发射激光到被测物体上,经物体反射后激光向各个方面散射,部分散射光被激光接收器接收后经内部雪崩二极管放大,将光信号转化成电信号。由此,激光传感器多用于测量方面,是一种新型的测量仪表。
以上是毕业论文大纲或资料介绍,该课题完整毕业论文、开题报告、任务书、程序设计、图纸设计等资料请添加微信获取,微信号:bysjorg。
相关图片展示:









