校园云打印平台设计与实现毕业论文
2020-02-19 07:56:22
摘 要
Abstract II
第一章.绪论 1
1.1校园云打印平台的设计背景 1
1.2校园云打印平台的设计意义 1
1.3校园云打印平台的国内外研究现状 2
1.4主要研究内容 3
第二章.系统总体设计方案与前期准备 4
2.1校园云打印平台设计方案比较与选择 4
2.1.1校园云打印平台载体选择 4
2.1.2微信小程序后端开发语言选择 5
2.1.3校园云打印平台工作模式选择 6
2.2校园云打印平台整体设计思路 6
2.3开发校园云打印平台的前期准备 7
2.3.1申请小程序账号 7
2.3.2安装对应的开发者工具 8
2.3.3租用服务器和购买域名 8
2.4本章小结 11
第三章.用户端微信小程序设计 13
3.1后端程序 13
3.2校园云打印平台前端程序设计 25
3.2.1前端程序主流程图 25
3.2.2前端程序关键代码 27
3.3本章小结 42
第四章.打印店端与管理员端Web程序设计 43
4.1打印店端Web程序设计 43
4.1.1打印店注册程序 43
4.1.2订单管理与打印 48
4.1.3后台数据查看 58
4.2管理员Web程序设计 61
4.3本章小结 66
第五章.校园云打印平台系统模拟运行结果分析 67
5.1模拟运行结果 67
5.2本章小结 75
第六章.结论与展望 76
参考文献 77
致谢 78
摘要
高校打印市场一直是一块潜力巨大的“蛋糕”,每到毕业季和期中期末考试期,高校附近的打印店总是人满为患。然而,在如此巨大的市场下,打印店的服务和效率却迟迟未有大的改进。在打印需求高峰期,学生们往往需要在店内排队等候许久才能完成打印需求;而在打印需求低谷时,打印资源往往在闲置而造成了不必要的浪费。
本次设计主要针对上述情况设计了一个校园云打印平台,包括微信小程序端、打印店端和管理员端。通过在管理员端添加附近的打印店,用户即可在微信小程序中打开校园云打印平台,通过引导选择合适的打印店上传文件完成打印订单并支付。打印店在打印店端即可接受订单并完成打印,学生在打印完成后再去取件即可。这样就不用担心高峰期可能需要在打印店内排队等候浪费时间的问题,学生完全可以在等待打印期间自由支配时间。
关键词:云技术;校园打印;微信小程序
Abstract
The printing market of colleges and universities has always been a "cake" with great potential. Every graduation season and mid-term and final examination period, printing shops near colleges and universities are always full of people.However, in such a huge market, the service and efficiency of the print shop has not been greatly improved.At the peak of the printing demand, students often have to wait in line for a long time in the store to complete the printing demand.When the printing demand is low, the printing resources are often idle and cause unnecessary waste.
This design mainly designed a campus cloud printing platform for the above situation, including WeChat small program terminal, printing shop terminal and administrator terminal.By adding a nearby printing store in the administrator's end, users can open the campus cloud printing platform in WeChat small program, and complete the printing order and payment by guiding the selection of appropriate printing store to upload files.The printing shop can accept the order and finish the printing at the end of the printing shop. Students can pick up the items after finishing the printing.In this way, students don't have to worry about wasting time waiting in line in the printing store during peak hours, and they can spend their time freely while waiting for printing.
Key Words:Cloud technology; Campus printing; Mini Program
第一章.绪论
1.1校园云打印平台的设计背景
打印,一直是学生尤其是高等教育学校学子的家常便饭,每到临近毕业或是期中期末考试周的时候,学校附近的打印店总是会被围得人山人海,高峰期常常需要排很长时间的队伍,不仅容易使学生来不及打印文件,还白白浪费大量时间。而其他时间打印机又常常空闲,打印资源得不到合理利用的同时,传统打印店打印纸张价格不统一、打印效率不高、打印服务质量有好有坏等问题也多为大家所抱怨。不仅如此,使用传统的U盘连接电脑打印也容易感染计算机病毒,即便在打印店登录QQ传输文件也会存在账号被盗的风险。这时候就需要一种更加便捷且安全的方法来为校园打印提供服务。
近年来,随着共享经济概念的提出和智能终端技术的快速发展,打印服务行业也出现了不少新的服务模式,如可以安放在各大教学楼内的自助打印机,学生扫一扫即可完成上传文件、打印文件的简单操作,相当于是把一家打印店开到了教学楼下,不仅占地面积小,也无需人员管理,只需要定时维护即可,但目前仅支持一些基本的打印操作,一旦出现故障难以及时处理。同时也出现了一些像是“外卖”的打印服务,用户在对应的平台上下单,打印店接单后会将打印好的文件送货上门,但这种打印服务收费价格往往十分昂贵,一般学生用户难以承受如此高昂的打印支出。
云技术是指在局域网或广域网将软件、硬件和网络等多样资源结合起来,实现数据的计算、处理、存储和共享的一种托管技术,伴随着互联网行业的高度发展和应用,将来也许所有资源都会有自己的识别标志,并可以通过后台系统实现逻辑处理和数据交互。将云技术和校园打印服务结合起来,就是如今的校园云打印服务模式。
1.2校园云打印平台的设计意义
云打印( Cloud Print,CP) 是以“按需制造”、“制造即服务”的新兴云制造服务为基础,将云制造模式应用到印刷业中,实现打印服务快速响应与打印资源的高效节能使用,进化成一种更优越的网络化打印形式[1]。其整理合并了提供打印服务的店家资源,建立起一个能够共享打印的平台,能够为人们提供不受时间和地点限制的质量可靠、打印标准的印刷服务。目前的校园云打印业务都属于还在初级阶段,其所提供的打印服务都还比较简单,目前打印行业仍是以传统打印方式为主。这说明新兴的云打印技术还有很大提升空间和改进空间。每一项新兴技术从提出到普及实现和发展完善的过程都是漫长的,这其中离不开每一位科技工作者一点一滴或大或小的改进,科学和技术就是在这样缓慢而坚定的步伐中一步步迈向深远壮阔的未来。因此设计一款新的改良型校园云打印平台不仅能够节省高校师生打印时间,使得打印资源能够得到合理利用,一定程度上降低了打印成本,使得打印服务更高效、更安全,也是为打印服务行业技术的发展抛砖引玉,推动着打印技术和云技术的不断向前发展,为建设更美好、更便捷、更智能的未来社会添砖加瓦。
1.3校园云打印平台的国内外研究现状
近几年随着网络技术的爆发性发展,云技术也得到了相当广泛的应用。Google公司是最早提出“云打印”概念的,早在2011年4月便公布了他们的云打印计划,Google 云打印服务可帮助用户从各种设备向打印机发送文档,包括个人电脑,手机和平板电脑。但此服务需要使用支持云的打印机。如果用户使用的打印机支持云技术,那么用户只需要在谷歌云打印服务器上注册自己的打印机,便可以在需要打印的时候登录自己的谷歌账号,选择上传文件打印,所需打印的文件便会在用户绑定的打印机上打印出来。这种打印模式一般适用个人用户使用在自己家中的打印机。惠普同样提供了自己的云打印服务HP ePrint,ePrint的主要工作原理就是为打印机分配一个电子邮箱地址,用户只需要发送一份包含需要打印的文档的电子邮件到打印机地址即可完成打印。但惠普云打印仅支持自家的部分新型打印机系列。
2014年,百度和佳能公司合作联合推出了佳能百度云打印平台。两家公司分别将自家擅长的云端技术和影像输出技术结合起来,开发出了这款针对中国环境下的家庭和商业用户的云打印平台。用户只需要将自己的百度云账户与附近的佳能打印机进行绑定,不需要安装任何驱动程序即可将文件通过电子设备上传并发出打印指令。文件的打印传输实用性很强,支持多种格式的文件。拥有云打印机的机主还具有授权能力,可以在云打印平台上创建一条分享链接,被此链接授权的其他用户就可以使用这台打印机进行云打印。这意味着只要一个人拥有了打印机,其他人就都有机会使用,能够较好地利用闲置打印资源,相当于可以多人共享一台云打印机,非常适合公司或是小集体的使用。国内由于人口基数大、高校众多,打印服务行业有着庞大的市场,因此这几年迅速催生了大量的云打印平台,如易云打印、新印相、用友云打印、飞印等。这些云打印平台的载体也多种多样,如在线网页、APP、微信小程序等。这些平台在注册后即可上传文件打印,但在打印完成后需要到对应的加盟店取件,在一个区域往往只有一个加盟店,有时候会非常不方便,需要走远路。
1.4主要研究内容
本文主要研究如何解决传统校园打印场景中,打印高峰期学生到店打印可能会因为排队等候而浪费大量时间的问题。根据所查阅的文献资料和实际调查研究,本文决定设计一套搭载于微信小程序上的校园云打印平台系统,包括学生用户使用的微信小程序端、商家用户使用的打印店Web端和管理员使用的管理员Web端。
关于该云打印平台系统我主要做了以下工作:
(1)研究和选择云打印平台系统开发前的准备工作与开发环境配置。
(2)针对云打印平台系统的实际需求进行总体方案设计。
(3)编写对应的云打印平台程序代码,包括小程序端、管理员端和打印店端。
(4)模拟运行校园云打印平台并进行调试与完善。
第二章.系统总体设计方案与前期准备
2.1校园云打印平台设计方案比较与选择
2.1.1校园云打印平台载体选择
如今随着时代的发展,应用程序的搭载平台也是根据侧重点不同演化出了许多类别,根据用户主体需求选择合适的搭载平台不仅能够提升用户体验,也利于云打印平台的宣传和推广。目前主流的应用程序搭载平台有手机APP(.apk)、电脑客户端(.exe)、以及无需安装就可以使用的Web应用程序(仅需通过浏览器访问)和微信小程序(通过微信客户端小程序入口访问)等。
手机APP是我们平时使用的智能手机不可或缺的应用程序,它被用来完善原始系统的不足之处并实现更多个性化的功能,能够为用户提供丰富的使用体验。目前主流平台为苹果公司的IOS系统,开发语言为Objective-C;以及谷歌公司的Android系统,开发语言为Java。使用手机APP搭载校园云打印平台的优点是可实现的功能完善齐全且强大,加载速度快,用户体验流畅。但缺点是开发成本高,应用程序往往较大,在如今应用程序繁多的背景下,用户往往已经安装了许多APP,不是知名度高的APP很难被用户接受并额外安装,推广难度较大。
电脑客户端是安装在PC上的应用程序,大多数计算机语言开发的程序都可以打包发布为.exe应用程序,如C/C 、C#、Java、Python等。电脑客户端能实现的功能也非常完备与强大,在PC端运行应用程序往往不用担心存储空间和运行内存不足的问题,网络情况一般十分稳定,能够稳定地满足用户需求。但缺点是不够便捷,台式电脑无法移动,使用地点固定,即便是相对轻型的笔记本电脑,往往也有1-2 KG重,日常使用仍不如手机便捷。
Web应用程序是一种可以通过Web访问的应用程序,可以使用PHP、JavaScript、Python、ASP.net等语言开发。其最大的好处就是用户只要有浏览器和网络就可以十分方便地访问应用,不需要再额外安装其他软件,是典型的B/S架构的产物。但web应用程序的缺点是响应速度会比较慢,能够实现的功能一般没有需要安装的应用程序丰富,用户体验不够好。
微信小程序是一种基于微信平台的应用,用户扫一扫或者搜索小程序即可打开应用,不需要下载安装即可使用。它可以很容易就在手机微信上被获取并迅速传播开来,同时还具备优秀的使用体验。相对于手机APP来说,微信小程序一般具有更小的体积,不会太占用用户的存储空间和内存,同时又能基本实现APP丰富的功能并提供良好的用户体验。小程序基于微信还可以调用微信本身的一些插件,如地图、用户认证信息、微信支付功能等,能降低一定的开发难度。
经过比较,基于微信小程序开发校园云打印平台,不仅能实现大部分所需功能,满足用户体验,也能降低开发成本,同时因为微信平台本身就已经聚集了大量的用户,校园云打印平台能够比较方便地宣传和推广,故而经过考虑决定采用微信小程序作为校园云打印平台的载体来进行开发。
2.1.2微信小程序后端开发语言选择
PHP全称是PHP:Hypertxt Preprocessor,意思是超文本预处理器,属于一种通用开源脚本语言。语法上拥有C语言、Perl、以及Java的特色,适合初学者学习,主要应用于Web开发领域,有着广泛的应用空间。不仅如此,PHP独特的语法混合了C语言、Perl、Java以及PHP自己发展创造的语法。比起CGI或者Perl,PHP能够更快速地执行动态网页。PHP的动态网页执行效率相比其他编程语言更高,因为它是将程序嵌入到HTML文档中去执行,而像CGI则是完全生成HTML标记,效率自然较低。将代码编译后,PHP执行起来可以达到加密与优化的效果。PHP还是类C语言,在C语言广泛传播的现在,PHP更方便初学者学习使用。而且PHP可以嵌入HTML语言中,编辑简单,实用性更强。
Java是一门面向对象编程语言,不仅吸收了C 语言的各种优点,还摒弃了C 里难以理解的多继承、指针等概念,因此Java语言具有功能强大和简单易用两个特征。Java语言作为静态面向对象编程语言的代表,极好地实现了面向对象理论,允许程序员以优雅的思维方式进行复杂的编程。[2]但缺点是速度比较慢,没有C和C 快。学习门槛比PHP要高,需要学习的内容也多,短时间内难以掌握。
node.js是一个让JavaScript运行在服务端的开发平台,它让 JavaScript 成为与PHP、Python、Perl、Ruby 等服务端语言平起平坐的脚本语言。[3]其实质是封装过后的Chrome V8引擎,因为使用V8引擎可以非常快地执行JavaScript,性能十分优秀。但不适合CPU密集型应用,可靠性较低,一旦某个环节崩溃,整个系统都会崩溃。
由于曾经学习过C语言,有一定的基础,比较容易掌握类似C语言的PHP,十分适合像我这种初学者学习。而且PHP相对来说编辑更加简单,实用性高。所以选择学习PHP语言来开发校园云打印平台的后端程序,能够在提高开发效率的同时,保证程序的实用性和稳定性。
2.1.3校园云打印平台工作模式选择
目前校园内学生打印的方式主要有以下几种:
(1)前往打印店进行打印,优点是能够操作的功能更加丰富,可以满足复杂打印的需要,但缺点是高峰期往往需要等待较长时间,打印耗费的时间成本不确定。
(2)前往附近的自助打印机进行打印,该方式可以满足一般的打印需求,且往往地点更加接近教学区域,一般可以节省路程,但同样因为靠近教学区域,下课时间段往往是打印高峰期,需排队等候时就容易耽误学生正常上课时间。
(3)选择目前主流的云打印平台进行上传文件打印,打印完成后到店取件。该方式可以满足一般的打印需求,且无需担心在店内等待耗费时间。但在打印完成后需要到对应的加盟店取件,而一个区域往往只有一个加盟店,有时候会非常不方便,需要走远路。
经过比较考虑,最终决定在主流云打印平台的工作模式基础上,进行一定的改良。学生可以根据距离/价格/评分等选择附近的打印店来决定打印点,不像固定云打印店那样有时候需要跑冤枉路。本来加入选择自助打印机将会更加节省距离,但是选择自助云打印可能会存在与现场打印冲突、打印的文件安全性和隐私性难以得到保障的情况,故而暂时只支持店家接单打印,以保障用户打印文件的安全和隐私。
2.2校园云打印平台整体设计思路
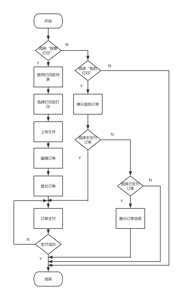
整个校园云打印平台将分为三个部分:前台小程序、打印店端Web程序、管理员Web程序。用户使用的便是前台小程序,用户扫描二维码或者通过搜一搜打开校园云打印平台时,首先是使用微信账号登陆平台,接着可以选择“我要打印”或者查看“我的订单”。选择“我要打印”便可查看打印店列表,根据用户需要选择合适的打印店后即可上传文件并设置一般的打印需求。提交订单并完成支付后即可等待店家接单并打印完成后取件,这样便可免去高峰期可能需要在店内等待耗费时间的问题,学生完全可以在这段时间内自由支配自己的时间。选择“我的订单”即可选择查看自己的订单列表,可以对订单进行支付操作/取消操作/取件操作等。订单完成后学生即可到店扫描对应的二维码取件,能够保证打印的文件安全到达用户手中,避免冒领的可能。
打印店端Web程序则可以选择修改商户信息、查看订单列表以及用户的取件二维码等。在订单列表可以查看订单状态并对订单进行相应的操作。
管理员Web程序则可以查看/增加/删除/修改打印店的店家信息,用以管理店家并处理一些意外情况等,整体思路如图2-1。
以上是毕业论文大纲或资料介绍,该课题完整毕业论文、开题报告、任务书、程序设计、图纸设计等资料请添加微信获取,微信号:bysjorg。
相关图片展示:









