船用复合储能系统充放电控制系统的设计与试验分析毕业论文
2020-04-10 16:56:46
摘 要
本论文重点研究了船用复合储能系统,即超级电容与蓄电池复合储能系统充放电控制系统。完成了超级电容和蓄电池复合充放电系统模型的构建,分析了超级电容器对电池输出功率的影响,即“切割峰值和填充谷值”影响;完成双向DC / DC变换器控制电路设计,并建立测试平台,测试双向DC/DC变换器的性能是否满足论文要求,并开展了一下工作:
1.分析两种不同类型的能量存储设备(蓄电池和超级电容器)的操作特性(充电和放电特性),并分析了蓄电池和超级电容器的常见复合电源的结构。确定蓄电池和超级电容器的复合结构。
2.根据双向DC/DC变换器在船上的运行条件,按照船用复合储能系统的效率要求,构思出了双向DC/DC变换器的基本运行性能要求,确定了船用复合储能系统充放电系统中双向DC/DC变换器的结构。
3.设计双向DC/DC变换器控制的充放电控制系统,根据复合储能系统的总体结构,搭建测试平台并进行测试,分析双向DC/DC转换器的工作运行性能是否复合要求。
关键词:超级电容-蓄电池复合能源;双向DC/DC变换器;复合储能系统的充放电控制
Abstract
This dissertation focuses on the marine composite energy storage energy storage system, namely, the charge and discharge control system of the super-capacitor and battery composite energy storage system. Completion of the construction of the supercharger/battery compound charge/discharge system model, analysis of the impact of supercapacitors on the output power of the battery, ie the influence of “cutting peak and fill valley”; completing the design of the bidirectional DC/DC converter control circuit and establishing the test The platform tests whether the performance of the bi-directional DC/DC converter satisfies the requirements of the dissertation and carries out the following work:
1. Analyze the operating characteristics (charge and discharge characteristics) of two different types of energy storage devices (batteries and supercapacitors), and analyze the structure of common composite power supplies for batteries and supercapacitors. Determine the composite structure of the battery and the super capacitor.
2. According to the working environment of the bi-directional DC/DC converter, according to the energy efficiency of the required composite power supply, the performance requirements of the bi-directional DC/DC converter are proposed to determine the structure of the bi-directional DC/DC converter.
3. Design a bi-directional DC/DC converter controlled charge/discharge control system. According to the overall structure of the composite energy storage system, build a test platform and test it to analyze whether the bi-directional DC/DC converter's working performance is composite.
目录
第1章 绪论 1
1.1课题研究背景、目的和意义 1
1.2 国内外研究现状 1
1.2.1 国外研究现状 1
1.2.2 国内研究现状 2
1.3研究(设计)的基本内容、目标 3
1.3.1基本内容及目标 3
1.4拟采用的技术方案及措施 3
第二章 复合储能系统的主要元件特性分析 4
2.1蓄电池储能系统的特性分析 4
2.1.1 蓄电池充放电技术研究现状 4
2.1.2蓄电池选型 5
2.1.3蓄电池充放电特性 6
2.2.4 蓄电池充放电影响因素 6
2.1.5 蓄电池充放电控制流程 7
2.2超级电容储能系统的特性分析 8
2.2.1超级电容 8
2.2.2 超级电容原理 8
2.2.3超级电容的能量储存特点 9
2.2.4超级电容的充放电特性 9
2.3本章小结 11
第三章 复合储能系统的充放电系统的设计 11
3.1 双向DC/DC变换器的功能实现 11
3.1.1双向DC/DC变换器的作用 11
3.1.2双向DC/DC变换器的结构选择 12
3.1.3半桥式结构的双向DC/DC变换器的工作原理 13
3.2 双向DC/DC变换器的充放电理论分析 14
3.2.1 双向DC/DC变换器正向充电分析 15
3.2.2 双向DC/DC变换器反向放电分析 15
3.3 本章小结 16
第四章 船舶复合储能系统的充放电系统的实验 17
4.1船舶复合储能系统的充放电系统的实验台架构成 17
4.1.1 5Kw全数字双向DC/DC变换器简介 17
4.2 实验验证 19
4.2.1放电实验 20
4.2.2放电实验 20
4.3本章小结 22
第五章 总结与展望 22
5.1 本文完成的主要工作 22
5.2研究展望 23
致 谢 24
参考文献 25
第1章 绪论
1.1课题研究背景、目的和意义
单一能量存储系统的引入会给船舶的稳定运行带来一定的不稳定性:超级电容的输出功率是有一定波动的;储能系统通过电子器材接入船舶交流微电网,但是这些电子器材惯性较小,当系统发生功率波动时,十分容易造成电能质量的恶化;发电形式多样化;船舶上负载变化频繁;船舶微电网没有分布式电源管理统一的调度中心。因此,有必要设计合理的充放电控制系统,调整各分布式电源的输出功率,保证船舶微电网安全正常平稳运行。合理的分配策略不仅能保证系统功率平衡、 改善电能质量,还能延长各发电单元,特别是储能系统的使用寿命,减少柴油发电机的使用,有利于环境的保护。
蓄电池具有较高的能量密度,但由于蓄电池是十分典型的化学能量储存元件,因此其自身特性使其不可能在短时间内实现充放电循环。系统带来的瞬间波动能力会严重影响蓄电池的工作寿命。超级电容器是近年来新开发的储能组件。能在瞬时内提供超大的电流,具有较大的功率密度,超级电容不仅弥补了蓄电池的不足,它还可以提高系统输出功率的平滑度并保护蓄电池。
船用复合储能系统基于不同类型储能装置的不同特性,将其应用于同一系统并采用适当的控制方法。使他们充分利用储能元件的优势,最终使储能系统工作在最佳状态。
由超级电容器和蓄电池组成的船用复合储能系统能够在在短时高功率吞吐过程中满足超级电容器串电压范围的要求;另一方面,它可以保持直流母线电压不变,减小充放电时蓄电池的电流纹波,并具有较高的控制灵活性。它具有较低的超级电容和电池额定电压以及较高的利用率。
结果,使用超级电容器和蓄电池的复合储能系统已被广泛用于新型绿色能源发电系统或混合动力的船舶中。
1.2 国内外研究现状
1.2.1 国外研究现状
在国外,日本的教授最早将蓄电池和超级电容器组成复合储能系统并开展了在此系统的相关研究,三重大学的HAYASHI等将超级电容器和蓄电池组成复合储能系统应用于微电网中用来平滑脉动的风能输出[6]。
东北大学(日本)的研究学者使用蓄电池和超级电容器复合储能系统可以有效改善离网型风力发电系统引起的负载频率变化和稳定电压,以此提高了电力系统的电能质量[4]。
菲亚特公司使用了铅酸蓄电池和超级电容器组成了电动汽车动力电源复合供电系统,并采用复合动力系统作为电动汽车的动力源在城市和郊区进行性能试验,试验的结果表明,在两种不同条件下混合动力系统的使用节能分别为40%、20% [4]。
一位着名的美国教授使用超级电容器电池组成一个复合电源和两个驱动电机来组成电力系统。该电力系统可以节省电动汽车发动机舱的有限空间,并且在城市道路上负载测试修改过的电力系统的功率。电力系统测试结果表明,与单电机系统相比,双电机复合动力系统的传输效率可以提高5%,与单电机系统相比,电池的使用寿命可以延长70%大功率电动车[7]。
斯法克斯大学的著名教授用超级电容-蓄电池组成的复合电源电动汽车提出了一套简单的能量管理解决方案,并进行了仿真分析,应用该能量管理方案可以降低复合动力系统的开发成本。基于能量管理方案的仿真结果,超级电容器还可以有效降低电池的工作负载[7]。
日本东京大学的黄晓亮在对采用超级电容-蓄电池复合储能系统的小型电动汽车的研究中,为了使复合储能系统具有高能量密度和高功率密度的性能,提出了基于能量管理系统对变频滤波器和功率分配策略,并进行了实验台架试验分析,测试结果表明,蓄电池和超级电容各承担一半的负载能量需求,并且超级电容能回收30%的能量[7]。
1.2.2 国内研究现状
国内复合储能系统的研究稍有落后,但各个高校对复合储能系统的研究工作也在积极展开。
中国科学院电工研究所领导人齐志平和唐锡生首先对超级电容器和电池储能系统进行了复杂的研究,并将复合储能系统应用于光伏发电系统[4]。
中国电子科技集团公司第十八研究所的葛智元等通过实验测量了不同条件下由电池和超级电容器组成的复合储能系统的放电特性[4]。
华北电力大学的教授团队在研究超级电容和蓄电池的复合储能模型的基础之上,通过测试得出了在复合储能系统中超级电容器可以最先完成充放电,并且超级电容器的容量值越大,功率输出越大 电力系统对电池的影响较小[7]。
北京工业大学的董昊龙等对动力电池-超级电容复合电源系统的实验台架搭建及控制策略设计进行研究,并通过硬件环路测试对单个电源和复合电源进行了分析,并将测试结果 表明复合动力系统响应速度快,可以提供与单一电源功率输出一致的电能,并且可以更好地恢复再生制动能量[17]。
1.3研究(设计)的基本内容、目标
1.3.1基本内容及目标
(1)研究内容
1.了解不同类型储能模块的充放电特性;
2.研究不同类型储能模块的充放电控制方法;
3.设计不同类型储能模块的充放电控制系统;
4.参与控制系统半实物模拟试验。
(2)研究目标
本课题以船用复合储能系统的充放电系统为研究对象,在前人研究基础上,结合相关专业知识,对于不同储能设备进行实验分析,总结优缺点,提出超级电容与蓄电池的复合储能设备的构想,并针对该复合储能设备的充放电系统进行设计与实验。
1.4拟采用的技术方案及措施
本文运用大量的实验数据,结合各种参考文献,并通过数据分析、数值分析及优化技术,设计出船舶复合储能系统的充放电系统,以及在该复合储能系统的充放电系统上进行大量实验,对该系统进行多次优化。
1.研究蓄电池储能系统的充放电特性及充放电控制方法;
2.研究超级电容储能系统的充放电特性及充放电控制方法;
3.综合以上两种储能系统的充放电特性及充放电控制方法,设计出复合储能系统,并了解其充放电特性,设计其充放电系统;
4.在该复合储能系统的充放电系统进行实验,进行优化。
第二章 复合储能系统的主要元件特性分析
2.1蓄电池储能系统的特性分析
2.1.1 蓄电池充放电技术研究现状

图2.2.1(1)蓄电池
蓄电池(如图1所示)是一种常用的储能装置。在特殊的电力系统中,UPS,电力系统等领域得到了广泛的应用。其具有体积小、输出电压稳定、安全性能高等其他优点。电池的一般参数通常有电动势,内阻,端电压,容量,荷电状态和放电深度,参数可以表明蓄电池的运行状态是否正常。很多时候,由于正常的老化,导致蓄电池弃用,并且电池由于不正确的操作而经常被损坏也导致被弃用。由于充电和放电过程引起的内部化学反应,使得蓄电池能够储存和释放能量。充电和放电方式的质量则会影响电池的工作状态,导致蓄电池的外表面也会有不同于正常情况下的表现。
波伊克特以不同的放电速率进行了电池放电实验,发现放电速率的不同会对电池容量产生一定影响。马尔斯研究了蓄电池的充放电过程,并得出了充电电流对电池的影响范围[9]。
目前的蓄电池充电方法是:恒定功率充电方法,恒定电流充电方法,恒定电压充电方法,分阶段充电方法和快速充电方法等。
(1)恒定功率充电法
顾名思义,恒定功率充电意味着以恒定功率为蓄电池充电。该方法检测并计算系统的输入和输出功率,并控制电池的存储和释放以实现功率平衡。
(2)恒定电流充电法
恒定电流充电意味着蓄电池以恒定电流充电。在充电过程中,电池的端电压会缓慢增加,并且充电电压会不断变化,从而在整个过程中充电电流保持不变。然而,后期充电电流过大会影响充电效率,导致蓄电池产热严重。
(3)恒定电压充电方法
恒压充电意味着以恒定电压对电池充电。在充电过程中,电池端电压逐渐升高,充电电流逐渐减小,提高效率,减少了充电时间。但是,初始电流过大会发生爆炸等不安全因素。
(4)分阶段充电方法
分阶段充电方式意味着整个充电过程分为几个阶段对电池进行充电,每一阶段保持恒定电流或恒定电压对电池进行充电。电池通常分两个或三个阶段充电。二阶段充电方法开始时用恒定电流对蓄电池充电,当端电压到达某处时,切换到恒定电压充电方式,这样可以避免充电初期的初始电流过大现象。在充电快结束时,增加一个浮动充电阶段,即保持小电流为蓄电池充电,以便电池保持满电状态,它还可以避免由电池的初始和最终充电引起的过电压和过电流损坏。
(5)快速充电法
为了提高电池的充电率,学者们提出了其他一些充电方法,主要归纳为:脉冲充电方法,反射快速充电方法和可变电流间歇充电方法。
2.1.2蓄电池选型
性能 | 比能量 (Wh/kg) | 比功率 (W/kg) | 循环寿命 | 能量效率 (%) |
铅酸蓄电池 | 20-50 | 50-140 | 300-400 | >80 |
镍氢电池 | 70-95 | 200-300 | 750-1200 | 70 |
锂离子电池 | 80-130 | 200-300 | 1000 | >95 |
表2.1.2(1)蓄电池性能比较
由于蓄电池的内部反应是可逆的,因此可以实现化学能和电能之间的相互转换。蓄电池性能的参数包括电压,内阻,充电状态,能量密度和功率密度[2]。作为船用电源,电池需要高能量密度,巨大容量,高功率密度,超长使用时间和价格低廉等要求。但是,蓄电池不能完全满足这些条件,如功率密度不够,寿命短,价格昂贵等[2]。因此蓄电池的选择至关重要。常用的电池主要有铅酸电池,镍氢电池,锂离子电池等,其性能如表2.1.2(1)
从表2.1.2(1)可以看出,铅酸蓄电池比能量低,循环寿命短,温度特性差,不适合低温运行。镍氢电池和锂离子电池比能量高,比功率大,使用时间长,但镍氢电池能量利用率低,成本高昂。锂离子电池具有较高的能源效率和成本适中。工作温度范围广,此外,锂离子电池具有单体电压高,无记忆效应,无污染,自放电率低,放电稳定,工作温度范围宽等优点,已成为未来更理想的电源。
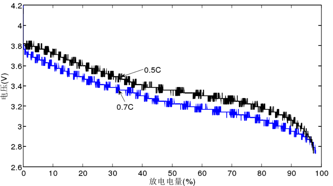
2.1.3蓄电池充放电特性
蓄电池的充电和放电特性反映了操作期间端电压的变化情况。图2.1.3(1)显示了锂离子电池模块的放电特性测试。在初始放电期间,蓄电池电压伴随放电电量的斜率比较大;放电电流在40%至90%的范围内。蓄电池端电压随放电电量变化的斜率较小;在放电终止阶段,蓄电池端电压随放电电量的斜率快速增加;在相同的放电量下,当电池以大速率放电时,蓄电池电压下降会增加。电池组模块放电特性测试

图2.1.3(1)蓄电池电池组放电特性图
2.2.4 蓄电池充放电影响因素
1.蓄电池的充放电容量
以上是毕业论文大纲或资料介绍,该课题完整毕业论文、开题报告、任务书、程序设计、图纸设计等资料请添加微信获取,微信号:bysjorg。
相关图片展示:









