电力变压器剩磁测量方法研究毕业论文
2020-02-18 11:42:24
摘 要
随着变压器朝着大容量的方向的不断发展,变压器铁芯内的剩磁的存在会很大程度的影响到电网的稳定性,比如铁芯的剩磁会造成空载损耗显著增加,同时使空载电流的实验数据增加,噪音水平也会因此增加。严重时甚至会导致重瓦斯误动作或者因为励磁涌流而导致过电流的误动作,从而使电网无法正常合闸,造成了很大的经济损失。
正是因为剩磁有着以上的影响,为了减少这种损失,需要对变压器铁芯进行退磁处理,而现有的退磁方法可以分为交流电剩磁与直流电剩磁,而无论是那种退磁的方法,都应该在已知剩磁的大小的前提下进行展开,因此对剩磁的测量是十分必要的。
现存的剩磁测量方法大多准确度不高,且多为在变压器铁芯的剩磁对变压器以及其他设备产生影响之后再根据励磁涌流、过电压等测量剩磁的大小。本文旨在能够保证一定的精确程度的情况下,在剩磁对变压器等其他设备产生影响之前就能测量到变压器剩磁的大小。
本文首先介绍国内外对于剩磁的测量的主要方法,然后,通过引入磁畴理论、J-A模型、Preisach模型来解释在铁芯磁化的基本过程之中对其施加一个小信号时,对铁芯的剩磁影响不会很大,并根据以上原理进行分析找出测量变压器铁芯剩磁的可行方法,并从理论上对其进行解释,从而确定以ATP-EMTP电磁暂态仿真软件为基础的仿真基本原理及步骤、电路中的元件参数等内容,进而展开仿真的过程,通过仿真得到的数据与图像得到与剩磁相关联的电参数,以及这种关联方式的具体函数表达式,并从理论上分析这一关系式的正确性以再次印证仿真原理的准确性。
关键词:变压器铁芯;磁化模型;剩磁;磁畴;非线性电感
,
Abstract
While increasing the experimental data of no-load current and noise level. In serious cases, it may even lead to the wrong action of heavy gas or the wrong action of overcurrent caused by excitation inrush current, which makes the power grid unable to close normally and causes great economic losses.
It is precisely because the remanence has above effects, in order to reduce this loss, it is necessary to demagnetize the transformer core. The existing demagnetization methods can be divided into AC remanence and DC remanence. Whatever the method of demagnetization, it should be developed on the premise of the known remanence, so the measurement of remanence is very necessary.
Most of the existing residual magnetism measurement methods are not accurate, and most of them are based on inrush current and overvoltage after the residual magnetism of transformer core has an impact on transformer and other equipment. The purpose of this paper is to measure the remanence of transformer before it affects other equipment such as transformer with a certain degree of accuracy.
Firstly, this paper introduces the main methods of remanence measurement at home and abroad. Then, by introducing domain theory, J-A model and Preisach model, it explains that when a small signal is applied to the core during the basic process of magnetization, the remanence of the core will not be greatly affected. Based on the analysis of the above principles, a feasible method for measuring the remanence of transformer core is found out, and theoretically. The basic principles and steps of the simulation based on ATP-EMTP electromagnetic transient simulation software and the parameters of components in the circuit are determined. The electrical parameters associated with residual magnetism are obtained from the simulation data and images, as well as the specific functional expressions of the correlation method. The correctness of the relationship is theoretically analyzed. In order to verify the accuracy of the simulation principle again.
Key Words: Transformer Core;Residual Magnetic;Magnetic Domain
目录
第一章 绪论 1
1.1 研究背景及意义 1
1.2 国内外研究现状 2
1.2.1 通过测量励磁涌流来间接的测量出铁芯剩磁。 2
1.2.2 经验估计法 3
1.2.3 电压积分法 3
1.2.4 基于铁芯磁化模型的剩磁计算方法 4
1.2.5 基于变压器漏磁的剩磁测量方法 4
1.3 本文研究内容 5
第二章 铁芯磁化原理及磁滞模型 7
2.1 磁畴理论 7
2.2 Jiles-Atherton模型 9
2.2 Preisach模型 10
2.3 本章小结 13
第三章 仿真原理与电路构成 14
3.1 仿真软件与原理 14
3.1.1仿真基本原理 14
3.1.2 仿真软件ATP-EMTP的介绍 15
3.2 仿真电路设计 16
3.2.1 电感模型的选择 16
3.2.2 电感参数的确定 17
3.2.3 仿真电路设计 18
3.3 本章小结 19
第四章 变压器铁芯剩磁测量的仿真 20
4.1 磁滞回线的获取 20
4.2 有剩磁时的仿真与计算 21
4.3 仿真结果分析 22
4.4 本章小结 24
第五章 总结与展望 25
5.1 研究总结 25
5.2 研究展望 25
致谢 27
参考文献 28
第一章 绪论
1.1 研究背景及意义
自19世纪末电力的出现以来,电能逐渐成为推动科技发展的不竭动力和人们日常生活生产活动中必不可少的能源,而随着人们的生活水平的日益发达与科技的不断进步,对电能的需求量也在不断的想着更高的方向发展。为了满足如此庞大的需求量,电网必将向着更大的容量发展,而电网中的各个组成部分也将朝此方向而发展,电力变压器也会逐步向着更大的容量而发展进步。
而变压器中的必不可少的组成部分就是铁芯,因而铁芯也在输电中起着很大的作用,它将会直接影响到电气设备的性能,从而降低了电力输送的可靠性。而铁芯是一种铁磁材料,由文[1]西安交通大学的郝治国所指出,变压器在空载合闸投入再切除的过程中,因为铁磁材料特有的磁滞效应,造成铁芯之中剩余一定的磁通,此残留磁通即为变压器铁芯的剩磁。
由文[2]上海市某研究所的冯远程的观点,变压器的铁芯中有剩磁残留,会造成多种负面的影响。在变压器进行完出厂实验后,投入实际使用前的验收检测阶段,剩磁的存在会造成实验结果中的数据与无剩磁时有很大的差别,而这种差别严重时还会导致实验结论的错误,在存在剩磁时,变压器空载运行时的损耗会显著提升,而此时的电流测量数据也会比无剩磁时大。基于以上原因,变压器铁芯中存在剩磁时,会导致无法准确的评估变压器的性能。
根据文[3]陈泓达所描述的,在宣汉某变电站中发生了主变跳闸,并且无法重合闸的意外,造成了很大的经济损失,经过检查发现是重瓦斯保护误动作所造成的,而这种误动作的源头是变压器铁芯内的剩磁,从而使励磁涌流增加并因此使电动力增加到一个很大的数值,引起变压器的油容器产生较大的震动,从而引起液面高度的波动,导致重瓦斯产生不正确的误动作。
而根据文[4][5] 北京一研究公司的程玉红与阳城国际发电有限责任公司的寇海荣提出的观点,在变压器进行过出厂试验后,会造成剩磁残存在变压器铁芯之中,剩磁的存在会使铁芯中产生数值大的励磁涌流,它的数值比变压器正常运行时的电流大6倍左右,从而对变压器的诸多一次设备,如继保等造成不良影响。
综上所述,正是有剩磁的存在产生较大的励磁涌流,电网输电的可靠性和安全性会受到大的影响,而现存的对减小励磁涌流的最好方法就是选项合闸的技术,通过选取合适的合闸角度来让合闸产生的磁通与铁芯的剩磁完全抵消,即数值相等且方向相反。而为了控制合闸角度的准确性,需要对剩磁的大小进行准确的测量。正是基于以上的原因,如何找到一种测量变压器铁芯剩磁的合适方法显得十分的重要。
1.2 国内外研究现状
目前国内外测量变压器铁芯剩磁的方法主要有:
1.2.1 通过测量励磁涌流来间接的测量出铁芯剩磁。
通过文[6]中所描述的内容,内蒙古某电力公司的张永龙指出了因此差动保护动作是变压器铁芯中存在剩磁的后果之一,作为变压器的主保护,差动保护判断电路中励磁涌流和鼓掌涌流的主要依据是流过差动继电器的电流数值,文[8]中河北囯华沧东发电有限责任公司的骆建龙又指出,变压器正常运行时,流过差动继电器的电流为0,因此保护不会发生动作。但是实际上励磁涌流的数值较大且只流过变压器的一次侧,而变压器的二次侧开路,没有电流流过,使得励磁涌流全部都流进差动回路,严重时会造成差动保护的误动作,从而使电网发生停电。因此可以通过测量励磁涌流来间接的测量铁芯中的剩磁。
由文献[7][10][19],来自武汉大学的李钷等人通过实验提出根据采集到的数据信息不同可以主要将常用的励磁涌流鉴别方法分为下3类:
(1)文献[19]写到来自上海市某实验室的罗建提出的根据电流量进行判断的鉴别方法。通过差动继电器的电流的一个波形的前半部分和后半部分的对称性为依据来辨别励磁涌流和故障电流的波形对称法:通过计算电流中的二次谐波分量幅值和基波电流的比值,根据电流的间断角识别法进行判别。
(2)文献[19]还写到罗建还提出根据电压量进行判断的鉴别方法。通过电压的畸变率以及电压中的谐波情况来判别的电压谐波的制动原理。
(3)文献[10]中河北工业大学的汪友华提出根据电流量和电压量进行判断的鉴别方法。通过变压器消耗的有功功率的情况进行判别的有功功率识别法;通过分析变压器磁通变化率特点而进行判别的磁通特性识别法。
虽然分析电路中采集到的各种电气量从而判别励磁涌流的方法已经有着较为广泛的实用性,但是伴随电网的不断发展,对安全性和可靠性的要求也在逐步的增长,因此传统的方法已经开始难以满足电网的要求。另外一方面,因为电网的复杂特性,使得各个电气量之间会存在相互影响与相互干扰,进而使得这种方法的应用存在了缺陷,因此根基电气量进行励磁涌流判别的方法尚且存在很大的挖掘空间。
1.2.2 经验估计法
文[18 ][19 ]中国外学者Runke根据之前的变压器铁芯上收集到的剩磁数据做出了经验估计的方法来大致测量剩磁,在经过直流电阻试验的变压器铁芯的剩磁范围大致为饱和磁通值的20%-80%,然而根据文[20]在1984年的国际大电网会议中指出,在对数量为几百台的变压器的剩磁进行测量时,仅有一台变压器的铁芯剩磁数值在这一范围之内。因为此种方法的范围误差较大,基本不予考虑.
1.2.3 电压积分法
根据文[26] [27] [28],西南交通大学的黄金指出,测量磁性材料内部磁通的方法主要根据的是法拉第电磁感应定律,因此对于变压器铁芯的剩磁测量,也可以用到这一定律,这种测量方法即为电压积分法。
根据黄金提出的电压积分法的理论,当变压器在空载运行时,其一次侧的绕组上的电压表达式为
(1.1)
此时绕组上对应的感应电动势的表达式为
(1.2)
假定变压器在时开路,相应的电流也会中断,因此此时铁芯中的磁通数值为
(1.3)
而文[28] 国外学者E Della指出此数值即为变压器空载运行下铁芯的剩磁数值。
将式(1-1)迭代入式(1-3)可得到剩磁的最终表达式为
(1.4)
而在三相变压器空载运行的情况下变压器三相铁芯中相应的剩磁大小为
(1.5)
根据文[22],研究学者Yitao Liu,Daming运用仿真软件模拟了变压器在空载时的模型,并得到了三相断路器断开时的电压波形,通过对电压的积分得到了变压器铁芯的剩磁,此种方法所得结果与实际测量值相比较有10%-18%甚至更高的误差存在,而这种误差主要是由铁芯材料的磁特性及变压器中存在绕组漏电容引起的。为了消除这种误差,需要对各种不同容量不同型号的变压器进行大量的相关实验,而进行这些实验所需要完成的工作量和计算量是十分庞大的,因此在实用性上有着很大的折扣。
1.2.4 基于铁芯磁化模型的剩磁计算方法
根据文[22] 研究学者Yitao Liu,Daming提出的观点,在目前的众多的铁芯模型之中,有四种模型的应用是最为广泛的:
(1)基于动态磁化模型的磁化铁芯模型。此种模型是根据铁芯的磁化实验结果而建立,它的特点是可以根据变压器的铁芯极限磁滞回线生成局部的磁化曲线,使得结果能较为直观的展现出,然而由于交流与直流的交叉作用,铁芯的极限磁滞回线不能完美的覆盖到各种情况的磁化曲线,从而造成了较大的误差,因此此种模型并不适用。
(2)Lucas模型。此种模型没有用数学模型来描述磁滞曲线,而是采用电路元件模拟各种会造成电流互感器异常的影响元素,使用这种模型得到的结果是较为准确的,比较适用于探讨进出饱和点检测的研究。但是Lucas模型无法对铁芯截面积较大的电流互感器进行仿真,而当铁芯截面积很小时,电流互感器的容量也会相应的小,因而更易产生饱和,不适用于电路中有较大的电流存在时的情况。
(3)由D.C.Jiles和D.L.Atherton合作提出的Jiles-Atherton模型。根据文[23]可得,此种模型的优点在于在准确获取铁芯相关数据的情况下,可以模拟出变压器铁芯在磁化的过程。但是由于这些参数无法直接测量获取,只能近似的估计判断,而当参数的数值误差较大时,仿真的结果也会出现较大的误差,这一问题使得J-A模型的应用性受到了限制。
(4)由德国物理学家Preisach提出的Preisach理论。由文[25]可以看出,Preisach理论是当前解释铁芯磁滞效应的一个强有力的武器,而根据Preisach理论建立的Preisach仿真模型也有很广泛的应用价值。
但由于上述的几种模型中都涉及到了一些铁芯的参数的计算,而这些参数是无法直接通过测量得到的,只能人为的估计处理,因此使用这些参数进行计算后的结果会产生一定的误差,准确度无法得到保障。
1.2.5 基于变压器漏磁的剩磁测量方法
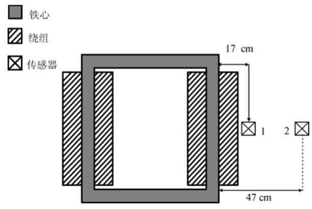
在变压器的正常运行状态时,除了铁芯内部的磁通之外,在铁芯的外部还会存在其他的磁通,这部分磁通即是变压器的铁芯漏磁。在文献[36]中国外某研究所的Cavallerad根据有限元的理论进行仿真分析,得到的结果为,变压器在不处于运行状态时的 周围也检测到了漏磁的存在,因此文[37]中,Cavallerad根据测量变压器周围漏磁的原理,使用传感器测量了铁芯周围的磁场强度,以此得到测量剩磁的新方法。

图 1.1测量装置示意图
根据电压积分的方法,Cavallerad对二次侧上的电压进行积分即可得到铁芯的磁场强度,在将不同时间进行的积分进行总结后即可得到铁芯的磁场强度与变压器一次侧中流过的电流之间的关系。将一次侧电流为0时的正负向磁场强度的差值计为,而根据感应器测得的磁场强度与电流之间的关系得到的无电流时的正负磁场强度之差计为。从而就能够建立起剩磁的传递函数为
(1.6)
由此Cavallerad得到了通过测量漏磁来计算剩磁的方法
1.3 本文研究内容
第二章首先通过引入磁畴的理论,对铁芯磁化的过程进行了微观层面上的解释,根据磁畴理论的描述,磁性材料磁化的过程可以分为四个阶段:磁畴壁可逆位移阶段、不可逆磁化阶段、磁畴磁矩转动阶段、饱和阶段。其次,介绍了J-A模型,它将铁芯的初始磁化的过程分成了可逆磁化阶段与不可逆磁化阶段两个部分,并由此建立了微分方程式,通过求解此微分方程式,即可确定在不同H值时的M值大小。最后引入了Preisach模型,它将构成铁芯的磁偶极子按照与两种状态分成S 与S-两个区域,通过偶极子状态的改变来反映H值改变,从而表示出了铁芯的初始磁化过程与沿磁滞回线运行的过程。
根据磁畴理论,在外部场强很小时,磁畴壁做可逆位移运动,而类似的在J-A模型中,也存在一个可逆磁化过程,因此可考虑给铁芯一个微小信号以模拟小的场强,此时对铁芯磁通的影响也是很小的。另外在Preisach模型中铁芯沿初始磁化曲线运动的开始阶段,扫过的面积很小,因而由S-变成S 的区域也很小,同样的,可以考虑施加一个微小信号于铁芯上以确保对磁通的影响很小。依据上述结论,即可得到本次仿真的基本思路与方法。
以上是毕业论文大纲或资料介绍,该课题完整毕业论文、开题报告、任务书、程序设计、图纸设计等资料请添加微信获取,微信号:bysjorg。
相关图片展示:







您可能感兴趣的文章
- 一种确定磁探针集总电路参数的标定方法外文翻译资料
- 一种人体可接触的大气压低温等离子体射流装置研究(适合电气B方向)毕业论文
- 氩氧中大气压DBD放电特性研究(适合电气B方向)毕业论文
- 大气压氩等离子体射流放电影响因素的仿真研究(适合浦电气B方向)毕业论文
- 含氧高活性均匀DBD改性聚合物薄膜研究(适合浦电气B方向)毕业论文
- 反应器结构对气液两相DBD放电特性的比较(适合浦电气B方向)毕业论文
- 南京某公司研发楼电气设计毕业论文
- 金帆北苑地块经济适用住房——02栋商住楼电气设计(适用于浦电气1004~06A方向学生)毕业论文
- 扬州人武部大楼电气设计毕业论文
- 金帆北苑地块经济适用住房——04栋商住楼电气设计(适用于浦电气1004~06A方向学生)毕业论文


