基于开关电容结构的锂离子电池的主动均衡研究毕业论文
2020-02-18 11:04:55
摘 要
锂离子电池由于其能量密度高、使用寿命长、可快速充电和环境友好等诸多优点,在新能源技术发展中有着重要且广阔的应用前景,然而锂离子电池的不一致性和其参数指标差异是阻碍推广的重大难题,可见研究锂离子电池的均衡管理技术尤为重要。本文阐述了锂离子电池不均衡现象的成因和影响,并归纳了锂离子电池均衡管理技术的国内外研究现状,通过比较各类均衡方式,从而选择了电容式主动均衡管理系统进行更深入的研究和探讨。
本文提出了一种自动开关耦合电容均衡器,它可以实现电池串任意位置到任意位置之间的均衡,每个电池单元只需要两个开关和一个电容器。所有MOSFET均由一对互补PWM信号控制,能量可自动直接从任意较高电压的电池输送到任意较低电压的电池,无需电池监控电路,从而实现独立于电池数量和初始电池容量的高平衡效率与速度,解决了传统电容式均衡器应用于长电池串时平衡速度较慢且平衡效率较低的问题。
在自动开关耦合电容均衡电路的基础上,加入了均衡控制策略,当锂离子电池单体间的最大SOC差值达到某一值时,均衡器开始工作,直至所有电池单体的SOC均衡到一定精度时,均衡器停止工作,以此减小电路中的开关损耗。同时加入了充放电控制策略,从而防止电池单体过充或过放的情况。
基于以上设计,通过MATLAB的SIMULINK,对本文提出的自动开关耦合电容均衡器进行三种状态下的仿真,即静置状态、充电状态和放电状态,验证了该均衡电路具有高效的均衡能力。
关键词:锂电池;电池管理系统;主动均衡;电容开关;MATLAB仿真
Abstract
Lithium-ion batteries due to its high energy density, long service life, can fast charge, and environment friendly, and many other advantages, in the development of new energy technology has important and wide application prospects, however the lithium ion battery inconsistency and its parameter index difference is a major problem, hinder the promotion of the equilibrium of research on lithium ion battery management technology is particularly important.This paper expounds the causes and effects of the imbalance phenomenon of lithium ion battery, and summarizes the research status of lithium ion battery equilibrium management technology at home and abroad.
This paper presents an automatic switch coupling capacitance equalizer, which can realize the balance between any position and any position of the battery string.Mosfets are all controlled by a pair of complementary PWM signal, energy can be automatically directly from any arbitrary high voltage battery to the low voltage of the battery, no battery monitoring circuit, so as to realize high equilibrium that is independent of cell number and initial battery capacity, efficiency and speed to solve the traditional capacitive equalizer balance slower when applied to the battery long string and the problem of low efficiency of balance.On the basis of the auto-switch coupling capacitor equalization circuit, the equalization control strategy is added. When the maximum SOC difference between the lithium ion battery monomer reaches a certain value, the equalizer starts to work until the SOC equalization of all the battery monomer reaches a certain precision, the equalizer stops to reduce the switching loss in the circuit.At the same time, the charging and discharging control strategy is added to prevent the overcharge or overdischarge of the single battery.
Based on the above design and MATLAB SIMULINK, the automatic switch coupling capacitor equalizer proposed in this paper is simulated in three states, namely, static state, charging state and discharge state, which verifies that the equalization circuit has efficient equalization ability.
Keywords: Lithium-ion battery,BMS,Active Equalization,Capacitance Switch
目 录
第1章 绪论 1
1.1研究背景和意义 1
1.2电池不均衡现象及影响 2
1.2.1电池均衡的判断标准 2
1.2.2电池不均衡的原因 3
1.2.3电池不均衡的影响 3
1.3锂电池均衡管理技术国内外研究现状 4
1.3.1被动均衡 4
1.3.2电容式均衡 4
1.3.3电感式均衡 6
1.3.4变压器式均衡 6
1.4课题研究内容及章节安排 7
1.4.1研究内容 7
1.4.2章节安排 7
第2章 电容式均衡电路及均衡策略 8
2.1电容式均衡电路结构 8
2.2 电池均衡策略 9
2.3 小结 10
第3章 电容式均衡系统设计 11
3.1均衡电路设计 11
3.1.1开关耦合电容均衡器的配置 11
3.1.2开关耦合电容均衡器的原理 12
3.1.3 参数计算 14
3.2 控制电路设计 19
3.2.1 均衡控制电路 19
3.2.2 充放电控制电路 21
3.3小结 21
第4章 基于Matlab的电容式均衡系统仿真 22
4.1 电容式均衡系统的Matlab仿真电路 22
4.2静置状态下的均衡仿真 25
4.3充电状态下的均衡仿真 27
4.4放电状态下的均衡仿真 28
4.5小结 29
第5章 总结 30
参考文献 32
致 谢 34
第1章 绪论
1.1研究背景和意义
随着世界人口和社会经济的快速发展,现代人对生活质量的追求开始日益趋增,这些都使得各国对能源供给越来越依赖,尤其是石油资源。然而在高需求的现代社会,传统的石油和煤炭等不可再生能源已经无法满足各行业的运作以及人类生活的需要,其带来的环境问题更是让各国政府呼吁节能减排。石油资源所伴随的汽车产业等虽然刺激了世界经济的高速发展,但面对雾霾袭击、光化学烟雾污染、生态环境严重破坏和石油能源枯竭等诸多困扰,世界各国开始有了一个共识:寻求和开发新能源技术迫在眉睫。
开发利用新型能源已经成为我国可持续发展的重要战略,目前广泛利用的新能源有风能、太阳能和核能等。而电能由于其无污染、容易获取和转换、使用方便以及运输方便等优点,得到了各行业各领域的推崇和应用。目前,便携式储存电能的技术主要分为两种:干电池和二次电池。二次电池可以重复充放电且成本相对较低,从而被大力推广。
常用的可重复充放电的二次电池主要有镍镉电池、铅酸电池、镍氢电池和锂离子电池等,其中锂离子电池由于能量密度高、无记忆效应、工作电压高、使用寿命长、自放电率低等优点,成为二次电池中应用的主流。[1]同时,锂离子电池作为一种绿色电池,所用的材料无毒无害,对生态环境十分友好。各类动力电池的主要性能参数比较如表1-1所示。可见,锂离子电池在工作电压、循环寿命等方面都优于其它电池,是二次电池中的首选类型。
表1-1 各类动力电池的主要性能参数比较[2]

限于目前锂离子电池低电压、小容量的制作水平,若要在中高电压、中大容量的应用场合中实现要求,通常采用将多个锂离子电池单体进行串联的方式,达到高电压大功率的应用要求。然而在实际应用中,对于串联方式的锂离子电池组,各电池单体的指标参数由于生产工艺等问题总是会出现一定的差异,难以达到完全均衡一致的充放电,从而可能出现某个单体电池过充或者过放的情况,长期过度充放电容易造成电池间不一致性的增大、电池性能的损坏,形成一个恶性循环,最终导致该电池组无法达到正常工作的效果甚至减少电池寿命,直至报废。[3]
因此,锂离子电池组十分有必要引入均衡管理系统。均衡管理系统是电池管理系统中重要的组成部分之一,其致力于减小锂离子电池串联组中电池单体之间的不一致性,通过被动均衡电路或主动均衡电路的参与,各电池单体的电量趋于均衡,电量状态差异控制在一定精度范围内,从而防止了某一电池单体过充或者过放的现象。[4]
通过研究锂离子电池的均衡管理系统,可以避免因过充或过放而带来的电池损耗,增大了锂离子电池组的使用寿命,作为个工业中科技产品的能源载体,无疑是优化了产品的性能。
1.2电池不均衡现象及影响
1.2.1电池均衡的判断标准
研究电池的不均衡现象,确定电池间不一致性的程度,以及所设计的均衡管理系统是否能达到预期效果,这些都需要一个确切的指标作为判断标准。常用于描述锂离子二次电池状态的指标有电池容量、电池的荷电状态和电池电压三类。
(1)以电池容量为均衡判断标准。电池容量是指电池中所存储的电量大小,表示在一定条件下电池可放出的电量,当电池的实际容量出现差异时,即为电池的不一致性产生。此时均衡的目的是为了能使电池的实际容量逐渐相同。电池的具体容量与温度、老化情况、自放电率等诸多因素有关,[5]因此想要准确获取每个电池单体的实际容量十分困难,掌握的具体容量也有较大的误差。
(2)以电池的荷电状态为均衡判断标准。电池荷电状态(SOC,State of Charge)是指电池使用一段时间后的剩余电量与其完全充电状态的电量的比值,通常用百分数表示[6],取值范围0%-100%。锂离子二次电池在一定条件下无法再继续吸收能量的状态定义为SOC=100%,表示电池完全充满;锂离子二次电池无法再放出能量的状态定义为SOC=0%,表示电池完全放电。此时均衡的标准是使各电池单体的SOC达到一致。电池的SOC定义式如式(1-1)所示:
或者是
(1-1)
其中,
表示锂电池的剩余电量,
表示锂电池已经放出的电量,
表示在充满电时锂电池以恒电流
进行放电时的总容量。
(3)以电池电压为均衡判断标准。通过检测电池单体的端电压,比较电压差异,在均衡电路的工作下,是各个电池的电压达到一致,同时保证每个电池单体不过度充放电。电压检测的技术十分成熟,检测结果也非常精确,缺点是电压均衡不适合大电流场合,可能会产生比较大的误差。
1.2.2电池不均衡的原因
电池组不一致性的原因主要包括两个方面:一是制造过程中由于生产工艺的差异和所用材质的不均匀等原因,使得电池在出厂时就存在内阻或实际容量等微小差别,这种先天差异无法避免[7];二是在电池组在投入使用后,由于各个电池单体的自放电程度、温度和外部环境等差别,电池之间的状态出现不一致,最终导致电池的可用容量不尽相同。
电池的不均衡性是一个不断积累的过程,受时间的影响较大,使用时间越长电池之间的差异就会越大,已经存在的差异又会影响下一次使用,从而导致更大的差异,形成一个恶性循环。
1.2.3电池不均衡的影响
从电池不均衡的两点原因可以看出,电池组出现的不一致性只能尽量减小,但无法避免。因此需要了解电池不均衡所会带来的影响,其大致分为:
(1)容量损失。电池组通常将电池进行串联投入使用,因此电池组的整体充放电能力实际由容量最小的电池单元决定,即其逻辑符合“木桶效应”[8]。充电状态下,当其中一个电池单体达到完全充电时,此电池会出现过充现象,从而提前满足充电截止条件,串联的电池组整体就无法继续充电,此时其余未达到满充状态的电池单体就出现容量损失。放电状态下,当其中一个电池单体达到完全放电时,此电池会出现过放现象,从而提前到达放电截止条件,串联的电池组整体就无法继续放电,此时其余未完全放电的电池单体就存在剩余的电量无法利用。[9]
(2)寿命减小。电池组的整体寿命与充放电一样符合“木桶效应”,当一个电池的寿命结束,串联的电池组就随之寿命结束。[10]通常情况下,容量最低的电池往往就会成为寿命最短的电池。参照上文提到的容量损失,可以发现,出现过充或者过放现象的电池就是容量最小的电池单元,这将导致电池的电解液膨胀、蒸发、发热等,长此以往该电池的寿命会逐渐缩短。
(3)内阻增大。串联的电池组其内阻为每个电池单体内阻值之和。若电池单体长期有过充电或过放电现象,电解液的浓度会增高,产生结晶现象从而导致极板导电面积减小,内阻最终变大。[11]
1.3锂电池均衡管理技术国内外研究现状
锂离子电池均衡管理技术是指通过各类均衡电路使锂离子电池组中各个电池单体的容量水平达到一致。当前的主要均衡方式有主动均衡型和被动均衡型。被动均衡是通过消耗能量来实现均衡,也称能耗均衡或者有损均衡;主动均衡通过电容、电感、变换器从高电压的单体电池中转移能量到低电压的单体电池中,从而实现电池组的均衡,也称非能耗均衡或者无损均衡。[13]
1.3.1被动均衡
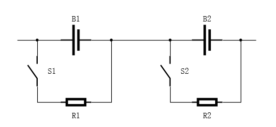
所谓被动均衡,就是利用电阻等耗能元件独立并联于各单体电池中,当某一单体电池电压过高时,其高出的部分电量就会通过耗能元件以热量的形式耗散,也可以同时对多个单体电池进行均衡。每个电池单体上并联一个通断开关和耗能电阻,通过单片机系统软件对通断开关进行控制,这种均衡方式操作十分简单,应用也很灵活,成本非常低。如图1-1所示。
由于被动均衡方式是将电能转化为热量进行耗散,因此相当于这部分能力被浪费掉,同时对电池组的散热能力也有极大的考验,如果均衡时的电流过大,多余的热量会导致电池组的热量分布不均匀,从而加剧电池组的不一致性。

图1-1 电阻式均衡示意图
1.3.2电容式均衡
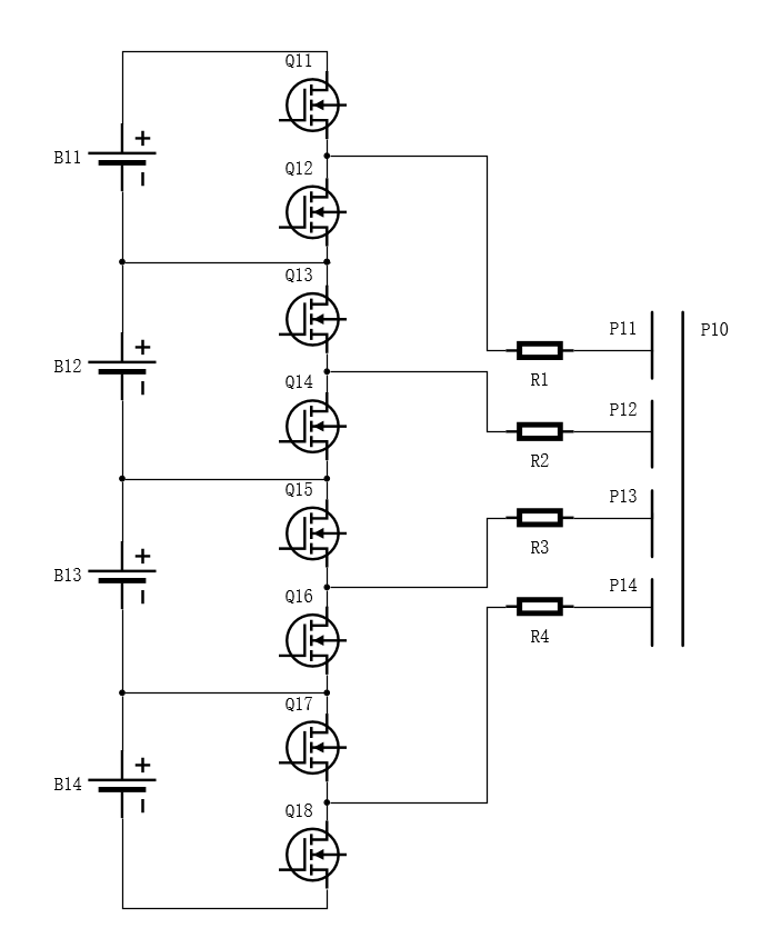
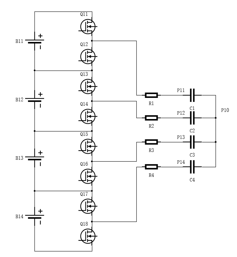
电容式均衡是将电容作为存储能量的载体,首先使电压较高的电池单体的能量流入电容,然后电容再将能量传递给电池电压较低的电池单体,实现了能量的转移,达到主动均衡的效果。电容式主动均衡主要有两种经典方法:开关电容拓扑和单开关电容拓扑。这两种结构均是利用外部能量存储装置(电容器)在相邻电池之间穿梭能量。
在开关电容拓扑这种结构中,为了平衡n个电池,需要2n个开关和n-1个电容器。控制策略非常简单,因为只有两种状态。例如,在一种状态下,
将与
并联,并且
将被充电或放电以获得与
相同的电压。在此过程之后,系统将转向另一个状态,在这种状态下,
将与
并联,并且会重复前一状态的行为。在此过程的循环之后,
和
将平衡。因此,总电池组可以平衡。开关电容器拓扑结构的优点在于它不需要智能控制,并且可以在再充电和放电操作中工作。这对于电池不具有充电结束状态的混合动力电动汽车非常重要。

以上是毕业论文大纲或资料介绍,该课题完整毕业论文、开题报告、任务书、程序设计、图纸设计等资料请添加微信获取,微信号:bysjorg。
相关图片展示:







您可能感兴趣的文章
- 一种确定磁探针集总电路参数的标定方法外文翻译资料
- 一种人体可接触的大气压低温等离子体射流装置研究(适合电气B方向)毕业论文
- 氩氧中大气压DBD放电特性研究(适合电气B方向)毕业论文
- 大气压氩等离子体射流放电影响因素的仿真研究(适合浦电气B方向)毕业论文
- 含氧高活性均匀DBD改性聚合物薄膜研究(适合浦电气B方向)毕业论文
- 反应器结构对气液两相DBD放电特性的比较(适合浦电气B方向)毕业论文
- 南京某公司研发楼电气设计毕业论文
- 金帆北苑地块经济适用住房——02栋商住楼电气设计(适用于浦电气1004~06A方向学生)毕业论文
- 扬州人武部大楼电气设计毕业论文
- 金帆北苑地块经济适用住房——04栋商住楼电气设计(适用于浦电气1004~06A方向学生)毕业论文


