台阶爆破震动预测方法分析及波形预测模型毕业论文
2020-02-18 00:09:46
摘 要
随着国民经济建设的蓬勃发展以及爆破技术的日益进步,爆破工程正越来越广泛的应用在国民经济的各个领域中。在爆破技术给人们带来巨大经济和社会效益的同时,由爆破工程产生的振动危害也引起了社会各界的广泛关注,爆破振动的影响研究也成为了国内外学者重点关注的领域。本文对爆破振动的原理以及衰减机制进行分析研究,并且针对爆破振动的预测也进行了详细的分析。针对基于单孔爆破振动波形线性叠加原理对多孔爆破振动波形进行预测的方法,利用傅里叶级数和概率统计方法对现有的模型进行了改进。利用科学计算软件MATLAB根据改进的模型编写程序,对多孔爆破振动波形进行仿真模拟。通过得到的模拟结果表明,在原有方法的基础上改进的爆破振动波形预测模型更加的合理。
关键词:爆破振动;衰减规律;MATLAB;傅里叶级数;单孔波形叠加
Abstract
With the vigorous development of national economic construction and the gradual advancement of blasting technology, blasting engineering has been applied more and more widely in various fields of the national economy. While the blasting technology brings great economic and social benefits to people, the vibration hazard generated by the blasting project has also attracted wide attention from all walks of life. The research on the impact of blasting vibration has also become a focus of scholars all over the world. In this paper, the principle of blasting vibration and the attenuation mechanism are analyzed and studied, and the prediction of blasting vibration is also analyzed in detail. Aiming at the methods of predicting the vibration waveforms of multi-hole blasts based on the linear superposition principle of single-hole blasting vibration waveform, the existing model is improved by Fourier series and statistical method. The mathematical simulation software MATLAB was used to simulate the single-hole and multi-hole blasting vibration waveforms according to the improved model by writing program. The obtained simulation results show that the improved prediction model for blasting vibration waveforms is more reasonable.
Key Words: Blasting vibration; Attenuation law; MATLAB; Fourier series; Single-hole waveform superposition
目 录
摘 要 I
Abstract II
第一章 绪论 1
1.1 问题的提出及研究意义 1
1.2 国内外研究现状 1
1.2.1 爆破振动原理研究 1
1.2.2 爆破振动传播规律的研究现状 2
1.2.3 爆破振动安全判据研究 3
1.2.4 爆破振动监测研究 3
1.3 小结 4
第二章 爆破振动的产生机理及衰减规律 5
2.1 爆破地震波 5
2.1.1 爆破振动产生机理 5
2.1.2 爆破地震波的类型 6
2.1.3 爆破地震波的传播方式 8
2.2 爆破振动的衰减及规律 9
2.2.1 爆破地震波的衰减机制 9
2.2.2 爆破振动速度衰减规律 10
2.2.3 爆破地震波能量衰减规律 11
第三章 爆破振动预测方法分析 13
3.1 爆破振动速度预测 13
3.1.1 地振动经验公式法 13
3.1.2 基函数回归法 14
3.1.3 人工神经网络预测法 14
3.2 爆破振动波形预测 14
3.2.1 多频带小波系数预测方法 15
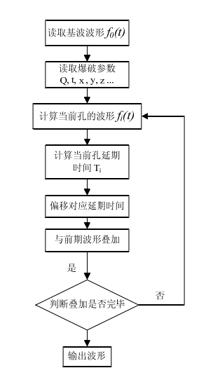
3.2.2 单孔线性叠加预测方法 15
第四章 爆破振动波形预测模型分析及改进 17
4.1 预测模型分析 17
4.1.1 单孔线性叠加预报方法原理 17
4.1.2 距离和装药量对预测模型的影响 19
4.1.3 预测方法具体步骤 19
4.2 波形预测模型的改进 20
4.2.1 傅里叶级数介绍 21
4.2.2 具体改进方案 22
4.3 波形预测计算及模拟分析 22
4.3.1 MATLAB介绍 22
4.3.2 模拟预测过程 23
4.3.3 预测结果分析 27
第五章 结论 28
参考文献 29
致谢 31
第一章 绪论
1.1问题的提出及研究意义
随着社会的发展,各行各业都在一定程度上使用爆破工程技术来提高自身行业的发展,这导致了一个新的问题出现,就是爆破所带来的振动危害对周围环境的影响也越来越大,人们开始对爆破引起的振动危害十分重视。很多爆破工程的纠纷都与爆破振动有关,边坡倒塌、建筑物裂缝等问题都是在施工过程中经常见到的,因此对爆破振动进行研究一直是至关重要的。但是在爆破过程中涉及到爆炸力学、地震学等许多与爆破行业相关的学科,即使从爆破技术产生时的不成熟一直到今天的广泛应用,但人们对爆破这个科学技术的了解并没有达到完全掌控的地步。
在爆破过程中产生了很大一部分能量,但仅仅只有一小部分能量在实际工程中得到应用,而剩余的大部分能量会以冲击波、热能等形式被释放到现实世界中,由于这些能量具有很强的破坏性,因此它们的到来会对周边环境产生巨大的影响。在这些危害之中,爆破振动产生的频率最高且造成的影响最大,因此在研究爆破产生的危害时需要重点关注爆破振动。人类社会在不断的发展,而爆破技术在现实中的投入使用频率也越来越高,因而对这方面的要求也越来越细致。所以,对于爆破振动的了解以及如何减弱爆破振动成为了人们比较关注的一个重要问题。
从各方面来看如果要完全掌握爆破振动的相关理论与实际的应用,就要求我们对爆破振动产生的原理以及传播过程中的衰减规律进行了解和掌握,同时还要掌握爆破地震波的分析理论和方法,从而为地震波的预测分析、安全评价和质点控制提供理论指导。因此,在所有的爆破振动研究当中,其产生的原因以及其衰减方式和规律成为了最重要的研究,它们具有十分重要的理论意义,直接影响到爆破工程的现实性。
1.2国内外研究现状
1.2.1爆破振动原理研究
在爆破振动的研究过程中,爆破振动的原理是整个过程的开始,也是极其重要的一部分。在国际上,很多外国专家学者早在20世纪就已开始对爆破振动产生的机理及其传播和衰减规律进行研究。爆破地震效应的研究可追溯到1927年由Rockwell E.H对采石场中爆破对结构物的影响所做的工作,随后,各国学者陆续对此展开研究,如Crandle[1](1949年)对爆破振动的传播特性以及振动规律的研究;Longerfors[2](1958年)分析了影响爆破振动强度的因素。他们在爆破振动的传播规律、影响因素等方面进行了一系列研究,并且针对不同的建筑物制定了不用的破坏标准。
在20世纪初,日本专家大森房吉等提出了静力理论[1],奠定了“静力法”的基础。结构受到静力等效最大水平作用力P为:
(1.1)  | 
式中:
上述式子在计算上简便,但是与实际还是有些区别。
在我国,从1960年开始,研究学者根据爆区周围因素不同,如地形条件、周围建筑物密集程度等,进行了从不同角度上的爆破振动试验,根据不同试验得到的数据汇总,总结出来了爆破振动传播速度的经验公式;同时还对周边不同建筑制定了不同等级的破坏标准。国内其他学者也开始对爆破振动破坏机理以及传播规律进行了从理论上与实际上两方面的研究,为爆破振动预测打下了坚实的基础。
1.2.2爆破振动传播规律的研究现状
在上个世纪20年代左右,Rockwell E.H通过大量数据的观测以及计算对爆破振动波的传播规律和特性进行了研究,此后各国学者纷纷对此开展研究。他们将由爆破产生的地震波与天然地震产生的地震波进行对比,发现了爆破地震波有如下特点:①振动的频率较高;②振幅衰减得快,衰减距离以米计量;③振动持续时间较短,一般为1-2秒;④振幅大,加速度的幅值为重力加速度的数十倍;⑤振动强度、传播方向等可由爆破参数进行预测。通过学者们的深入研究,人们发现爆破地震波特征主要与爆破方法、装药量、地形地质条件等有关。
影响爆破地震波的传播因素有以下几个:①爆源变量因素;②传播途径变量因素,如爆区的地址条件,爆心距等。这些因素决定了爆破振动强度,频率等特性。在初期的爆破振动研究中,研究人员们对于爆破振动的研究仅在于爆破振动中产生的单一的波形的参数及其速度峰值对周围建筑物产生的影响,前苏联学者萨道夫斯基在研究中提出了爆破振动衰减规律的经验公式,在爆破振动预测方面广泛应用:
(1.2)  | 
式中:
由于当时条件有限,早期得到的结论比如振动强度的经验公式未能具体反映实际工程的情况,存在一定误差,具有一定的局限性。尽管通过大量爆破振动试验获得大量的数据对经验公式进行修正、完善,但误差还是较大。
随着第三次工业革命的到来以及计算机技术与物理学的不断深入结合,新的预测方法被不断的提出。如在上世纪八九十年代,美国学者Manoj Khandelwal等通过建立了人工神经网络模型等方式,得到了振动速度的衰减公式,并在此基础上优化爆破参数的相关方法模型;另一部分学者,如Blair[5]对装药的弹塑性条件下的表面振动的理论进行了研究,结果表明,地表振动幅值随压力方程中频率范围的增加而增加:爆破远区随炸药爆速的增加而增加,而在近区则是增加到临界值后随爆速的增加而降低。
1.2.3爆破振动安全判据研究
在工程爆破中,对于爆源周围的各种建筑物、地下巷道等,应对它们的安全性和稳定性做评价,再根据得到的结论作出相应的防护措施。为了能够安全有效地减弱爆破振动对周围环境的影响,全世界各国在基于当地条件下分别制定了符合各国标准的安全判据。在早期的爆破振动安全判据研究中,人们还只是以单一的强度因子来对判据进行描述。但是随着技术不断提高,对研究的不断深入,研究人员发现如果禁用单一强度因子来对爆破振动安全判据进行描述,那么在实际应用中会存在一定的误差。在之后的研究中发现,爆破振动对周围建筑物的破坏不仅与振动强度有关,还与频率相关。
随着研究进一步深入,研究学者发现爆破振动持续时间也会对周围设施产生影响。但是在我国2014年最新颁布的《爆破安全规程》(GB 6722-2014)[6]中也并未考虑振动持续时间的影响,因此在此方面上我们对其的研究还存在不足的地方。目前爆破振动强度、持续时间等因素对建筑物的破坏有重要影响已经在全世界范围内有了一致的观点,同时建议制定综合考虑这几个方面因素的爆破安全判据,使其更符合工程的实际需要,提高爆破振动安全判据在现实中的合理性与准确性。
1.2.4爆破振动监测研究
爆破振动监测的主要目的是为了能够在爆破技术运用时了解并且掌握因爆破而产生的振动的一些机理,比如振动的传播规律、衰减机制等。监测的最主要的目的在于减弱周围环境受到的影响。监测的内容包括:质点振动测试速度、加速度测试等。爆破振动测试是结构物对于正在进行观测的爆破振动的反应,其振动是由不断变化的力所引起的(包括大小和方向)。以Longerfors为代表的很多研究学者认为,研究爆破振动速度对于爆破振动预测具有代表性,也是估计周围建筑承受能力的一个很好的标准。
爆破振动测试发生了许多改变,从一个由单项到多项的测量标准;从机械到电子的发展;在信号传输方面,从需要人手动记录到机器自动录入。到现在为止,社会各方面技术都向着人工智能、无人化方面发展,爆破振动监测方面也一样,也朝着智能化发展,需要人工记录的那些记录仪在行业上也被淘汰。由于集成电路器件和小型元件的采用,在测量记录爆破振动的时可以根据实际情况将测振仪放置在设置好的测点周围,从而使得在监测时产生对于施工人员的危险更小,得到的测量结果更加全面和便捷。在此基础上测振的抗干扰能力相比人工监测提高了很多,操作简单,工作更可靠。
1.3 小结
爆破振动对周边环境产生的影响因素是多方面的,包括周围建筑物的动力特性,爆破振动的振动速度、频率,爆破振动产生循环次数(造成累计损伤),以及爆破振动的持续时间等等。这些因素在对爆破振动进行各方面研究时都是不可忽略的。
纵观对于爆破振动几十年来的研究历史,国内外学者分别从爆破振动原理、爆破振动衰减机理以及爆破振动危害控制等许多方面对爆破振动进行了大量深入且细节的研究,并在这些领域及实际应用中取得了许多成就。但是由于爆破振动产生的地震波本身就与天然地震波类似,具有瞬发性以及不可控制的特性,再是因为爆区周围的环境存在许多不确定因素,因此会导致爆破振动具有很大的随机性。到目前为止,尽管爆破振动的传播规律从理论上看上去是简单有规律,但是正是因为种种不确定因素的存在导致了爆破振动尚未得到完整的认知。人们在爆破振动这一领域的研究仍然任重道远。
第二章 爆破振动的产生机理及衰减规律
爆破振动作为炸药爆炸的必然产物,是爆炸时所形成的应力波经衰减而来的,爆破时产生的爆破能量使爆源附近的建筑物等发生破坏,且由于应力波的作用又使附近介质产生应力作用,进而形成裂隙;另外残余的部分能量通过波的方式传到地面,引起地面的振动,形成爆破振动。虽然在所有因爆破而产生的能量当中,对周围坏境产生振动影响的能量仅占很小的一部分,但任由其发展,还是会对附近建筑造成影响,严重时可能导致建筑物倒塌。因此对爆破地震波的形成机理、衰减机制等特性充分了解,在实际工程当中非常具有理论和实际意义
2.1 爆破地震波
2.1.1 爆破振动产生机理
爆破振动的产生是因为由爆破产生的爆破地震波在岩体中传播引起的。研究发现[8]:炸药爆炸的时候会在周围形成一定强度的冲击波,它的作用范围在10到15倍的等效药包半径距离左右。但随着传播距离进一步增大,冲击波的威力逐渐衰减,应力幅值也不断降低,最后冲击波从而演变成应力波。当应力波传播至离爆心400到500倍等效药包半径距离左右,应力波的强度进一步降低,此时称之为爆破地震波。炸药在岩石内爆炸作用的破坏分区如图2.1所示:

图2.1 岩石中爆炸应力波的衰减
Fig 2.1 Attenuation of Explosive stress wave in rocks
爆破振动产生的波的传播速度与声音在岩石固体中传播速度相同,由于速度的大小仅有340m/s,对岩石产生的影响并不大,因此并不能使岩体遭到破坏。爆破地震波在形成和传播过程中,主要受到下列因素的影响:
①爆源的影响:包括爆破方法、炸药性能、药包与装药孔的不耦合情况以及有无预裂药包等
②随着与爆源的距离越远,频率越低。
③爆源附近的地质条件:包括传播介质的物理力学性质、岩土完整性等;地形高差、沟壑、地表水体等都有显著影响。
2.1.2 爆破地震波的类型
爆破地震波是一组复杂的波系,包括了若干种波形。从传播途径的方式不同来看,可以将爆破地震波分为体波和面波两个类型。
横波和纵波是体波的两种主要形式,它们的传播均是在地层内部进行的。而面波的传播是在地质介质或其他介质表面进行的,其包括瑞利波和勒夫波。其类型分类如图2.2所示。

图2.2 爆破地震波的分类
Fig 2.2 Seismic classification
其中S波为横波;P波为纵波;Love波为勒夫波;Rayleigh波为瑞利波
- 体波
 
体波一般在介质内传播,会引起介质发生外形的变化(包括体积变化),横波和纵波的不同之处在于它们的质点振动方向以及它们的传播方向不同。
(1)横波(S波)
横波的传播方向和质点振动方向垂直,传播的周期长,振幅大,会使得介质产生变形。横波在分界面上可以分为SV波和SH波的两个分量。SV波的运动方向垂直于分界面;而SH波与SV波恰好相反,它的运动方向平行于分界面,如图2.3所示。

(a)SV波 (b)SH波
图2.3 横波的两种类型
Fig.2.3 Two types of transverse wave
(2)纵波(P波)
以上是毕业论文大纲或资料介绍,该课题完整毕业论文、开题报告、任务书、程序设计、图纸设计等资料请添加微信获取,微信号:bysjorg。
相关图片展示:








        
            
