升降舞台系统设计(液压)毕业论文
2020-05-28 07:01:22
摘 要
液压升降舞台的系统设计,一开始对升降舞台的作了简单的介绍;液压升降舞台的基本构造,绘制机构简图,舞台平面采用花纹钢板的材质,大小9m×3m,厚度20mm,锰钢材质的剪刀撑支架,对升降过程的演示,然后根据计算对三个运行阶段(快速上升,低速上升,下降)的负载,算出液压缸各阶段的工作压力,输入流量和功率,并计算出了缸筒内径和壁厚,活塞直径和宽度,活塞杆长度和直径等相关参数。选取节流调速回路,根据原理设计出液压系统原理图,依照原理图选择各液压元型号,最终选用了YB1-25型液压泵,Y2-132M1-6型电机,DBDS6G10型溢流阀,L-H10L型节流阀,LA-H10L型单向节流阀,3WE6G50型二位三通换向阀和4WE6G50型三位四通换向阀,然后在对所选择元件组成液压控制回路进行回路压力损失的计算,并对系统进行调压,验算温升,接着设计出升降舞台液压系统对应的电气控制图,并对此作出了详细的分析。
目前,液压升降机有长距离的方向移动,高速度,低摩擦等优点。近年来液压升降舞台设计、制造和应用,国内和国外先进水平相比仍有很大差距,国内在设计制造过程的液压升降机的阶段,仍然存在很多问题,所以我们需要提高很多地方。
关键词:液压升降舞台,舞台结构,液压系统,电气系统
Design lifting stage system (hydraulic)
Abstract
Design of hydraulic lifting stage , firstly, I made the brief introduction on the hydraulic lifting stage; followed by analysis of the basic structure and process parameters of the hydraulic lifting platform, draw a diagram of mechanism, the stage plane by checkered steel,and the size is9m×3m×20mm, scissors supports, the demonstration of the lifting process and according to the calculation of three operation stage (fast rise, rises at a constant speed, decreased the load, calculate the hydraulic cylinder at various stages of work pressure, input flow and power, and calculate the cylinder, piston, piston rod of the related parameters. Select the hydraulic circuit design schematic diagram of hydraulic system, according to the schematic diagram of the parameter calculation and selection of the hydraulic components and the final selection of the TB1-50 type hydraulic pump, Y180L-6 type motor, DBDS6G10 type relief valve, LF-B10H throttle valve and 4WE5E6.0 type three bit four-way change valve, and then in the properties of the selected hydraulic lift stage are the necessary calculation, when checking of qualified, and then design a hydraulic lift stage schematic diagram corresponding to the electrical control diagram, and make the detailed analysis.
At present, the hydraulic lift stage is the direction of long distance moving, high speed, low friction. In recent years, the hydraulic lift stage design, manufacturing and application, compared to the domestic and foreign advanced level there are still a big gap, the domestic in the design of manufacturing process of hydraulic lift stage, there are still a lot of problems, so we need to improve a lot of places.
Key words: hydraulic lifting stage, stage structure, hydraulic system, electrical system
目录
摘要 I
Abstract II
第一章 引言 1
1.1 国内液压升降的发展状况 1
1.1.1液压升降舞台的发展背景 1
1.1.2 升降舞台的发展现状 1
1.1.3 升降舞台发展方向 1
1.1.4 升降舞台制造存在的问题 1
1.2液压技术的运用与特点 2
1.2.1液压技术的运用 2
1.2.2液压传动的特点 2
第二章 设计任务 3
第三章 液压升降舞台结构分析与设计 4
3 .1升降舞台的简介 4
3.2 升降舞台的初步方案 4
3.2.1升降台机构的设计 4
第四章 升降舞台液压系统设计 7
4.1升降舞台升降部分的设计 7
4.1.1 确定液压系统的工作要求 7
4.2.3确定液压缸的主要参数 8
4.2液压回路的选择 12
4.2.1确定油路方式 12
4.2.2其他回路的分析 14
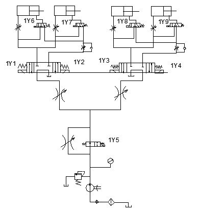
4.3升降舞台液压系统工作原理图的确定和分析 15
4.3.1升降舞台液压系统工作原理图 15
4.3.2液压系统组成及工作原理 16
4.4液压元件的选择 17
4.4.1液压泵及电动机的选择 17
4.4.2液压阀的选择 18
4.4.3流量控制阀 20
4.4.4 方向控制阀 21
4.4.5其它辅助元件的确定 22
4.5系统压力损失计算以及压力的调整 25
4.6液压元件的连接 26
第五章 电气控制回路的设计 27
5.1液压和电气控制系统 27
5.2操作控制面板的设计 28
结语 30
参考文献 31
致谢 33
第一章 引言
1.1 国内液压升降的发展状况
1.1.1液压升降舞台的发展背景
目前,各种大型表演艺术形式呈现出多样化的形式,通过舞台机械的多维运动,营造出一个精彩的艺术场景。液压升降平台是一种在大型表演中使用的必不可少的设备,它主要应用于载人或载物升降的场景中[1]。德国西门子在1880使用电动升降机时,首个正式的升降机从此刻开始正式出现。现在升降机选择国内外先进的液压马达、泵站系统、防爆装置和自锁液压系统,可提升百米高[2]。液压传动技术,从第十七世纪中期叶帕斯卡静压传动原理到第十八世纪末期德国提出的第一个液压机,液压驱动至少二到三百年的历史[3]。液压知识在工农业和生活中得到广泛应用。虽然我国液压元件和液压产品和国外同类产品的性能比较,仍有较大差距,但通过该国的研究和开发的液压产品和整治工作,在中国的液压技术,必将得到更快的发展[4]。
1.1.2 升降舞台的发展现状
相关图片展示:









