弯板机结构设计毕业论文
2020-04-15 17:47:09
摘 要
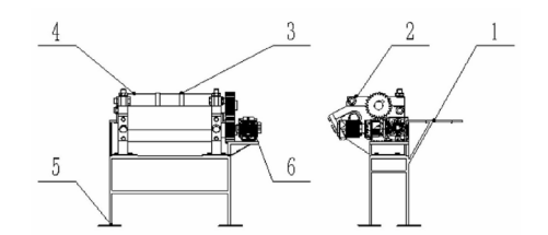
本设计为一种小型机械对称式三辊弯板机,对上辊子、下辊子和减速器及其他关键零部件进行了详细的计算校核。
本文首先对弯板机的发展进行简单概述,介绍了各类弯板机。设计前部分对弯板机上下辊进行了详细的阐述和受力分析与校核,在该三辊结构中两下辊作为主动辊做旋转运动为板材的卷制提供所需要的扭矩而上辊则可以上下挪动为弯制板材提供压力,这种三辊构造具备经济、结构简单等长处。在其后的动力选择中选择了YZP160型电动机,这种电机的工作特点适用于弯板机工作环境。论文后半部分具体的对减速器进行了详细的设计,采用的是三级减速器最后考虑到设计的可行性还对轴承等零件进行了校核。
关键词: 弯板机 电动机 减速器 齿轮 结构设计
Structure Design of Plate Bender
ABSTRACT
This design is a small mechanical symmetrical three-roll bending machine. The upper roll, lower roll and reducer and other key parts are calculated and checked in detail.
This paper first gives a brief overview of the development of plate benders and introduces various types of plate benders. Before design, the upper and lower rolls of the bending machine are elaborated in detail and the stress analysis and checking are carried out. In the three-roll structure, the two lower rolls act as active rollers to rotate to provide the required torque for the rolling of sheet metal, while the upper rolls can move up and down to provide pressure for the rolling of sheet metal. The three-roll structure has the advantages of economy and simple structure. YZP160 motor was selected in the following power selection. The working characteristics of this motor are suitable for the working environment of plate bender. In the second half, the reducer is designed in detail. The three-stage reducer is adopted. At the end of the paper, the bearing and other parts are checked to ensure the feasibility of the design.
Keywords: Bending machine;Motor;Reducer;Gear;Structural design
目 录
摘 要 I
ABSTRACT II
第一章 绪论 1
1.1课题背景 1
1.2国内外研究现状 1
1.2.1国内研究现状 1
1.2.2国外研究现状 3
1.3本课题研究内容 4
第二章 弯板机整体结构设计方案 5
2.1三辊弯板机结构特点 5
2.2确定课题设计方案 6
2.2.1弯板机结构设计方案 6
2.2.2弯板机传动设计方案 7
第三章 弯板机的设计计算与校核 9
3.1弯板机上下辊参数计算 9
3.1.1已知的设计参数 9
3.1.2计算弯板机的基本参数 9
3.2电动机功率的选型 10
3.2.1电动机功率计算 10
3.2.2 电动机的选型 14
3.3上辊的设计计算校核 14
3.3.1上辊结构设计及受力图 14
3.3.2上辊刚度校核 15
3.3.3上辊强度校核 16
3.3.4上辊疲劳强度安全强度校核 17
3.4下辊设计计算及校核 18
3.4.1下辊结构及受力图 18
3.4.2下辊刚度校核 19
3.4.3下辊弯曲强度校核 19
3.4.4下辊疲劳强度校核 20
第四章 减速器的设计计算 23
4.1减速器传动方案设计 23
4.1.1减速器总的传动比和各级传动比的分配 23
4.1.2各轴的参数计算 24
4.1.3齿轮传动设计 25
4.1.4减速器轴的设计校核计算 29
4.2轴承校核 33
4.2.1轴承参数 33
4.2.2求轴承受到的径向力 33
4.2.3验算轴承寿命 33
第五章 经济性分析 34
第六章 总结与展望 35
6.1总结 35
6.2展望 35
参考文献 36
致谢 38
第一章 绪论
1.1课题背景
弯板机是一种用辊子弯制板料使板料能够被弯制成各种不同外形形状的工业加工设备,不同外形辊子的旋转和辊子位置的变更可以加工出不同外形的零件,它是人类世界减轻劳动力和提高生产率的重要工具。
弯板机以辊子数量可以分为双辊弯板机、三辊弯板机、四辊弯板机和八辊弯板机等,其中最为常见的是三辊弯板机,弯板机以卷筒结构可以分为连杆弯板机和斜契弯板机,如果以辊子移动的方式分类则又可以分为滑道弯板机和无滑道弯板机,两者的区别在于辊子的辊架是否可以沿着滑动自由移动。弯板机在锻压机械产品中属于弯曲校正类,发展过程从机械到液压再到数控,在工业革命以来的工业生产中弯板机是常见的锻造冲压工业加工设备,它在诸如辊轴的加工、表面成形的加工和船舶等多个领域有着非常普遍的使用[1]。弯板机的运动系统包括工作辊传动机构、翻倒机构、支承辊装置、上辊翘起和平衡机构、对中机构等[2]。弯板机结构中,机架是很重要的一部分,机架如果减小结构外形尺寸和减轻结构重量就能使结构应力的变形状况较原结构好[3]。三辊弯板机与四辊弯板机的区别在于三辊弯板机比四辊弯板机结构上要小很多,但四辊弯板机能使板材端部预弯,而三辊弯板机无法做到这一点。如今随着机械制造业的迅速发展现有弯板机的弯板加工能力已无法满足实际生产的需求, 并且工业制造对工件表面精度的要求也愈来愈高, 因此,设计特大型、表面精确控形的新型弯板机已成为急需解决的问题[4]。由此看来,三辊弯板机与四辊弯板机各有千秋,并不存在绝对的好坏。现代制造业中,弯板机不断扮演着至关重要的角色,因此,我们研究弯板机的结构设计是具有现实意义的。
1.2国内外研究现状
以上是毕业论文大纲或资料介绍,该课题完整毕业论文、开题报告、任务书、程序设计、图纸设计等资料请添加微信获取,微信号:bysjorg。
相关图片展示:









