MQ4033门座起重机总体及回转机构设计毕业论文
2020-02-19 19:20:24
摘 要
门座起重机作为港口码头中重要的起重运输设备,在新时代的环境下,是非常有必要对其进行探讨与研究的。回转机构是门座起重机极其重要的的一个机构,它的性能对起重机总体的运行有着非常重要的影响,因此回转部分的设计研究也很必要。
本文完成了MQ4033门座起重机工作机构与金属结构的选型,进行了载荷计算,完成了稳定性校核,给出了起重机总体设计的CAD图纸。确定了回转机构的传动布置方案,完成了回转机构的设计计算,并对其进行了三维建模,装配以及运动仿真。
关键词:门座起重机;总体设计;回转机构;三维建模。
Abstract
As an important lifting and transportation equipment in the port terminal,the portal crane is very necessary to explore and study in the new era environment.The slewing mechanism is an extremely important mechanism for the gantry crane.It’s performance has a very important influence on the overall operation of the crane. Therefore, the design and research of the slewing part is also necessary.
In this paper,I completed the selection of the working mechanism and metal structure of the MQ4033 portal crane, carried out the load calculation, completed the stability check, and gave the CAD drawing of the overall design of the crane. The transmission layout scheme of the slewing mechanism was determined, the design calculation of the slewing mechanism was completed, and three-dimensional modeling, assembly and motion simulation were carried out.
Key Words:portal crane;load computation;rotating mechanism;3D modeling
目录
摘要 2
Abstract 3
1绪论 6
1.1目的及意义 6
1.2国内外研究现状 6
1.3设计内容 7
2 MQ4033门座起重机总体设计 8
2.1门机设计参数 8
2.2确定门座起重机工作机构和金属结构的形式 8
2.2.1确定主要工作机构形式 9
2.2.2金属结构选型 12
2.3载荷计算 14
2.3.1自重载荷及其质心位置 14
2.3.2起升载荷 16
2.3.3动力载荷 16
2.3.4物品偏摆载荷 17
2.3.5风载荷 17
2.4整机抗倾覆性稳定性的计算 26
2.4.1基本稳定性 26
2.4.2动态稳定性 26
2.4.3非工作最大风载荷时的稳定性 28
2.4.4突然卸载时的稳定性 29
2.5轮压计算 29
3回转机构设计 32
3.1回转支承装置 32
3.1.1回转支承装置介绍 32
3.1.2回转支承装置选型 32
3.2回转机构驱动装置设计 34
3.2.1回转阻力矩 34
3.2.2电动机容量的选定及验算 35
3.2.3选定减速器 37
3.2.4极限力矩联轴器 38
3.2.5制动器选择 39
3.3回转机构驱动装置三维建模 39
3.3.1 驱动装置零件创建 39
3.3.2创建装配体 43
3.3.3回转动画制作 45
4工作总结与展望 46
4.1工作总结 46
4.2工作展望 46
4.3经济与环保性分析 46
参考文献 48
致谢 49
1绪论
1.1目的及意义
随着经济全球化的影响日益加深,我国港口运输行业得到了前所未有的发展,这也让港口机械设备得到了进一步的发展。在各大港口码头中,门座起重机起到了不可替代的作用。它可用来完成堆码、搬运以及装卸等工作,同时有着较高的工作效率以及较低的建设成本,且机动性强,灵活性高,应用极广。由于国际贸易竞争越来越激烈,港口运输行业在得到发展的同时也遇到了巨大的挑战,这就对港口设备提出了新的要求。门座起重机作为港口主要运输设备,需要不断发展进步,以满足竞争日益激烈的市场需要。
因此,选择门座起重机为毕业设计的选题是极具意义且非常重要的。通过此次毕业设计可以增强我们对港口机械工作原理及方式的认识,也可以加深大学四年来专业知识的理解与应用,为以后从事机械行业向更高的目标前进打下坚实基础。
1.2国内外研究现状
国内外对门座起重机及其回转机构的研究从未断过。在国内,罗彦华利用ANSYS软件对门座起重机门架结构进行了建模与应力和应变求解,并找到了最大应力与应变处,通过改变门架结构形式,减小应力集中,优化了门座起重机产品设计[10]。在驱动装置设计方面,曾庆仪,朱君学提出了一种新的圆柱滚子式回转机构驱动装置的设计,其摆线齿轮为变位齿轮,采用偏心驱动结构,此齿轮的齿根圆弧比传统齿轮大,可解决由加工或安装等而造成的卡死以等现象[11]。在电气方面,李道霖,韩绪鹏提出了一种由可编程序控制器实现的变频调速方案,此方案可增强门座起重机的高效性与可靠性,且给出了变频器的选型以及参数设定[12]。在国外,大多致力于减轻自重,如芬兰Kone公司生产的一台起重机,它的起升机构中的减速器外壳与小车架一端梁合在一起,卷筒一端在小车架的另一端梁上,另一端与减速器相连。同时,此起重机的小车运行机构的驱动装置采用三合一式,这样就减轻了小车架以及小车的自重,同时,起重机主梁截面面积也会随之减小,使整机自重大幅度减轻。
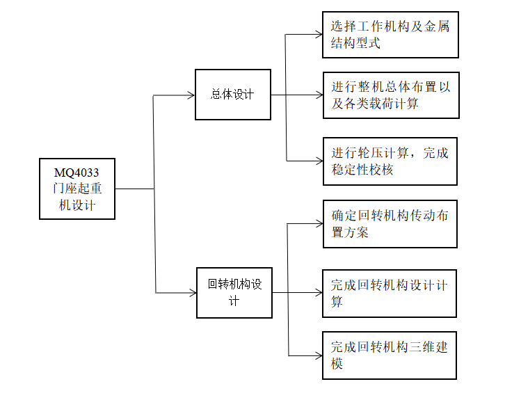
1.3设计内容
本次设计流程如图1.1所示,另完成一份总体设计方案总图

图1.1 设计流程图
2 MQ4033门座起重机总体设计
2.1门机设计参数
起重机的技术参数作为起重机设计时的基本依据,也代表着起重机的作业能力。本次设计的MQ4033门座起重机性能参数如表2.1。
表2.1 MQ4033门座起重机主要性能参数

2.2确定门座起重机工作机构和金属结构的形式
门座起重机主要是由四大工作机构、金属结构。安全辅助装置以及配套的电气设备组成。
2.2.1确定主要工作机构形式
(1)起升机构
起升机构的任务是使载荷升降,它在起重机械中是必不可少、且极为重要的工作机构。
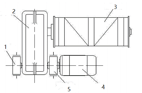
起升机构驱动装置的布置型式在很大程度上决定了机构的总体布置。本次设计的驱动装置采用分别驱动,由电动机带动卷筒旋转,从而使钢丝绳绕上或是放出卷筒,使货物升降。通过改变电动机的转向可以使卷筒正反转,制动装置则可以让货物悬吊在空中。
钢丝绳卷绕系统是起升机构传动系统的重要组成部分,由卷筒、钢丝绳、导向滑轮以及滑轮组组成。本门座起重机驱动部分布置如图2.1。

图2.1 起升机构驱动装置布置示意图
1-制动器;2-减速器;3-双联卷筒;4-电动机;5-带制动轮的联轴器

图2.2 钢丝绳卷绕示意图
(2)变幅机构
变幅机构是改变起重机幅度的机构,包括臂架及其平衡系统与变幅驱动系统两部分。本机为平衡式变幅,即变幅过程中货物重心沿近似水平线的轨迹移动,并且臂架系统的合成重心高度基本不变。其中四连杆组合臂架系统保证了变幅过程中货物保持水平移动,采用杠杆-活对重平衡的方法又保证了臂架系统的重心沿近似水平线的轨迹移动。本设计中采用单根齿条驱动变幅,当电机工作时,带动齿轮旋转,从而使齿条作直线往复运动,以驱动臂架摆动改变幅度。
本设计中,浮动轴通过联轴器与电机相连,浮动轴与减速器之间也设置有联轴器,这样电动机传递的力矩便可通过减速器放大,由齿形联轴器传递给摇架,左后传递到齿条上。本起重机变幅机构驱动部分简图如图2.3所示。

图2.3 齿条驱动变幅机构图
1-变频电机;2-高速轴联轴器;3-浮动轴;4-盘式制动器;
5-高速轴带制动盘联轴器;6-减速器;7-低速轴联轴器;
8-摇架;9-齿条总成
(3)回转机构
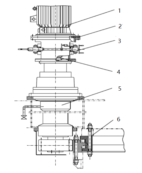
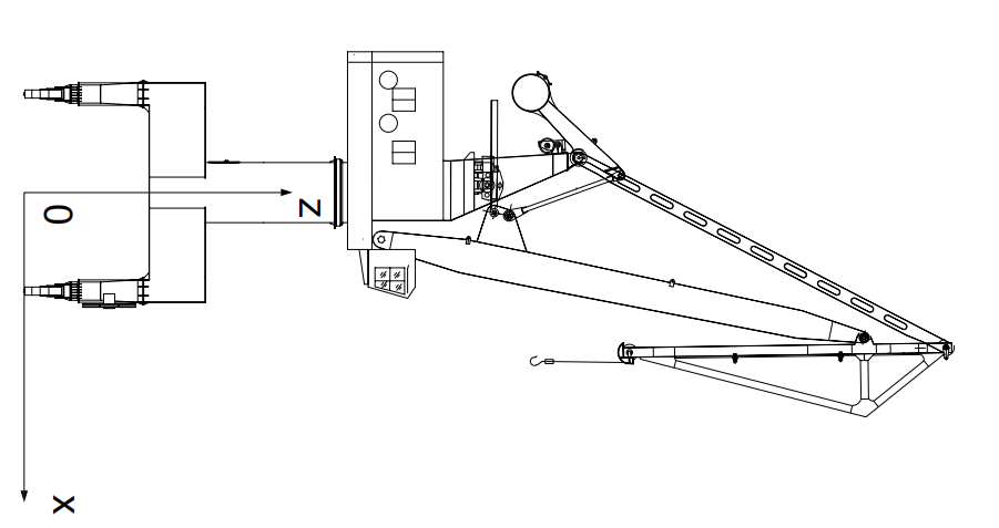
回转机构作为回转类型起重机的主要工作机构之一,可让起重机的回转部分在水平面内绕回转中心线进行转动,由回转支承装置和回转驱动装置两部分组成。
本次设计中,回转机构由两台驱动装置、回转支承、安全装置等组成。回转支承装置选用滚动轴承式中的三排滚柱式回转支承,它承载能力大,可应用于大吨位起重机中。两台驱动装置对称布置,其传递方式为:电机通过极限力矩联轴器连上行星齿轮减速机进行减速,再通过回转小齿轮带动回转支承。回转机构的布置如图2.4所示。

图2.4 回转机构布置图
1-电机;2-上箱体;3-制动器;4-极限力矩联轴器;
5-减速器;6-回转支撑
(4)运行机构
门座起重机中,运行机构是用来变更起重机工作位置的机构,由运行支承装置、驱动装置和安全装置组成。本次设计中,运行机构采用分别驱动,由三合一减速器、开式齿轮、车轮组以及大、小均衡梁等部件组成。本运行机构总车轮数为36个,每个支腿上都装有9个车轮,其中18个为驱动轮。 运行机构的两端都装了行程限位开关以及橡胶缓冲块,可防碰撞造成的损失。为防止遭受暴风袭击,在车体上设置了锚定装置和防风系缆装置。运行机构简图如图2.5。

图2.5 运行机构简图
2.2.2金属结构选型
起重机的金属结构作为是起重机中极为重要的部分,可用来装配电器设备等,亦可承受和传递各种载荷。起重机金属结构形式虽然各不相同,但都由基本受力构件构成,这些基本受力构件分三类,分别是轴心受力构件、受弯构件以及压弯构件。
(1)臂架系统
臂架是承受和传递吊重载荷的主要构件,需要有足够的强度、刚度以及稳定性。本设计选用组合臂架结构,采用箱形实体式主臂架,箱形钢架式象鼻梁,带导流孔的实腹形大拉杆,其中的导流孔可以减少风载荷对起重机的影响。变幅方式为齿条变幅,如图2.6。

图2.6 臂架系统
(2)人字架与回转平台
本设计中人字架采用板梁式,中间设计的有一个平台,以安装起重机变幅机构。回转平台由两根主梁和多根横梁并加以面板与筋板组成,转台的尾部为箱体,以便装载固定配重。
(3)门架
本设计中选用圆筒门架,下部采用主横梁结构,中部为直圆筒,顶部为圆环形法兰盘。圆筒门架应用较,由于自重较轻以及风阻力小等优点,如图2.7。

图2.7 起重机门架示意图
2.3载荷计算
2.3.1自重载荷及其质心位置
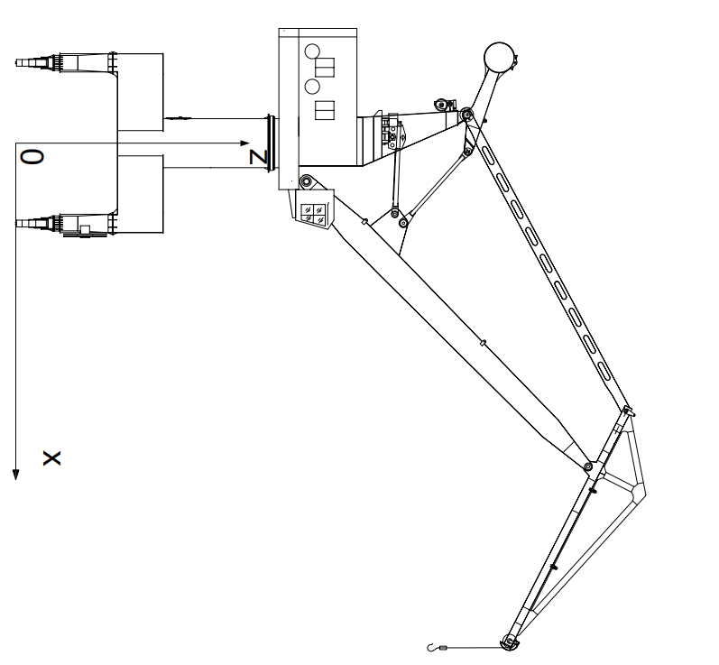
自重载荷是门座起重机计算的主要载荷。它是指起重机本身的结构、电气及机械设备、起重机工作时一直在起重机某个部件上的物件等的重力。为估算门座起重机机各部分质心位置,结合整机结构基本对称布置的特点,可建坐标系如图2.8(以支承平面形心为坐标原点,以垂直于轨道方向为X轴,以垂直支承平面向上为Z轴),并得到门机各部分质量及质心位置表2.2。


图2.8整机建系示意图
表2.2 门座起重机各部分质量及质心位置表
序号 | 部件名称 | 质量 | Rmax=33m | Rmin=12m | ||||||
Xi | Gi*Xi | Zi | Gi*Zi | Xi | Gi*Zi | Zi | Gi*Zi | |||
Gi(t) | (m) | (t-m) | (m) | (t-m) | (m) | (t-m) | (m) | (t-m) | ||
1 | 货 物 | 40.000 | 33.000 | 1320.000 | 25.500 | 1020.000 | 12.000 | 480.000 | 25.500 | 1020.000 |
2 | 吊 具 | 3.000 | 33.000 | 99.000 | 27.453 | 82.359 | 12.000 | 36.000 | 27.453 | 82.359 |
3 | 象 鼻 梁 | 14.500 | 24.521 | 355.555 | 29.975 | 434.638 | 12.541 | 181.845 | 42.974 | 623.123 |
4 | 臂架总成 | 38.500 | 10.782 | 415.107 | 29.803 | 1147.416 | 6.903 | 265.766 | 31.519 | 1213.482 |
5 | 大 拉 杆 | 4.700 | 7.774 | 36.538 | 34.445 | 161.892 | 4.967 | 23.345 | 39.968 | 187.850 |
6 | 平 衡 梁 | 10.100 | -3.548 | -35.835 | 30.664 | 309.706 | -3.534 | -35.693 | 28.738 | 290.254 |
7 | 活 对 重 | 27.000 | -6.073 | -163.971 | 31.472 | 849.744 | -5.601 | -151.227 | 26.409 | 713.043 |
8 | 小 拉 杆 | 2.900 | 2.884 | 8.364 | 27.776 | 80.550 | 0.207 | 0.600 | 27.357 | 79.335 |
9 | 人 字 架 | 39.700 | -0.686 | -27.234 | 24.144 | 958.517 | -0.235 | -9.330 | 24.144 | 958.517 |
10 | 变幅机构 | 9.600 | -0.101 | -0.970 | 23.791 | 228.394 | -0.101 | -0.970 | 23.971 | 230.122 |
11 | 机 器 房 | 10.800 | -3.256 | -35.165 | 20.453 | 220.892 | -3.012 | -32.530 | 20.453 | 220.892 |
12 | 起升机构 | 25.500 | -6.251 | -159.401 | 18.691 | 476.621 | 2.506 | 63.903 | 18.691 | 476.621 |
13 | 回转机构 | 13.100 | 0.000 | 0.000 | 16.891 | 221.272 | 0.000 | 0.000 | 16.891 | 221.272 |
14 | 转 台 | 49.700 | -3.875 | -192.588 | 15.186 | 754.744 | -3.010 | -149.597 | 15.186 | 754.744 |
15 | 配 重 | 25.000 | -7.645 | -191.125 | 19.438 | 485.950 | -7.222 | -180.550 | 19.438 | 485.950 |
16 | 电控系统 | 7.400 | -2.876 | -21.282 | 19.374 | 143.368 | -2.876 | -21.282 | 19.374 | 143.368 |
17 | 司 机 室 | 1.700 | 3.413 | 5.802 | 19.254 | 32.732 | 4.357 | 7.407 | 19.254 | 32.732 |
旋转部分小计(满载) | 323.200 | 1412.795 | 7608.793 | 7733.662 | ||||||
旋转部分小计(空载) | 283.200 | 92.795 | 6588.793 | 6713.662 | ||||||
18 | 门 架 | 75.000 | 0.000 | 0.000 | 8.183 | 613.725 | 0.000 | 0.000 | 8.183 | 613.725 |
19 | 电缆卷筒 | 2.100 | 1.732 | 3.637 | 6.862 | 14.410 | 1.732 | 3.637 | 6.862 | 14.410 |
20 | 运行机构 | 17.000 | 0.000 | 0.000 | 1.406 | 23.902 | 0.000 | 0.000 | 1.406 | 23.902 |
21 | 梯子平台 | 16.000 | 0.000 | 0.000 | 15.600 | 249.600 | 0.000 | 0.000 | 15.600 | 249.600 |
22 | 防爬锚定 | 1.300 | 0.000 | 0.000 | 0.701 | 0.911 | 0.000 | 0.000 | 0.701 | 0.911 |
固定部分合计 | 111.400 | 0.033 | 3.637 | 8.102 | 902.549 | 0.033 | 3.637 | 8.102 | 902.549 | |
合计(满载) | 434.600 | 1416.432 |
| 8511.342 |
| 481.324 |
| 8636.211 | ||
合计(空载) | 394.600 | 96.432 | 7491.342 |
| 1.324 |
| 7616.211 | |||
起重机总体质心位置可用
或
得到,将数据整理后可得表2.3。
表2.3 门座起重机总体质量及质心位置表
质量 | Rmax=33m | Rmin=12m | |||
Xi | Zi | Xi | Zi | ||
Gi(t) | (m) | (m) | (m) | (m) | |
旋转部分小计(满载) | 323.200 | 4.371 | 23.542 | 1.478 | 23.928 |
旋转部分小计(空载) | 283.200 | 0.328 | 23.266 | -0.008 | 23.706 |
合计(满载) | 434.600 | 3.259 | 19.584 | 1.108 | 19.872 |
合计(空载) | 394.600 | 0.244 | 18.985 | 0.003 | 19.301 |
2.3.2起升载荷
起升载荷即起重机在起吊额定起重量时的总的起升质量的重力,起升质量包括起重机允许起升的最大有效物品的质量、悬挂着的挠性件和其他的在升降中的设备的质量以及取物装置质量。当起升高度小于50m时,钢丝绳的质量可忽略不计。
以上是毕业论文大纲或资料介绍,该课题完整毕业论文、开题报告、任务书、程序设计、图纸设计等资料请添加微信获取,微信号:bysjorg。
相关图片展示:









