紧固件振动试验台机械系统设计毕业论文
2020-04-08 14:23:48
摘 要
因为螺纹连接件具有连接可靠性强、结构紧凑性好、便于安装拆卸等许多优良性能,所以螺纹连接件已经成为目前机械工业市场上应用最广的机械基础构件。人无完人,螺纹连接件也是如此,其在使用的的过程中难免会产生松动,一旦产生松动,轻则造成连接失效,重则导致严重的安全事故。实践表明,螺纹紧固件的松动主要原因是其在连接过程中所受到的横向振动载荷,因此对其研究与设计既有非常重要的理论意义,也有紧迫的现实意义。
为了解决螺纹紧固件连接过程中出现的松动问题,本文通过研究振动试验台的工作原理、结构组成和试验中采集的数据,同时参照GB/T10431-2008,设计了一种基于往返式振动试验方法的振动试验台。此外,运用计算机三维绘图软件Solidworks对振动试验台进行建模、虚拟装配和干涉检查,这样可以直观地发现设计中存在的问题,更重要的是对不合理的部分进行系统的优化改进。
通过对试验台的样机测试,能够显著的检测螺纹连接的防松性能,并能够很好地比较紧固件防松性能的优劣。本文的研究成果极大地推动了紧固件振动试验台的研究和发展,为以后的设计和改进提供相应的理论依据。
关键词:螺纹连接;防松性能;振动试验台
Abstract
Threaded fasteners are the most widely used mechanical base parts on the market at present. This is due to a series of advantages, such as large reliable connection force, compact structure, easy disassembly and so on. However, loosening is the biggest problem in the connection of threaded fasteners, which often leads to failure of the connection, and can even cause very serious safety accidents. The practice shows that the main reason for the loosening of the screw fasteners is the lateral vibration load in the connection process, so it has both very important theoretical significance and urgent practical significance for its research and design.
In view of the loosening of thread fasteners in the connection process, according to the working principle, structure composition and relevant test data of the test rig, a vibration test rig of reciprocating vibration test method is designed according to national standard GB/T 10431-2008. In addition, the Solidworks software is used to model, virtual assembly and interference check for the transverse vibration test rig of threaded fasteners, and the unreasonable parts of the structural design are optimized.
By testing the prototype of the test stand, it can significantly detect the loosening resistance of threaded connections, and can well compare the advantages and disadvantages of fasteners. The research results in this paper greatly promote the research and development of the fastener vibration testing platform, and provide the corresponding theoretical basis for future design and improvement.
Key Words: threaded connection; anti loosening performance; vibration test rig
目录
第1章 绪论 1
1.1 课题的研究背景 1
1.2 论文研究的主要目的和意义 2
1.3 论文研究的主要内容 3
第2章 紧固件振动试验台的方案设计 4
2.1 紧固件振动试验台的工作原理 4
2.2 紧固件振动试验台的设计要求 5
2.3 紧固件振动试验台的设计方案 6
第3章 紧固件振动试验台的结构设计 7
3.1 振幅调节装置 7
3.2 运动转换系统 9
3.3 振动试验台 10
3.4 测试夹具 11
第4章 试验台主要参数的确定 13
4.1 电动机功率计算及选型 13
4.1.1 电机功率的计算 13
4.1.2 电机型号的选用 15
4.2传动系统设计(带传动)的设计与参数选择 16
4.3 主轴参数的设计及强度校核 18
第5章 总结 20
5.1 论文总结 20
5.2 工作小结 21
参考文献 22
致谢 23
第1章 绪论
紧固件振动试验台是一种研究、分析和测试螺纹连接件在工作中承受载荷时的防松性能的专用机械试验机。在交通运输、建筑结构、桥梁设施等方面,紧固件承受大量的横向冲击载荷,如汽车的变速、启停,铆钉连接等,这些关乎人类生命安全的领域不容忽视,所以研究紧固件的防松性能就愈发重要。
1.1 课题的研究背景
全球的金融危机过后,中国工业迅速发展赶上甚至成功超越了德国,成为机械制造这一行业的第一大国。显然,紧固件是一个持续性发展的传统行业,同时也是一个充满朝气的不可替代的配套产业,因此随着机械制造行业的现代化,紧固件产业取得了突飞猛进的发展和进步。随着时代发展和科技进步,螺纹紧固件被广泛的采用,其需求量也随之显著增加。当然,紧固件连接性能的优劣将直接决定被连接件的使用效率和周期寿命,甚至会影响到工作人员的人身安全。因此,确保紧固件的连接安全除了要保证其本身的制造质量合格外,另一个决定紧固件连接的使用效率和连接可靠安全的因素是防止紧固件的松动,因为,紧固件连接的松动对工作人员带来的危害是不可估量的,造成的后果是难以想象的。
螺纹连接件的松动是由来已久的问题,为了攻克之一难题,世界各个国家的学者和研究人员付出了不懈的努力,并取得一系列研究成果,比较突出的是发现了一些防松方法:摩擦防松、机械防松,同时也设计了新型的防松紧固件,像哈德洛克螺母、唐氏螺纹、30°楔形螺母等[1]。这些防松方法提出来后,其防松效果如何评定呢?有没有科学的评定方法,这就需要使用紧固件振动试验台进行防松性能测试。
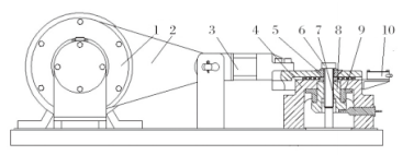
上世纪九十年代,我国制定了GB/T10431-1989紧固件横向振动试验方法,其中规定了振动试验台用来测试紧固件防松性能好坏的方法和对实验数据进行处理的方法。GB/T10431-1989主要内容为:将被测紧固件根据设定的预紧力值正确安装到试验设备上,通过振动试验机带动被测紧固件所连接的两个金属板产生周期性的相对运动,期间,金属板的周期性运动对被测紧固件施加周期性的横向动载荷,致使被测紧固件的产生松动[2]。试验过程中采集被测紧固件的所受预紧力的瞬时值,根据预紧力的数据解析紧固件的防松性能,紧固件在测试过程中预紧力减小的越慢,测试时间就越长,紧固件的防松性能也就越好,反之紧固件的防松性能就越差[3]。GB/T10431-1989紧固件横向振动试验台的结构原理如图1.1所示。

图1.1 振动试验台结构图
在上世纪中期,国外就已经开始对紧固件振动试验台的结构进行设计研究。上世纪六十年代,德国的学者就发现:紧固件连接松动是由于其在工作过程中受到一定的横向振动载荷、纵向振动载荷或者二者兼有,并得出结论螺纹紧固件产生松动的最主要的原因是往返式的横向振动。之后,工程师们根据相应的研究成果,设计了一种专门用与检测紧固件防松性能的试验机—琼克尔式振动试验机。琼克尔式振动试验机采用电机通过传动系统使机械偏心轮运转,再经过连接板等连接部件把偏心轮和上托板连接起来,从而使偏心轮的周期圆周运动转化为相应的周期性横向运动[4]。由此,上振动板和下固定板之间就会产生周期性往复运动,又因为上振动板和下固定板之间是通过被测紧固件连接起来,那么被测紧固件就会受到一个周期性的横向载荷。被测紧固件所受到周期性的横向载荷作用即是紧固件松动的动力,这就是紧固件产生松动的直接原因。
经过几十年的研究,国外的紧固件振动试验台已经非常成熟,不仅取得了巨大的研究成果,而且经受了事实的检验。数代研究学者对以往的振动试验台不断改进完善,找到了不同的机械结构提供横向载荷,除了偏心轮式,还有电磁式和液压式等新型结构,并广泛应用与紧固件机械行业中。
1.2 论文研究的主要目的和意义
根据螺纹连接的实践情况、防松性能试验检测及疲劳强度试验结果表明,螺纹连接松动失效主要是因为紧固件在工作过程中受到交变载荷的作用,而螺纹连接受到的交变载荷又分为横向动载荷和纵向动载荷。实践研究表明螺纹连接的松动起主要作用的是横向振动载荷。根据螺纹紧固件的松动原理,我们设计了一种用来制造紧固件松动过程所必需的横向振动载荷的设备,来模拟紧固件松动的过程,这就是本课题所要研究与设计的紧固件横向振动试验台[5]。该装置可以模拟出紧固件在工作过程中的情况,传递到接收器,计算机分析出实验数据并绘制紧固件的松动曲线,直接显示出紧固件的松动过程,可以直观判别紧固件的防松性能的好坏。通过紧固件振动试验台可以有效地帮助我们选用防松效果更好的紧固件,同时也能为紧固件的研究提供实践依据,更有利于推动紧固件的发展和改进。另外,根据紧固件防松性能的测试,可以检测所制造的紧固件的生产质量,从而保证了紧固件在连接过程中的可靠性、稳定性、安全性,确保机械的运转。
1.3 论文研究的主要内容
(1)首先通过研究紧固件的松动原理找到试验台的工作原理,而后确定试验台基本的设计要求和相关参数,基于这些参数制定试验台最终的设计方案。
(2)根据紧固件试验台的设计要求,确定试验机相应的机械系统:主机架、滑轨支架、振幅调节装置、曲柄连杆机构、滑动平台、对应各螺纹规格的螺栓测试用夹具和螺母测试用夹具等部分。另外,因为振动试验台在交变载荷作用下工作,所以要要建立精确的数学模型才能比较准确的计算出试验台所需功率。
(3)本论文的主要任务是机械系统设计,所以课题的终点归于运用三维软件 Solidworks 对紧固件振动试验台进行三维建模、虚拟装配,得到试验台的立体效果图,同时能够运用Solidworks对试验台结构设计进行优化。
该设计中需要解决的关键技术问题有:
如何更加精确的计算试验台功率并合理地选择电动机; 采用什么型式振幅调节结构,才能方便快捷地调节试验台的偏心距;如何设计振动试验台整体方案,使其具有良好的综合试验性能。
第2章 紧固件振动试验台的方案设计
明白了紧固件产生生松动的原因后,就可以根据这一原理,设计紧固件振动试验台的工作原理,也为后续的机械结构设计提供理论基础,指明了方向。所以本章的主要内容是确定紧固件振动试验台的设计方案。
2.1 紧固件振动试验台的工作原理
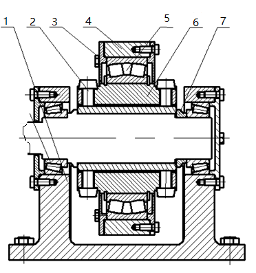
通过对螺纹紧固件的力学性能分析,我们可以清楚的知道,导致螺纹紧固件松动的主要原因是其在连接过程中受到横向动载荷、垂直冲击载荷的作用。1969年的一份研究报告指出,螺纹紧固件所受载荷作用中起主要作用的是横向动载荷,这份研究成果被后续的试验检测所证实。由此,设计一种试验台,通过机械传动产生一定的横向动载荷,来模拟实际中螺纹紧固件所受的横向力,再通过传动系统将横向振动传递到被测螺纹紧固件,达到螺纹紧固件产生松动的效果,配合相应的传感器(横向力传感器、位移传感器等)采集数据,最后根据得到的试验数据来断定紧固件防松性能的好坏。我们把这种试验设备称之为紧固件横向振动试验台,如图2.1所示。其工作原理是:首先把紧固件按照一定的预紧力安装到振动试验台上,振幅调节装置使试验台产生振动,试验台则带动被测紧固件相应的振动,在振动过程中产生一定大小的横向力,横向力则迫使被测紧固件产生松动,导致其预紧力减小甚至完全丧失,实验过程中对采用力传感器对其预紧力数值进行采集,通过分析采集到实验数据判定紧固件的防松性能,紧固件在测试过程中预紧力减小的越慢,测试时间就越长,紧固件的防松性能也就越好,反之紧固件的防松性能就越差[6]。

1. 偏心轮 2. 连杆 3. 横向力传感器 4. 振动台 5. 锥垫 6. 螺栓 7. 试验螺母 8. 夹具 9. 压力传感器 10. 横向位移传感器
图2.1 试验台工作原理示图
2.2 紧固件振动试验台的设计要求
紧固件振动试验台的设计应符合国标 GB/T10431-2008 紧固件横向振动试验方法的设计标准,并且能够满足试验频率和试验振幅的相关要求。为了满足不同尺寸的螺纹紧固件的测试要求和测试条件,就需要保证实验过程中紧固件横向振动试验台的振动频率和振幅是可变的,可根据需要进行调节,另外通过横向力传感器可以完成预紧力的加载以及后续随时间变化的情况,通过位移传感器可以检测被测紧固件的振动幅度,振动试验台传感器连接到计算机,通过计算机辅助绘图自动生成紧固件松动的实时情况,测试者可以清晰直观的观测到实验数据,最终由试验图表判定被测紧固件的防松性能的好坏。
为了满足上述功能,该试验机机械系统由主机架、滑轨支架、振幅调节装置、曲柄连杆机构、滑动平台、对应各螺纹规格的螺栓测试用夹具和螺母测试用夹具、M10-M24的螺栓螺母等部分组成。横向力传感器是用来测量并记录被测紧固件在振动实验中所受到的横向载荷的大小,经过信号处理,并能够实时的把整个实验过程中横向力的变化情况通过曲线的形式显示出来,便于分析紧固件松动过程与其所受横向载荷的变化关系[7]。在松动过程中,被测紧固件受到的预紧力随振动不断减小,这就需要预紧力传感器,进行实时检测同样经过信号处理,绘制图形曲线展示出来。不同规格的紧固需要采用的不同的测试夹具,所以针对M10~M24 规格的螺纹紧固件,就要设计相应的测试夹具。本课题所设计的紧固件横向振动试验台的主要技术参数如表 2-1 所示:
表2-1 紧固件振动试验台主要技术参数
主要结构形式 | 立式 |
测量范围 | M10~M24 |
横向位移 | 0~±2mm |
最大轴向夹紧力 | 300KN |
最大横向力 | 50KN |
试验力测量范围 | 1%~100%F.S. |
试验力示值准确度 | ±1% |
力分辨率 | ±30000码,全程分辨率不变 |
振动频率 | 3~15Hz |
位移分辨率 | 0.01mm |
夹具设计要求:
设计一套M10、M12、M14、M16、M18、M20、M22、M24螺栓和螺母测试夹具。
2.3 紧固件振动试验台的设计方案
根据紧固件振动试验台的工作原理和紧固件松动原理可以明白,试验台最终要达到的效果是产生一定幅度的振动。
一则要保证紧固件试验台的横向振动,其次使振动台振幅调节更加方便快捷,这就要求我们选用合适的机械构件和连接方式。本文参考大量国内外文献和相关研究成果,依照国标 GB/T10431-2008 紧固件横向振动试验方法的设计标准,结合自己设计思想,确定了一种试验台横向振动的机理,本文把试验台工作原理简化为一个特殊的“曲柄滑块机构”,相比一般的曲柄滑块机构,这里“曲柄”采用的是偏心量可以随意调节的机械结构。
试验台整体结构主要由动力系统、振幅调节装置、运动转换系统、振动试验台和测试夹具五部分构成,另外,包括相应的传感器件,可在测试过程中采用相应的测量组件对试验信息数据进行采集、处理。振动试验台整体的设计方案如图2.2所示。
控制系统
三相异步电动机
传动系统
运动转换系统
横向力传感器
横向位移传感器
振动试验台
预紧力传感器
测试夹具
图2.2 振动试验台整体设计方案
本次振动台的设计方案与以往项目中所完成的方案存在许多不同之处,同时对其中一些设计不合理的地方进行了相应的改进,对其主要的结构(主轴、连接杆)进行了结构优化。本次设计方案改进最大之处在于变换了电动机到振幅调节装置之间的传动方式,把原来电动机和主轴的联轴器传动改成了带传动,经过调整,紧固件横向振动试验台的结构变得更加紧凑,极大地提升了试验台整体性能。
第3章 紧固件振动试验台的结构设计
机械系统由不同的机械结构组成。在第2章具体的阐述了紧固件振动试验台的工作原理、设计要求和方案设计,基于此,进行试验台的结构设计。紧固件振动试验台主要由四部分组成,分别为振幅调节装置、运动转换系统、振动试验台和测试夹具。
3.1 振幅调节装置
按照紧固件振动试验台设计要求,试验台的振幅为0~±2mm,调节精度为0.1mm,这个数据精度比较高,需要严格设计,要确保试验的准确性。
振幅调节装置是实现和保证紧固件横向振动试验台的振幅满足测试要求的主要结构,是试验台横向振动的动力源泉,更是试验台的主要设计重点[8]。
以上是毕业论文大纲或资料介绍,该课题完整毕业论文、开题报告、任务书、程序设计、图纸设计等资料请添加微信获取,微信号:bysjorg。
相关图片展示:









