标志308离合器设计毕业论文
2020-02-17 17:07:28
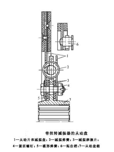
摘 要
离合器在汽车传动系中不可或缺,得益于其主动件和从动件的摩擦作用,传递的转矩能逐步升高,加上驾驶员的适当操控,汽车便能够平稳、温和的进入工作状态。同时,驾驶员可以方便的适时操作改变行驶档位,汽车的传动系统也由于离合器的防过载作用得到保护。
本文的结构可大致分为三个方面:1、离合器的综述。2、标致308离合器的选型与相关零部件设计及校核。3、对所做设计建模以及对膜片弹簧和摩擦片的仿真分析。
首先,对离合器的类型、特点等做了大致介绍。其次,参考标致308 2019款手动时尚型车型的汽车总质量、发动机最大功率、发动机最大转矩等相关设计参数,结合本车型市场定位以及主要用途,参考小型汽车离合器设计的经验及公式,确定了该车型的离合器类型、压紧弹簧的形式、主从动部分的结构等基本设计内容,并利用matlab等工具对重点零件进行了优化设计和校核计算,利用CATIA初步建立了本次设计的三维模型。
最后,通过ANSYS软件对离合器的摩擦片和膜片弹簧进行了有限元分析,对本次设计做出了理论分析。
论文主要研究了标致308 2019款手动时尚型的离合器设计过程,初步完成了该车型离合器的设计,并对重点零件进行了仿真分析。
研究结果表明:初步设计出的离合器参数基本合理。
本文的特色:利用ANSYS对离合器的膜片弹簧及摩擦片做了有限元分析。
关键词:离合器;膜片弹簧;摩擦片;有限元
Abstract
Clutch is one of the most important parts in the automobile transmission system. Due to the friction between the driving and driven parts, the transmission torqueisableto increase gradually. With the driver’s proper control, the automobile can start smoothly and mildly. What’s more , the driver can change the driving gear conveniently and timely, and the transmission system of the car is also protected by the anti-overload function of the clutch. This paper mainly studies the design process of Peugeot 308 2019 manual fashion type’s clutch, preliminarily completes the design of the clutch, and carries out simulation analysis ofit’s key parts.
The structure of this paper can be roughly divided into three patrts: 1. overview of clutch. 2. Selection of Peugeot 308 clutch type and design and verification of related components. 3. Design modeling and simulation analysis of diaphragm spring and friction disc.
Firstly, the types and characteristics of clutch are introduced.Secondly, referring to the relevant design parameters of Peugeot 308 2019 manual fashion car, such as total mass, maximum engine power and maximum engine torque, combined with the market positioning and main use of the car, and referring to the experience and formula of small car clutch design, the basic design of the clutch type, the form of compression spring and the structure of the main and follower parts of the car are determined. In addition, the key parts are optimized and checked by MATLAB and other tools, and the three-dimensional model of this design is preliminarily established by CATIA.Finally, the finite element analysis of friction disc and diaphragm spring of clutch is carried out by ANSYS software, and the theoretical analysis of this design is made.
This paper mainly studies the design process of Peugeot 308 2019 manual fashion clutch, preliminarily completes the design of the clutch, and carries out simulation analysis of key parts.
The results show that the preliminary design parameters of the clutch are basically reasonable.
Features of this paper: The diaphragm spring and friction disc of clutch are analyzed by finite element method using ANSYS.
Key Words:Clutch;Diaphragm spring;The friction plate;Finite element ansys
目录
第1章 离合器综述 1
1.1 研究背景 1
1.2 国内外研究现状 1
1.3 离合器综述 2
1.3.1 离合器的功用 2
1.3.2 离合器的分类 2
1.3.3 离合器的构造 3
1.3.4 离合器的工作原理 4
第2章 离合器预设计 5
2.1 离合器的设计要求 5
2.2 离合器设计的一般步骤 5
2.3 离合器结构方案的选择 6
2.3.1 从动盘数选择 6
2.3.2 压紧弹簧形式选择 6
2.3.3 压盘的驱动方式 7
2.3.4 压盘和中间压盘 7
2.3.5 从动盘 7
2.3.6 分离杠杆 9
2.3.7 离合器的通风散热 9
第3章 离合器关键零件的设计计算 10
3.1 离合器设计基本参数 10
3.2 摩擦片设计 10
3.2.1 后备系数
设计 10
3.2.2 尺寸设计 11
3.2.3 其他参数的确定 11
3.2.4 参数改进与校核 12
3.3 膜片弹簧的设计 13
3.3.1 主要参数设计 14
3.3.2 改进优化 15
3.3.3 膜片弹簧特性曲线绘制 16
3.3.4 膜片弹簧的工作点位置选择 17
3.3.5 膜片弹簧的计算 19
3.3.6 膜片弹簧强度校核 22
3.3.7 材料及制造工艺 24
3.4 扭转减振器的设计计算 24
3.4.1 扭转减振器的功用 24
3.4.2 扭转减振器的结构类型 24
3.4.3 主要参数的选择 25
第4章 离合器其它主要零件设计 28
4.1 从动盘毂设计 28
4.2 压盘设计 29
4.2.1 压盘材料的选择 29
4.2.2 压盘传力方式的选择 29
4.2.3 压盘尺寸的确定 29
4.3 离合器盖设计 31
4.4 离合器操纵机构 31
4.4.1 离合器操纵机构的功用 31
4.4.2 离合器操纵机构的形式与选择 32
4.4.3 离合器踏板行程计算 32
4.4.4 踏板力设计 33
第5章 计算机辅助在离合器设计中的应用 34
5.1 离合器的建模和制图 34
5.1.1 摩擦片的绘制 34
5.1.2 膜片弹簧的绘制 36
5.1.3 其他零件的绘制及装配 37
5.1.4 工程制图的导出 39
5.2 离合器的仿真分析 39
5.2.1 有限元的基本概念 39
5.2.2 ANSYS简介 40
5.2.3 膜片弹簧的模态分析 40
5.2.4 膜片弹簧的静力分析 42
5.2.5 离合器摩擦片的模态分析 44
第6章 总结与展望 47
6.1 本文总结 47
6.2 工作展望 47
参考文献 48
致谢 50
第1章 绪论
1.1 研究背景
作为法系车的代表之一,标致进入国内以来就一直被中国消费者青睐,其富有个性的狮子形车标、充满年轻气息的家族设计语言、扎实的做功和富有功底的调校,都给了中国消费者选择标致的理由。
当前,我国汽车行业面临着形式严峻的变革,为了更多的吸引消费者,各大品牌和厂家都将市场细分,在每一个级别内推出相应的车型来迎合消费者的口味,尽可能多的提高销量。标致也不例外,它旗下的标致308就是一款定位于家用和高性价比的紧凑型小车,而在标致308推出的一系列车型中,2019款手动时尚型一直被消费者认为性价比最高,本文从标致308的定位出发,初步设计出一款与之匹配的汽车离合器。
1.2 国内外研究现状
建国以来,我国的汽车工业逐渐兴起,从无到有,从有到多,从多到优,中国的汽车工业稳健前行。然而,细分到各个领域,我国的汽车工业还有很长的一段路要走。
当下,我国对于汽车离合器的研究取得了不小的进步。上世纪流行的螺旋弹簧离合器目前已经被主流摒弃,基本已经淘汰,仅在少数维修处被一些追求廉价的车主选用。我国自主品牌已经将膜片弹簧作为主流的车用离合器压紧弹簧。对于自动挡的车型,我国上海的萨克斯公司已经将液力变矩器产业化,成为行业的标杆,除此之外,我国很多中小企业也已经实现了相对来说比较成熟的研究体系并能实现批量化生产。目前,我国在双离合器的研究与开发阶段遇到了一定的瓶颈,虽说已经有一些厂家进行了试制生产,但实际使用中的可靠性和平顺性等还有很大需要提升的空间,而且核心技术还是被国外掌握。
与合资企业和外国本行业的企业相比,我国对于离合器的研究和开发主要情况可以根据车型分类概括为两个方面:在商用车领域,我国研究制造的离合器处于上风,并且与跨国企业相比有较大的优势。然而,在乘用车领域,我国的有关产品和跨国企业的相比,还有很长一段路要走。市场状况、研究时间和经费的投入、我国机械行业的基础、车主消费习惯、政策环境等,都是造成这种局面的原因。
目前,国内各个企业和高校除了加大研发投入力度外,也在积极推进合作。宋定波等人对膜片弹簧的设计和优化做了一定研究[1],从新的视角思路提出了设计要求,具有一定的参考价值。当今汽车市场日新月异,在将传统结构研发改进的同时,还要紧跟时代潮流,把握新形势变化,陶发强等人就对新型车的离合器系统校核做出了研究[2]。邓平尧等人基于计算机微粒算法,提出了更科学便捷的离合器优化方法[9]。国外的企业和研究人员在双离合[21],热优化[19],有限元[17]等有一定深度的研究,值得学习和借鉴。
1.3 离合器综述
1.3.1 离合器的功用
离合器在汽车系统中不可或缺,具有以下功用:
(1)保证汽车起步时平稳
若不安装离合器,汽车起步过程中高速转动的发动机曲轴将动力直接输出给传动系,而在汽车起步之前,传系统相关零件的转速远远小于发动机曲轴的转速,在这种情况下,整个传动系统甚至车身都会发生激烈的震动,驾乘人员会有极强的不适感,同时发动机也会由于载荷过大而熄火。当装配有离合器后,得益于其主动件和从动件的摩擦作用,传递的转矩逐步升高,加上驾驶员的适当操控,上述情况就可以避免,汽车便能够平稳、温和的起步。
(2)便于改变档位
汽车面临复杂的行驶路况和行驶条件,驾驶员会经常依照实际驾驶状况改变变速器的档位。一般常见的变速器都是利用外界力量及机械结构使相对应档位的齿轮脱开,再使要换入档位的对应齿轮啮合。换挡过程中,假设没有装配离合器,发动机传递过来的动力将持续加载在传动系啮合的齿轮上,在这种情况下,要使这对啮合的齿轮脱开非常困难,即使实现,也会因为操作的粗暴以及系统的固有结构,严重损伤发动机和传动系统。当在发动机与传动系统间安装离合器时,发动机与传动系之间短时间内可以互不影响,从而上述换挡动作就可以顺利进行。
(3)防止传动系过载
汽车在行驶过程当中,时常会遭遇各种情况需要紧急制动,当发生紧急情况驾驶员操作汽车进行制动时,汽车的速度短时间内大幅度降低,即车轮的转速急剧下降,倘若不装配离合器,发动机与传动系就成为了一个整体,从而发动机的转速也不得不被迫降低,这将使转动部分产生非常大的转动力矩。由于没有离合器,如此大的转动力矩直接传递给传动系,将可能造成传动系承受的载荷超过其许用范围,严重时会导致相关部件损坏,传动系统失效。若安装有离合器,当上述情况出现时,由于离合器是以摩擦力矩为中介实现连接,传递转矩超过阈值时可以通过打滑部分切断动力,上述情况也得以避免。
1.3.2 离合器的分类
常见的离合器分类如树状图1.1所示
图1.1 离合器分类树状图
1.3.3 离合器的构造
图1.2汽车常用离合器结构
摩擦式离合器如图1.2所示,包含以下几个部分:
(1)主动部分:由飞轮、压盘、离合器盖等组成。对于压盘和飞轮,其表面精度有较高要求,不得有缺陷、毛刺等。离合器正常工作时,压盘承受比较大的负荷,因此对其强度和刚度要求较大,通常选用具有耐磨、强度高等优点的高强度铸铁制成。离合器盖要求重量小,维修检查时能够轻松拆卸,通常选用的材料为低碳钢,经冲压制成。
(2)压紧装置和分离机构:通常包括膜片弹簧、压盘、枢轴环、收缩弹簧等结构。
(3)操纵机构:驾驶员得以操作离合器的机构。
(4)从动部分:主要零件是从动盘。
1.3.4 离合器的工作原理
在压紧装置的作用下,从动盘被压紧在飞轮上,发动机转矩得以经由摩擦片的摩擦力传递给从动盘,从动盘与传动系相连,动力便传递给车轮。当驾驶员没有做任何操作时,摩擦片与飞轮被压紧从而传递转矩。当驾驶员对离合器踏板施力,压紧弹簧进一步受压产生形变,压盘不再对摩擦片施加压力,动力传输便中断。其工作原理如图1.3所示
| |
图1.3 离合器工作原理示意图
第2章 离合器预设计
2.1 离合器的设计要求
为了设计出性能优异、可靠性高的离合器,设计过程中以下几点必须考虑:
以上是毕业论文大纲或资料介绍,该课题完整毕业论文、开题报告、任务书、程序设计、图纸设计等资料请添加微信获取,微信号:bysjorg。
相关图片展示:










