基于全生命周期的某7140轿车变速器设计毕业论文
2020-02-17 12:51:16
摘 要
手动变速器是市场上无论是商用车还是乘用车都广泛采用的一种变速器,它不仅满足汽车变速器的基本功能要求,即改变转速和转矩和保证起步平稳;而且能够实现汽车高速行驶时,发动机具有较低的转速,从而节约燃料。进入21世纪后,在世界各国对环境保护的呼吁下与相关政策的引导下,人们在进行汽车零部件的设计制造过程中,愈发重视资源的高效合理使用并努力降低对环境的影响。如全生命周期理论是一套集节约资源、降低成本,减少环境影响、提升效率等多功能为一体的新型设计理论。本文在充分理解变速器设计理念与要求的前提下,基于这种全生命周期设计理论,对某7140轿车手动变速器的设计、生产、销售、运输、使用、保养、修理、回收到废弃全过程进行建模设计与评估。首先在建模过程中创新性地提出一些概念及指标,对整个过程的输入及输出进行量化,如:模块结构、零件寿命、故障函数、材料生成能耗、材料库存量、废料质量、材料消耗、零件库存量、组装能耗等等。之后根据各项指标并完成对某7140轿车变速器全生命过程的评估,包括其节能性、环保性以及功能性。此外,本文侧重于某7140轿车变速器的设计环节,完成了其传动机构各部分零部件的设计,并采用MATLAB软件对其安全性进行了计算评估。最后创新性地利用全生命周期理论对变速器进行了模块化设计以及结构简化,其突出的优越性对以后的开发工作具有一定的引导意义,本次全生命周期理论的应用也为后续研究提供了示范作用。
关键词:手动变速器;全生命周期设计与评估;环境保护
Abstract
The manual transmission is a transmission widely used in commercial vehicles and passenger cars on the market. It not only satisfies the basic functional requirements of the automobile transmission, including changing the speed and torque, and ensuring a smooth start; it can also realize the high-speed driving of the car, in the same time, The engine has a lower speed to save fuel. After entering the 21st century, under the guidance of environmental protection and the implementation of relevant policies, people in the design and manufacture of auto parts have paid more and more attention to the efficient and rational use of resources and strive to reduce the impact on the environment. For example, the full-life-cycle theory is a new design theory that integrates the functions of saving resources, reducing costs, reducing environmental impact, and improving efficiency. Under the premise of fully understanding the design concept and requirements of the transmission, based on this full life cycle design theory, this paper aims to model and evaluate the process of design, production, sales, transportation, use, maintenance, repair, recycling and disposal of a manual transmission. Then calculate the indicators and complete the assessment of the life cycle of a transmission, including its energy efficiency, environmental protection and functionality. In addition, this paper focuses on the design of a transmission, and uses MATLAB software to calculate and evaluate its safety. Finally, the full-life-cycle theory is used to make modular design and structure simplification. The outstanding superiority has certain guiding significance for future work. The application of this full-life-cycle theory also provides a demonstration role for subsequent research.
Key Words: the manual transmission; full-life-cycle design and evaluation; environmental protection
目 录
摘 要 I
Abstract II
目 录 III
第1章 绪论 1
1.1 设计目的及意义 1
1.2 手动变速器基本功能 1
1.3 手动变速器的基本结构 1
1.3.1 两轴式手动变速器 1
1.3.2 三轴式手动变速器 2
1.4 全生命周期基本理论的介绍 3
1.5 国内外研究状况 3
1.5.1 全生命周期理论的研究 3
1.5.2 手动变速器的研究 4
1.6 本次设计的主要内容 4
第2章 变速器的全生命周期建模 5
2.1 产品的建模 5
2.1.1 变速器产品 5
2.1.2 模块 5
2.1.3 零件 5
2.2 过程的建模 6
2.2.1 变速器的计划与设计 6
2.2.2 生产过程 7
2.2.3 物流运输 8
2.2.4 使用与维修 8
2.2.5 回收 9
第3章 变速器传动机构的设计计算 11
3.1 变速器的档位数 11
3.2 变速器的传动比计算 11
3.3 齿轮参数的选取与计算 13
3.3.1 设计要求 13
3.3.2 齿轮基本参数的选取 13
3.3.3 各档齿轮齿数 15
3.4 齿轮的设计与计算 18
3.4.1 几何尺寸的计算 18
3.4.2 材料及热处理方式的选择 19
3.4.3 齿轮强度的校核 19
3.5 轴的设计计算 21
3.5.1 初选轴的尺寸 21
3.5.2 轴的刚度与强度计算 22
3.6 轴承的选择及计算 24
3.6.1 轴承型号的选择 24
3.6.2 轴承寿命的验算 24
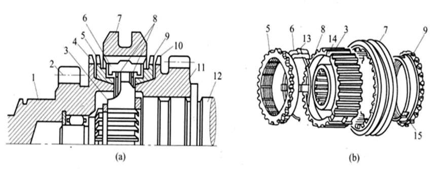
3.7 同步器的设计与计算 26
3.7.1 锁环式惯性同步器的介绍 26
3.7.2 锁环式惯性同步器的设计 28
3.7.3 同步器的计算 29
第4章 变速器的全生命周期评价 31
4.1 全生命周期评价的定义 31
4.2 评价流程 31
4.2.1 零件模块化 31
4.2.2 零件材料的选择及用量。 31
4.2.3 零件寿命 31
4.2.4 材料、零件的保存 31
4.2.5 零件生产中的附加成本 31
4.2.6 便于装配的设计 32
4.2.7 物流运输 32
4.2.8 使用与维修 32
4.2.9 回收及再利用 32
第5章 总结 33
参考文献 34
致谢 35
附录一:CATIA三维建模 36
附录二:MATLAB源程序 40
第1章 绪论
1.1 设计目的及意义
手动变速器(MT)被广泛应用的各类型、各用途的汽车上。直到上世纪80年代市场上还多为四档手动变速器,但在接下来的10年之间,五档手动变速器进入市场并取代了四档手动变速器。在少数级别高的轿车中也可见到六档手动变速器。之所以称为手动变速器,是因为驾驶员必须亲自用手进行换挡并用脚来操纵离合器。当然这种变速器满足变速器的主要功能,即改变转速和转矩和保证起步平稳,同时这种变速器能够实现汽车高速行驶时,发动机拥有较低的转速,从而节约燃料[1]。因此,在当今节能、减排、低碳化、可持续的能源利用趋势下,研究手动变速器仍有着很大的意义。同时是否能合理地设计和管理一款变速器的生命周期,有效实现资源的合理利用,降低产品的环境负荷并满足用户对服务质量的要求也十分值得研究[2]。
- 本文旨在从产品全生命周期角度出发,对某7140汽车变速器进行设计,并规划其制造、使用、维修和报废过程,在实现其功能的同时减少能源损耗,降低环境影响。
 - 本文以产品生命周期理论为基础,达到控制产品成本的目的,同时在各阶段实行可持续性原则,符合我国建设资源节约型、环境友好型社会的要求[3]。
 
1.2 手动变速器基本功能
由于汽车发动机的转矩与转速的变化范围有限,为了应对复杂的路况条件汽车又必须以不同的速度和驱动力行驶,因此需要变速器的介入,改变这种矛盾的状况。其具体功能如下:
- 改变传动系传动比,使驱动轮有更大的转速与转矩变化范围,适应路况,并使发动机有更大概率工作于最佳工况下。
 - 设置倒挡可以使汽车倒退行驶。
 - 中断传动系动力传递,以便驾驶员进行启动、怠速以及换挡等操作。
 
1.3 手动变速器的基本结构
1.3.1 两轴式手动变速器
两轴式手动变速器由一根输入轴与一根输出轴以及一根倒档轴组成,三轴平行。具体结构如下所示:

图1-1 某品牌乘用车两轴式五档变速器结构图
1.3.2 三轴式手动变速器
三轴式变速器的轴系结构由输入轴、中间轴、输出轴以及倒挡轴组成。其中输入轴与输出轴在同一轴线上,并与中间轴以及倒档轴平行。其具体结构如下:

图1-2 某品牌商用车三轴式六档变速器
1.4 全生命周期基本理论的介绍
随着工业社会的进步与发展,人们不再认为自然资源是无穷无尽的了,例如石油等地下资源都是短期内不可再生资源。现代工业带来的生产活动以及产品对环境会造成不可逆的影响,这必须引起足够的重视。为此人们提出一些解决方案,首先将过去使用的传统模式“制造-使用-废弃”转变为“制造-使用-维修-回收-再利用”的循环型新模式。其次,市场激烈的竞争迫使生产商努力降低成本,节约资源和能源的消耗。这就需要合理的设计一个项目或产品的全生命周期,从计划、设计开始,直至产品的回收、再利用与废弃都加以考虑。最终实现一款产品的功能属性、绿色属性和经济属性。即全生命周期设计的理念。
一款产品的功能属性可以在使用中得到验证与反馈,其绿色属性与经济属性则需要依靠全生命周期评价方法进行评估,它可以通过考虑整个过程的输出、输出及其他环境因素,得出产品各阶段产生的成本以及其对环境的影响。其目的是对资源及能量的利用情况加以归纳和评价,并分析对环境的影响,为优化设计提供理论及数据依据。与全生命周期设计一样,评价工作也是贯穿了一款产品的计划、设计、生产、销售、运输、使用、保养、修理、回收到废弃的整个过程。
1.5 国内外研究状况
1.5.1 全生命周期理论的研究
全生命周期设计(LCD)和全生命周期分析(LCA)最早可追溯到上世纪60年代,可口可乐公司使用这种方法来评估不同类型的饮料容器对环境的影响。之后,由于能源的短缺与市场竞争压力的剧增,许多制造商意识到提高能源利用率的重要性,因此他们开发了评估产品生命周期能耗的方法,以提高整体的能源效率,并降低成本[4]。
此外,一些美国和韩国的研究人员已经开发出一种整体设计方法,在全生命周期各阶段中综合考虑各种问题,例如Kwak和Kim介绍了一个分析产品设计如何影响生命终结的框架以及什么样的框架特征能够获得更高的回收利润[5]。他们的文章主要做出了两点贡献:一是算法的开发。为了捕捉隐藏的和即将到来的需求趋势,该算法结合了三种不同的模型:大规模数据的决策树,需求建模的离散选择分析和基于趋势分析的自动时间预测。这种算法也动态地揭示影响需求的设计模式。第二贡献是新的设计框架,预测生命周期设计,它连接DTM和数据驱动的产品设计。这种模型与基于优化的模型交互能够最大化产品的总利润。他们提出的智能手机案例表明,对于潜在的利润机会,框架可以帮助利用这一机会。此外,敏感性分析再次证明,全生命周期设计比传统的设计方法更优选。
国内有刘凯辉等,从产品全生命周期角度出发,以比亚迪E5纯电动汽车为研究对象,运用GaBi6软件建模分析其全生命周期过程中的资源消耗与环境影响并对生命周期过程中一些关键影响因素进行敏感性分析[6]。
1.5.2 手动变速器的研究
面对政府对于CO2排放的限制政策,德国一些研究员开始探讨手动变速器的未来,他们认为可以为久经考验的手动变速器实现离合器的自动化,以便实施节油驾驶策略,这样既保留了手动变速器的诸多优点,如可靠性、鲁棒性和价格低,又能够使得手动变速器适应节能减排的政策,以便在市场上更具竞争力[7]。
美国的一些研究员则考虑对变速器的操控系统进行优化。对于一个完整的变速器操控系统软件测试来说,一般要考虑到10000种状态。他们借助于共同仿真方法采用分步仿真的手段,使得克服测试中各种困难成为可能。而在现代变速器的发展中,如同其他科技系统一样,越来越广泛的功能造成了设计上以及测试上更多的困难。为了能够可靠地测试这些相互联系的功能,将它们集成到虚拟原型中是必不可少的,也是目前通用的一种方法。特别是行驶辅助系统,这种系统利用大量的传感器采集车辆状态,并通过状态模块翻译成状态信息,而仿真图像的展示逐渐成为挑战。下一步他们将对此进行进一步深入研究。
加拿大有一些研究员考虑换档期间通过电动机实施扭矩来研究换档的性能。为了实现这一目标,他们开发了传统和轻度混合动力系统的数学模型,并用于比较两个系统的动态性能。该数学建模用于在系统开发期间对变速控制算法设计进行不同的模拟,以评估可实现的性能及其对系统属性的依赖性。他们还研究了电机功率对转矩补偿程度的影响,并针对不同的电机规格的实施限制。在这项研究中加拿大研究员还调查了输出扭矩、车辆速度以及振动剂量值来评估不同电机尺寸的换档质量。
国内如张书光等,利用CAD/CAE技术提出了变速器壳体的优化方案。壳体不仅是变速器安全的防护罩,而且在齿轮传递过程中,承受较大的载荷并产生较大的变形和应力,而这种应力和变形对变速器工作的可靠性和寿命有较大影响。因此对于一个结构合理、传动效率高、刚度和强度优良的变速器来说,壳体设计是至关重要的[8]。
1.6 本次设计的主要内容
本文目的是设计出与某7140轿车相搭配手动变速器的全生命周期,并对其进行全生命周期评价,达到合理利用资源与能源,降低成本,降低对环境影响的目的[9]。
- 采用全生命周期建模理论,对该变速器的计划、设计、生产、销售、运输、使用、保养、修理、回收到废弃的整个过程进行建模设计。
 - 明确变速器的设计要求后[10],根据某7140轿车的性能参数,确定出与之相匹配的变速器设计方案,包括齿轮的布置、轴的布置、档位的布置[11]。
 - 进行变速器具体零件的设计工作,确定尺寸、公差及粗糙度等数据。并以图纸的形式表示。
 - 对零件的强度进行校核,评估变速器的安全性、可靠性、工作稳定性等指标[12,13]。
 - 采用全生命周期评价方法对产品的整个设计流程进行评估[14,15]。
 
第2章 变速器的全生命周期建模
设计一款环境和谐型变速器,要对其结构进行优化,也要对整个生命周期进行仿真评价,这两项工作的核心基础就是建立变速器的全生命周期模型,用以描述该变速器从设计、生产、销售、运输、使用、保养、修理、回收到废弃这一过程中的诸多细节。本章将从产品、过程两个方面对变速器进行建模。
2.1 产品的建模
2.1.1 变速器产品
首先我们描述变速器的形态、结构、材料,以粗略估算其环境与经济成本;其次要描述它的功能,以明确它的使用过程;最后我们可以在使用过程中,知道哪些模块哪些零件需要维修或者更换。与产品有关的参数有:
价格和成本:明确一款轿车变速器的制造成本与市场上的价格,即明确生产商与客户群体的全生命周期成本。
以上是毕业论文大纲或资料介绍,该课题完整毕业论文、开题报告、任务书、程序设计、图纸设计等资料请添加微信获取,微信号:bysjorg。
相关图片展示:








        
            
