重型汽车油气悬挂系统性能分析毕业论文
2020-04-10 16:13:37
摘 要
Abstract 2
第1章 绪论 3
1.1研究背景和意义 3
1.2油气悬挂系统发展及特点 3
1.2.1油气悬挂系统的发展 3
1.2.2油气悬挂系统的特点 4
1.3国内外研究现状 5
1.3.1国外研究现状 5
1.3.2国内研究现状 6
1.4主要研究内容 7
第2章 油气悬挂系统方案设计 7
2.1 油气悬架的类型、结构和工作原理 7
2.1.1油气悬架的类型 7
2.1.2油气悬架的结构和工作原理 9
2.2液压系统方案 9
2.2.1液压系统原理及主要功能 9
2.2.2液压系统方案确定[24] 11
第3章 油气悬挂机构设计 11
3.1车身高度调节机构设计 11
3.1.1液压缸参数的确定 12
3.1.2液压缸外形尺寸的计算与校核 15
3.2悬架阻尼调节机构设计 17
3.2.1节流阀阻尼孔的确定 18
3.2.2节流口截面积的计算 18
3.2.3节流阀外形尺寸的选择 19
3.3.4电磁换向阀的选择 19
3.3悬架刚度调节机构设计 20
3.3.1空气压缩机的选择 20
3.3.2蓄能器的选择 21
第4章 油气悬挂数学模型建立及仿真分析 22
4.1 油气悬架非线性特性的影响因素 23
4.2 油气悬架的刚度特性 23
4.2.1油气悬架的刚度特性的理论分析 23
4.2.2 油气悬架刚度特性仿真分析 24
4.3 油气悬架的阻尼特性 26
4.3.1油气悬架的刚度特性的理论分析 27
4.3.2 油气悬架刚度特性仿真分析 28
4.4 小结 29
第5章 结论与展望 30
参考文献 31
附录 33
编程 33
致谢 34
摘要
汽车的悬架系统的性能直接影响到汽车的操纵稳定性以及平顺性。本文针对七轴组合式半挂车设计了相应的主动式油气悬架系统,采用了电液伺服阀作为悬架系统中液压作动器的控制阀,通过对液压系统的设计以及ECU的控制功能实现对汽车车身高度的自动调节,阻尼及刚度的自动调节。
本文对于油气悬架系统的非线性特性曲线进行了探究,分析了影响车辆刚度特性与阻尼特性的悬挂系统参数,通过计算机软件进行了仿真模拟,最后使用了CAD软件进行了图纸的绘制。
设计结果符合油气悬架的性能和结果要求,对于油气悬架的非线性特性研究可作为油气悬架进一步优化的依据。
关键词:油气悬架 刚度特性 阻尼特性 仿真分析
Abstract
The performance of vehicle suspension system directly affects the handling stability and ride comfort of vehicle. In this paper, the hydro pneumatic suspension system is designed for the seven-axle combined semi-trailer. The electro-hydraulic servo valve is used as the control valve of the hydraulic actuator in the suspension system. By the design of the hydraulic system and the control function of the ECU, the automatic adjustment of the height of the car body is realized, and the damping and stiffness are automatically adjusted.
In this paper, the nonlinear characteristic curve of the hydro pneumatic suspension system is explored, and the parameters of the suspension system which affect the stiffness and damping characteristics of the vehicle are analyzed. The simulation is carried out by the computer software. Finally, the drawing of the drawing is made by using the CAD software.
The design results meet the requirements and performance requirements of hydro pneumatic suspension. The research on the nonlinear characteristics of hydro pneumatic suspension can be used as the basis for further optimization of hydro pneumatic suspension.
Key Words: hydro pneumatic suspension, stiffness characteristics, damping characteristics, simulation
第1章 绪论
1.1研究背景和意义
汽车工业发展以来,人们对汽车的乘坐舒适性和要求不断严格并且不断提升的操纵稳定性的研究方向逐步确定。其中,车辆悬挂系统在这方面的作用尤为突出提升车辆正常行驶中的平顺性、操纵稳定性以及舒适性就是不断改善汽车悬挂系统。
悬架是什么呢?他是车桥和车架之间各种起到连接作用各种零部件所构成所谓悬架装置的总称。早期人们的运输方式主要是依靠马车,但是马车的平顺性较差,为了减少马车车厢内人们或者货物受到从地面传递过来的冲击力,人们利用皮带将车辆悬挂在马车的底盘上,这种机构后来被人们称作为“悬架”,其主要作用是将车轮的力矩传递给车厢,极大程度的降低由路面和汽车间传递给驾驶者不愉快感受的震动。通过这种方式改善车辆在不同路面行驶过程中的平顺性,从而带给驾驶员更好的乘坐舒适性[1],随着汽车的发展,悬架这种减震结构也被沿用至今。
改革开放至今我国基础设施建设总体的水平的提高,电力、石油、化工等行业以肉眼可知的速度飞速发展的今天。大型工程车辆近几年的销量也是突飞猛增市场需求量也在逐年增长。随着工业商业服务业的发展,大吨位的工程机械车如全地面起重机、大型悬挂车、大型矿用自卸车、各种混凝土搅拌车、消防车等大型民用工程类轮式车辆不断的对着汽车市场展示着干海绵一样对水的吸收力,同时,随着军事化发展的日新月异,中国国防对新型军事化车辆的要求促使了大型油车、陆地装甲车、牵引车以及起重运输车等大型工程军用轮式车辆急速度发展。轮式车辆的关键便是其底盘,底盘的优劣决定了整车性能的好坏,悬架系统与转向系统便是担当了底盘中这些要求最重要的一环。1970年左右开始,油气悬架凭借其在刚度以及减震等方面突出的优越性渐渐受到各大汽车厂家的青睐,多被应用于重型车辆。这种类型的悬架可以使车辆在各种复杂和恶劣的非公路路面下正常行驶,由于其将传统悬架与现代悬架的优点进行了结合,因此在悬架不断发展的历史长河里留下了浓墨重彩的一笔。。
1.2油气悬挂系统发展及特点
1.2.1油气悬挂系统的发展
作为汽油悬架的核心,油气弹簧( Hydro- Pneumatic Spring)是一种通过压缩弹簧内储存的气体来收集能量的元件,其工作原理与空气弹簧相似。一般地,油气弹簧将不容易与周围介质发生化学反应的气体作为弹性元件,并将其储存在用金属做成的容器中,除此之外,油液作为气室与弹簧的活塞之间的介质。
上个世纪中期,法国的Citroen公司第一次将油气悬架应用在汽车上。之后短短的三年时间,油气悬架被大量的投入到其某款新车型上使用,并得到很好的反响。在实车测试中发现,应用了油气悬架的车辆在行驶过程中,一方面最小离地间隙和振动频率不会因为车辆的载荷而发生改变,另一方面车辆的俯仰角以及侧倾振动相比于一般的车辆要小。上世纪后期,世界上各个汽车强国的汽车公司都加入到对油气弹簧的研究之中,并将其应用到新车型。随着车辆上液压技术的不断飞跃,油气弹簧的各项特性也在原有的基础上不断得到改善,因此其不仅被受到家用车厂家的青睐,也引起了军用车制造商的关注,迄今为止,油气悬架频繁的应用于欧美国家的装甲车、坦克、军用步兵车等军事化车辆。包含,在工业建设用工程车方面美国、日本、德国三国的起重机等重型车辆都在车身与底盘的连接处采用了油气悬架。随着电子技术的不断飞跃,油气悬架也采用了新型的控制技术。现在,油气悬架正由传统的机械机构向自动和半自动方向发展,其中法国的Citroen公司研发的智能油气悬架最为先进[3]。
从上文可知,法国的Citroen公司对油气悬架的研究较为深入,从上世纪中后期到现今,Citroen公司先后推出了三代汽油悬架,并积极的将这三款都投入到高级车型上使用[4]。相比于传统的悬架,雪铁龙公司推出的第一款油气悬架在悬架左右两边的弹性元件加设了智能控制模板。该智能控制模板主要由刚度、阻尼两个元件组成。悬架的气室与活塞之间的油路有液压电磁阀控制,进而实现悬架两种不同工作状态下的形式。相比于国外,我国关于油气悬架的研究还比较少。
1.2.2油气悬挂系统的特点
油气弹簧凭借着优良的减振特性被运用于军用车辆、高级车辆以及重型车辆等等。根据上文可知,油气悬架是从传统的被动悬架的基础上发展而来的,两者的工作原理大致相同,其中,油气悬架的特点有:1) 单位储能比大;2)具有减振器作用;3)车身高度控制作用;4)非线性刚度特性;5)非线性阻尼特性;6)刚性闭锁作用。
油气悬架与传统的被动悬架相比,尽管具有很多优点,但是也具有如下缺点或不足:1) 结构复杂的悬挂系统必然带来制作成本高,维修成本高的问题;2)油气悬架组件过多需要额外配置液压、电子、电气等辅助设备的帮助;3)油气悬架液压气压的基本要求就是高密封性。等
即便是这样,G B 1 5 8 9 -2 0 0 4《道路车辆外廓尺寸、轴荷及质量限值标准中就就表达出,空气悬架装备在车上的基本要求即其单轴最大轴荷限值可在不装该悬挂系统的车辆最大重量的基础上增加一吨半,油气悬架系统在实现多轴车辆的轴荷平衡上起积极意义、同时车身高度的可调性尤其是悬架可刚性闭锁等优点得到各个汽车企业的极力认可。特种车辆、大型工程车辆及其他重型多轴车辆得蓬勃发展必然离不开存在油气悬挂系统的专用底盘技术的不断完善。
1.3国内外研究现状
1.3.1国外研究现状
[系统的许多理论分析及其结构和性能实验研究, 对开发水力气动悬架的过程进行了很大的探索。 覆盖在早期应用的主动悬架使用活动已经发展了水力气动悬架, 并开发了几种产品已大大扩大。 目前, 水力气动悬架的研究主要有以下几个方面6]:
1)建立新型合理的油气悬架的数学模型
其主要思想是研究具有弹性的,诸如等因素的非线性特性的非线性效应的WH元件,所述悬浮液缸和液体,压缩空气的压力的膨胀阻尼并入数学模非线性和刚性的El,现实为理论悬挂机架系统,并具有非线性的系统。参数和非参数,其可被分成的当前方法的数学模型。参数化建模建立的,它是能够比较准确地描述其内部运行状态,一个模型参数的物理意义明确,WH自己的研究特色的液压气动缸适合,有非常参数比非的参数设计TRIC设计的一个特别的优点。
然而,这是因为非线性系统的结构非常复杂,分析和识别方法多样,各有其特点和局限性,参数和非参数化建模方法的建议是国外学者该组合的石油和天然气的水悬浮液法院气缸内置半参数的研究中,说明内部液压气动气缸的孔流量系数如可以在相对于阀孔孔板压差流量,其它部分被测量,它是建立Odel等基于物理参数米方法,以这种方式降低了大大简化模型的复杂性,非线性模型计算的误差。 2)悬浮液和制御战略的形式新油气结构的开发
新的油气悬挂结构的开发为中心的开发和油气的蝉有源主动悬架的应用。特定的半主动悬挂控制和制御达成衰减条件的调整的碳氢化合物利用容易适应了悬浮液用的衰减的相对刚性。
另外,koenrad 7悬挂系统的数学模型,模特的补正,风动的悬挂的性能模拟的实验数据。felez 8力量邦德图表模型用空气悬架系统性能的衰减特性的变形特性解析,刚性特性和周波数特性中,车辆行驶的路面的粗糙度的振动响应的调查各参数的反应的结果给centives。1990年代的[ 9 ]开始,kangjin李和协和大学的研究者,确立了计算模型和流体风动的气缸侧单眼单一空气室和气体汽缸悬浮液的非线性模型参数的基础上,周波数的利用的能源相关股票线性参数模型和同等的流体风动的汽缸确立ivalent线性化技术,系统油悬浮液的影响性能主要因素确定的参数解析技术,设计的最佳化系统性能改善参数。md机械动力学的软件开发专业提供亚当斯,好的平台的非线性参量设计,数学模型更方便可靠。
1.3.2国内研究现状
国内现在的油气悬挂系统还算比较成熟,1990年前后中国很多汽车企业从国外引进了最新的油气悬挂系统的先进技术,国内各种油气系统相关的研究测评机构如雨后春笋一般在油气悬挂系统不断发展的大背景下一批批成立起来,同时作为中国技术发展的中坚力量大学也起到了一个承前启后的重要作用,例如,油气悬架技术小组委员会,国家著名汽车大学吉林大学,武汉理工大学、北京理工大学汽车研究院的成立从一定程度上也促进了油气悬挂系统技术的不断成熟。从现阶段来看虽然国内技术已经有了相当的规模,但是与国外成体系的研究技术来看依然有着不小的差距。
吉林大学的王云超[10]针对多桥车辆,以及转向特性的研究模拟,通过ADAMS /Hy draulics软件在电脑中组建油气系统的仿真模型,并且具体分析了刚独特性不同的非独立式和连通式两种油气悬挂系统对车辆侧倾参数的影响。
中海油服技术中心王智明[11],建立了油气悬挂系统应用在全路面起重机的数学模型,利用Matlab软件进行仿真分析,得出了全路面起重机油气悬挂系统的动态特性,结果指出,建立的悬挂系统模型在高频信号上表现出较好的阻尼特性。
集美大学郑东强和他的研究团队在转向车辆侧倾特性的研究也涉及到了连通式和非独立式悬架对其的影响,同时对双气室油气悬挂系统进行深入的研究建模与分析,并且应用了虚拟样机模型技术和vr技术和相关平台建立的先进技术。
吉林大学郭建华[14]等人,和中海油服一样以双气室油气悬挂系统为自己的研究方向,不同的是小方向上对储能器的研究更为深入,以温度变化以及气体气压变化的研究和对bwr状态方程在油气悬挂系统的中的应用以及热力学方程对气体温度气压变化规律的研究。
大连理工大学赵春明[13]及天津大学马国清[15][16]等人对油气悬挂系统的具体工作原理进行了分析介绍,同样以数学模型和动态模型的角度对悬挂系统不同的工作性能进行仿真和优化。
武汉理工大学过学迅课题组对不同结构形式的悬架进行开发研究,研究了能量回收式的悬架系统,吴涛[17]在其指导下进行了重型越野车辆油气悬挂系统的设计,重点考虑了高度调节和平衡调节等相关设计难点。
集美大学李彦晨[18]在学位论文里利用 AMESim 和 Adams 联合仿真方法对单缸油气悬挂进行了仿真分析,在速度位移特性与油气悬挂系统的相关性研究也初见成效,他们试验台的建立,仿真虚拟平台的应用以及数据结构分析使他们在这方面有着成熟的研究技术和成果。
浙江大学杜恒[19]同样是以全地面起重机为对象展开研究,应用ADAMS软件、AMESim、ansys、Matlab/Simulink分析建林仿真数据分析提出了同步升降系统在油气悬挂系统中的应用他是基于调速阀和压力跟踪阀的连通来实现相关工作的系统;七自由度动力学模型设计和研究建立路面谱模型和仿真油气悬挂系统的结构数据从而建立出完整的数学体系和数学关系数据化的度确定汽车舒适性和平稳的影响因素即悬架系统主要刚度和系统内工作时的阻尼系数。
1.4主要研究内容
本篇论文主要先对油气悬挂系统种类工作原理等进行基本的了解着重对论文研究方向重型汽车具油气悬挂系统进行研究分别考虑整合不同连接形式对油气悬挂系统性能优劣的选用和影响以及其表现出的非线性特性的评估分析并对其在不同悬挂模式单点升降、自动调平、整车升降、刚性锁定、三桥提升这六种不同工况模式下的进行模拟分析。以减小多轴转向车辆的侧倾角为目的通过多种数据要求和设计要求的计算油气悬挂系统的结构尺寸参数和性能参数,并且按照提高汽车工作时的平顺性和驾驶人员的舒适性为设计准则选择合适的电磁换向阀、空气压缩机和蓄能器,并进行整体的优化改善。着重讨论了连接形式的选择。最后对所设计的油气悬挂系统进行仿真模拟,分析其刚独特性和阻尼特性对车辆工作、转向、行驶过程中平顺性的影响。
研究目的:设计匹配出能够减小多轴转向车辆的车身侧倾角的悬架系统,同时能提高转向稳定性和行驶平顺性和各种工况的适配性,并分析该设计的相关重要参数。
第2章 油气悬挂系统方案设计
2.1 油气悬架的种类、结构和工作原理
2.1.1油气悬架的种类
油气悬架按照不同要求不同的结构不同分类的条件能够分成各式各 样的悬架系统,但主要还是按照其主要部件——形态各异的油气弹簧,分成不同的种类的油气悬架。 为人们广为所知的气室和油室一体式就是按照油气弹簧里的重要组件储能器存在未知的不同来分类的与之相对应的是气室分离式油气系统:同样的人们在油气弹簧之间相对关系上做文章,又细化成独立式和连通式两种相对关系的油气悬架系统。单气室、双气室、两级气压式则是按照储能器的不同形式的划分呈现出来的不同油气悬挂系统的类型;油气悬架中的节流阀也是必不可少的一部分,于是便有节流孔式和节流缝隙式油气悬架;为了顺应自动化便捷化的机械要求被动油气悬架和可控油气悬架就高低立显了;在车辆行驶过程中有些车辆需要外部对油气悬挂系输入能量即半主动油气悬架,而有些不需要输送能量的便叫做主动油气悬架对。
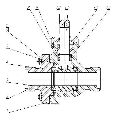
气室和油室一体式油气悬架对比气室油室分离式油气悬架的结构的差异分别如图2.1所示[21]。
|
|
a油气一体式 | b 油气分离式 |
图2.1 油气悬架结构图 | |
独立式油气悬架系统和连通式气悬架系统分别如图3和图4所示。
![]() | ![]() |
a独立式 | b连通式 |
图2.2 独立式和连通式油气悬架结构 | |
上图所示的是两种不同类型的悬架独立式油气悬架系统和连通式油气悬架系统,而什么是独立悬架呢,名副其实独立式悬架如图a车桥上边显而易见左右两侧悬架的液压缸之间相互不连通,两个悬架分别管控两侧互相不存在影响,一个出现故障另一个也能继续工作。独立式油气悬架有很多优点,正常行驶在平坦路面时可以通过缩短液压缸的高度调节车辆的底盘高度从而降低汽车的重型,有利于汽车高速行驶过程的抓地力和保持高速稳定性。同时对于重型车通过比较矮的隧道桥梁通道可以适量减小高度便于通过。更具独立悬架特点的是通过道路两侧高低不平的路段时对于汽车的平衡,独立悬架通过控制独立的一侧的升降合理的保证了汽车通过时汽车的平稳和水平。因此独立悬架广泛应用于重型货车重型自卸车上。
以上是毕业论文大纲或资料介绍,该课题完整毕业论文、开题报告、任务书、程序设计、图纸设计等资料请添加微信获取,微信号:bysjorg。
相关图片展示:












