袋装食盐灌装装置的结构设计毕业论文
2020-04-13 11:12:06
摘 要
本文是关于袋装食盐灌装机即颗粒灌装机的设计。颗粒灌装机是将小颗粒状、松散的原料用灌装的方式进行包装的设备。食品、药物、茶叶、化工等产品具有形状较小、不粘结,外观呈颗粒物特点,都可以用它来进行包装。颗粒灌装机还有着人工操作简便、工作效率高、应用范围广等特点。
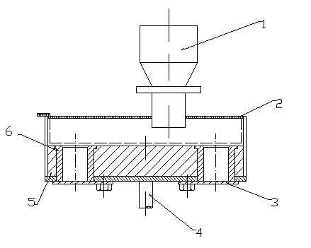
按照工艺顺序,颗粒灌装机可以主要分为7部分:卷筒薄膜传送装置、物品定量装置、成型器组件、热定型式封口机构、包装袋切断机构、拉袋器和传送机构,其工作程序是:包装材料安装在输纸机构上,由拉袋器拉动,先经过导辊的引导到成型器上变成袋状,然后纵封器纵向封口,装料机构送料,再到横封器处横向封口后切断,最后由传送装置运出。
本文进行了颗粒灌装机的设计方案论证和比较、工作原理分析、支撑结构的设计和强度计算、结构的选用和比较等,设计的颗粒灌装机部位有送料漏斗、可调定量供料装置、包装薄膜的供给和引导、袋成型器、横向和纵向封口器、切口器等。
本设计中采用了象鼻成型器,旋转式容积定量设备,间歇式纵封装置,整体式横封、切袋装置。拉袋装置设计在机器的底部,这样既使送袋机构得到了简化和保护,又使得整体重心下移,有利于机器的平稳运作。横封、切袋合二为一的工艺处理在包装袋封口的同时切开,提升了工作效率。
本设备有着自动化程度高、包装效果稳定、计量范围可调、功能完善、生产效率高等特点。
关键词:颗粒灌装机;袋装;结构设计;纵封;横封
Structure Design of Bagged Salt Filling Device
Abstract
The paper is about the design of bagged salt filling machine which is call for granule filling machine. Granule filling machine is a device for filling small granular and loose raw materials by filling.Products such as food, medicine, tea and chemical products which are small in shape, non adhesive, and have the appearance of particulate matter can be packed by it.The granule filling machine also has the advantages of simple manual operation, high efficiency and wide application range.
According to the process order, the grain filling machine can be divided into 7 main parts: the drum film transmission device, the article quantitative device, the molding device component, the heat setting type sealing mechanism, the packing bag cutting mechanism and the transmission mechanism. The working procedure is that the packing material is installed on the paper transmission mechanism, pulled by the pullers and first through the guide roller guide. The parts of the designed grain filling machine include feeding funnel, adjustable quantitative feeding device, supply and guidance of packaging film, bag shaper, transverse and longitudinal sealer, incision device and so on.
The design scheme demonstration and comparison of the particle filling machine, the analysis of the working principle, the design of the supporting structure and the strength calculation, the selection and comparison of the structure are carried out in this paper. The design of the particle filling machine consists of the feeding funnel, the adjustable quantitative feeding device, the supply and guidance of the packaging film, the bag shaper, the transverse and longitudinal sealant. he device, the incisive and so on.
In this design, the elephant nose shaper, the rotary volume quantitative equipment, the intermittent vertical sealing device, the integral transverse seal and the bag cutting device are adopted. The pull bag device is designed at the bottom of the machine, so that the bag feeding mechanism is simplified and protected, and the whole center of gravity is moved down, and it is beneficial to the smooth operation of the machine. The process of cross sealing and cutting bags is combined into one process, and the cutting is carried out at the same time, and the work efficiency is improved.
This equipment has the characteristics of high automation, stable packing effect, adjustable measuring range, perfect function and high production efficiency.
Key Word:Particle filling machine;Bagging;Structural design;Longitudinal sealing; Transverse sealing
目录
第1章 绪论 1
1.1 背景、目的及意义 1
1.2 国内外研究现状 1
1.3 课题研究内容 2
1.4 预期目标 3
第2章 食盐灌装机总体结构方案设计 4
2.1 设计方案 4
2.2 灌装机的总体设计 5
2.2.1 执行机构 6
2.2.2 支撑形式的选择 7
第3章 执行部分设计 9
3.1 成型器的计算和选择 9
3.1.1 常见的成型器及特点 10
3.1.2 成型器的设计 10
3.2 供料定量装置的设计 11
3.2.1 被包装物的性质 11
3.2.2 定量和供送装置的设计要求 11
3.2.3 计量方式的选择 12
3.2.4 可调式量杯供料机构 12
3.3 塑料薄膜输送机构 13
3.4 热封器原理 14
3.5 纵封器的设计 14
3.6 横封器的设计 15
3.7 拉袋器的设计 18
第4章 传动系统的设计计算和校核 19
4.1 带传动部分 19
4.2 齿轮部分 19
第5章 总结 22
第6章 参考文献 23
第7章 致谢 24
第1章 绪论
包装机械指可以对商品进行完整或部分地包装的机械。这里包装是包装工艺的意思,包括产品的装料、制袋、封口、传送和堆码等。包装生产的机械化,可以提高生产率,使包装标准化,规范化,并降低劳工成本。对于经济发展迅速、人的需求日益提高的现代社会可以说是大势所趋。
颗粒包装机是包装机械中的一个常见种类,它的包装对象主要为食品、药物、化工类产品,常用的包装形式为袋装、瓶装和罐装等。颗粒包装机可以独立完成商品从送料到成袋的所有包装工艺。其高产量、低成本的优点,极受生产食盐、茶叶、糖果、药片等颗粒物的广大厂家的青睐。
本文要设计的食盐灌装机就属于颗粒包装机的范畴,可以完成食盐的送料、装料、制袋、封口等一系列的包装工艺,而且包装容量可调,操作简便,工作稳定可靠。
1.1背景、目的及意义
改革开放以来,我国经济水平飞速提升,社会发展日新月异,包装行业作为一种新兴产业,近几年来有着突飞猛进、方兴未艾的趋势。由于包装在生产、生活中的作用的日益突显,越来越受到人们的重视。
为了适应快速发展的生产力和人日益增长的物质和文化需求,包装产业在生产效率、包装形式、包装安全等方面有着愈来愈高的要求。为此,积极汲取国外先进的包装生产经验,培养一批高水品的包装研究人才,改进和升级包装设备对于我国包装产业的发展有着不可估量的意义。这与现代工业化生产的专业化、标准化和自动化的趋势是一致的,而几年人工智能的发展、包装新材料的发现,使包装设备的发展前景又透露出新的曙光。
1.2国内外研究现状
以上是毕业论文大纲或资料介绍,该课题完整毕业论文、开题报告、任务书、程序设计、图纸设计等资料请添加微信获取,微信号:bysjorg。
相关图片展示:









