基于Android的多功能日程表的设计毕业论文
2020-02-15 20:16:56
摘 要
目前在科技力量的更新与进一步地提高之下,互联网这一词已然变得更加地热门起来,网络已经越来越离不开人们的生活了,但是由于互联网技术的进入,人们的生活也越来越变得碎片化起来,时间对于人们也越来越是个模糊的概念了,因此如何高效地管理自己的时间已经变成了一个重要的话题。
而人们会常常沉浸于各种各样的手机应用中而忘记了自己该做的很多重要的事情来,比如当你明天早上必须要起来复习日语的考试但你今晚仍然对爱看的电视剧穷追不舍忘记了时间一下就到了深夜的两三点钟,请问这样的你,如何能在明天早上及时起来复习你的日语考试呢,只会这样一天天拖沓下去,这时候你就得需要一个来专门管理你的时间应用的软件了,它是一款手机的应用,因此你使用起来也将会十分地方便,并且可以在你的日常生活中起到不小的帮助作用。
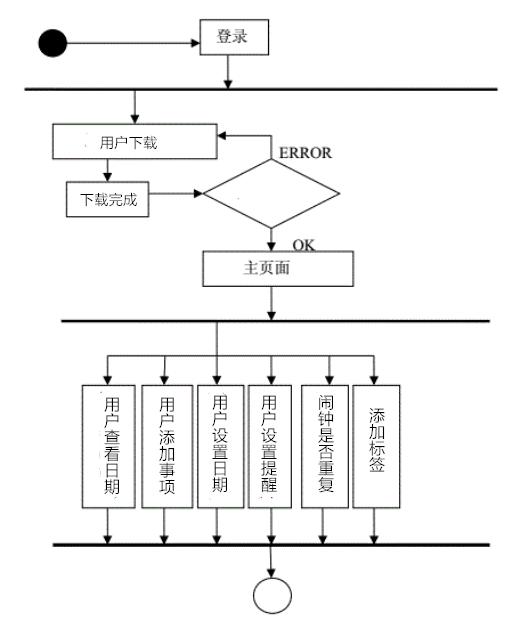
在当下人们的平常生活中,手机这部机器已然毫不夸张的成为了人身体的一部分,因此这款多功能日历表的程序便就有了很好地发展空间,而应用又是在Android下面运行的,所以人们也能更好地下载使用,它所能提供的功能也更加的全面多样化。它的界面十分地简洁与美观,并且提供的是按月显示日期,可以十分的清楚地查看见日期,并且还能按照您的指示跳转到指定的日期只需上下滑动即可,另外还有比较重要的部分就是设置日期提醒功能,您可以提前在手机上设置您的待办处理事项,时间一到并会提醒您去办理,不会耽误您的事情,此外你还可以设置是否重复提醒,以免遗漏,另外,对于特殊事件还可以设置标签增加事件的重要性,更加方便地进行管理。
关键词: 日程管理;Java;安卓 Android
I
Abstract
At present, with the renewal and further improvement of scientific and technological forces, the word 'Internet' has become more and more popular. The Internet has become more and more inseparable from people#39;s lives. However, due to the entry of Internet technology, people#39;s lives have become more and more fragmented, and time is increasingly a vague concept for people, so how to effectively manage their own. Time has become an important topic.
And people will often be immersed in various mobile phone applications and forget a lot of important things they should do, such as when you have to get up tomorrow morning to review the Japanese exam, but you still chase the TV series you love tonight and forget the time until two or three o#39;clock in the night. How can you get up in time to review your day tomorrow morning? Language exams will only drag on day by day, when you need a software to manage your time application, which is a mobile phone application, so you will be very convenient to use, and can play a very helpful role in your daily life.
In today#39;s people#39;s daily life, the mobile phone has become a part of the human body without exaggeration, so this multifunctional calendar program will have a good development space, and the application is running under Android, so people can download and use it better, and it can provide more comprehensive and diverse functions. Its interface is very concise and beautiful, and provides a monthly display of the date, you can see the date very clearly, and you can jump to the specified date according to your instructions just by sliding up and down. Another important part is to set the date reminder function, you can set your to-do items on the mobile phone in advance, and the time will come together. In addition, you can set whether to repeat reminders to avoid omission. In addition, for special events, you can set labels to increase the importance of events, which makes it easier to manage.
Key Words:Schedule management;Java;Android
II
目录
|
摘要 |
I |
||
|
Abstract |
II |
||
|
第 1 章 绪论 |
1 |
||
|
1.1 |
研究背景及意义................................................... |
1 |
|
|
1.2 |
研究发展及现状................................................... |
1 |
|
|
1.3 |
研究的目标和内容................................................. |
2 |
|
|
第 2 章 Android 相关技术简介 |
3 |
||
|
2.1 |
Andriod 系统架构................................................. |
3 |
|
|
2.2 |
Andriod 开发环境................................................. |
4 |
|
|
2.3 |
Android 工具的简介............................................... |
4 |
|
|
2.3.1 |
项目工具 .. . . . . . . . . . . . . . . . . . . . . . . . . |
4 |
|
|
2.3.2 |
项目文件 .... . . . . . . . . . . . . . . . . . . . . . . . |
5 |
|
|
第 3 章 Andriod 日程表需求分析 |
6 |
||
|
3.1 |
系统需求分析 . . . . . . . . . . . . . . . . . . . . . . . . . . |
6 |
|
|
3.2 |
系统可行性分析 . . . . . . . . . . . . . . . . . . . . . . . . . |
7 |
|
|
3.3 |
技术可行性分析 .. . . . . . . . . . . . . . . . . . . . . . . . . |
7 |
|
|
3.4 |
经济可行性分析 . ... . . . .. . . . . . . . . . . . . . . . . . . |
7 |
|
|
第 4 章 日程表设计 |
8 |
||
|
4.1 |
系统设计模块. . . . . . . . . . . . . . . . . . . . . . . . . . . |
8 |
|
|
4.2 |
日程管理模块 . . . . . .. . . . . . . . . . . . . . . . . . . . . |
9 |
|
|
4.2.1 |
日程的界面设计. . . . . . . . . . . . . . . . . . . . . . |
10 |
|
|
4.3 |
数据库设计 . . . . . . . . . . . . . . . . . . . . . . . . . . . |
10 |
|
|
4.3.1 |
数据库表结构 . . . .. . . . . . . . . . . . . . . . . . . . |
11 |
|
|
4.3.2 |
数据库代码命名规范. . . . . . . . . . . . . . . . . . . . . |
11 |
|
|
4.3.3 |
数据库内容.. . . . . . . . . . . . . . . . . . . . . . . . |
12 |
|
|
4.4 |
相关功能的实现.. . . . . . . . . . . . . . . . . . . . . . .. . . |
13 |
|
|
4.4.1 |
日历展示功能. . . . . . . . . . . . . . . . . . . . . . . . |
13 |
|
|
4.4.2 |
闹钟管理功能模块的实现.. . . . . . . . . . . . . . . . . . |
14 |
|
|
4.4.3 |
活动事件的实现模块 . . . . . . . . . . . . . . . . . . .... |
14 |
|
|
4.4.4 |
标签功能的实现 . . . . . . . . . . . . . . . . . . . . .... |
15 |
|
|
第 5 章 系统测试与运行 |
16 |
||
|
5.1 |
系统测试目的................. . . .. . . . . . . . . ......... .. |
16 |
|
|
5.2 |
系统测试的范围............... ... . . .. . . . . . . . . . . . . |
16 |
|
|
5.2.1 |
系统测试的方法.......... . . . . . . . . . . . . . . . . . |
16 |
|
|
5.3 |
软件测试的流程. . . . . . . . . . . . . . . . . . . . . . . ..... |
17 |
|
|
5.3.1 |
测试内容功能检查 . . . . . . . . . . . . . . . . . . . . . |
17 |
|
|
5.3.2 |
界面测试. . . . . . . . . . . . . . . . . . . . . . . . .. |
17 |
|
|
5.3.3 |
日历功能测试. . . . . . . . . . . . . . . . . . . . . . .. |
18 |
|
|
5.3.4 |
日程活动测试 . . . . . . . . . . . . . . . . . . . . . . . |
20 |
|
|
第 6 章 总结与展望 |
21 |
|
|
6.1 |
总结................... . . . . . . . . . . . . . . . . . . . . . |
21 |
|
6.2 |
展望.................... . . . . . . . . . . . . . . . . . . . . . |
21 |
|
参考文献 |
22 |
|
|
致谢 |
23 |
|
第 1 章 绪论
1.1 研究背景及意义
在现代社会,网络科技已经慢慢赶超了当代社会的性发展。作为当今社会的大多数人,网络并且超越了以往。当今现代社会大部分人口的日常生活在网络中都有着很大的关注,这是一种互动学习、沟通、及时无障碍的接入、沟通、学习或工作时间的重要途径,为什么会在地理位置上。通信网络的发展前景越来越看好移动操作系统,生活的动态也引起了当今社会的极大关注,作为一种重要的互动学习手段,通信即时、无障碍的接入、通信、学习或工作,也就是说,位置的选择,对通信网络的发展前景也越来越发达。
Android 是谷歌 2007 年推出的手机操作系统和开放平台,势头非常强劲。虽然 Android 的市场并没有持续太久,但它已经对传统的移动电话平台产生了强烈的影响,这促进了 Java 语言的发展,传统的客户端应用程序的资源利用率和稳定性都很低,经济效益。设计大大降低了制造商的开发成本。并大大降低了第三方的水平。在软件方面,尤其是因为它允许任何终端加入安卓联盟。除了传统的操作模式外,随着目镜等开放式电话环成员的增加,以及用户和应用的扩展。电视市场份额。移动电话智能平台, Android 将日益增多,这必然导致移动应用的潮流,伴随着 Android 应用软件市场的强劲需求。
方案的管理是其自身信息管理的核心,为实现任务的合理分配目标,满足方案管理的效率和及时性等多样性要求,充分利用各种管理工具。很难通过 PC 软件实时记录和导航与程序管理有关的信息。随着 Android 和 iPhone 等手机的普及。这些让人们经常应用电话的功能不再局限于电话和短信。
1.2 研究发展及现状
一般来说,通用便携式计算机的使用是一种发展的潮流,也就是整体大概的主流,一般来说像计算机 cpu、处理内存、鼠标、芯片、键盘、系统等形式,即使它们出现在以后,也不能不受这种传统观念的影响。对于传统的计算机来说,使用起来太容易了,但是考虑到生活必需品的多样性,很明显这些计算机的使用不能完全满足,不只是这样客户经常会修改自己的需求来体验不同的乐趣,这是一个非常准确的管理设备。以更快的速度解决日常行为问题。
在设备这一块而来谈,应用的管理技术是众多领域的中心地带具有无法更改替换的位置。如今,软件技术的发展日新月异,各种类型的移动应用软件也在飞速发展,而 Android 手机占据了主流手机市场的一个主流部分,但是其中时间管理的逻辑并不是什么新鲜事物。大多数函数都是相同的,但由于它的高潜力但就计算机而言,证明了民事进度管理软件只实现了基本的功能,但有些民事进度管理软件的功能却非常简单,其性质和功
能是一个很好的体现。具有功能模块的日历管理软件 PC 的直接结果
1
1.3 研究的目标和内容
系统的主要研究组成部分是基于日常管理过程的需要。该研究开发了一个与过程管理思想相兼容的软件系统,在任何时候都很容易访问,这就是当今社会的经济生活。移动电话的应用使人们可以在方便的情况下享受乐趣。即传统编程的管理模式。多功能编程的开发,系统的主要功能是根据面向最终用户的系统定义日常工作,执行自己的工作或其他人的工作,签署提交文件等。并制定的服务。该系统对移动应用的发展作了进一步的研究。设计编写了一个多功能的 Android 应用程序设计软件,并从整体叙述了该项目的总体概要的设计、应用的搭配环境和必不可少的相关功能,以及对实现过程的描述和一个完整的日历系统。
2
- 2 章 Android 相关技术简介
2.1 Andriod 系统架构
android 是基于 linux 和开源代码的操作系统,主要应用于手机、电脑等移动设备。在谷歌公司和开放移动联盟的领导和发展下。在中国大陆,很多人用“安卓”或“安致”来称呼“Android”。android 操作系统最初是由 andyrubin 开发的,andyrubin 主要支持手机。2005 年 8 月,谷歌收购了这个项目并储资。2007 年 11 月,谷歌与(硬件、软件和电信运营商)建立了开放式移动电话联盟,以开发改进的安卓系统。
随后 Google 以 Apache 开源许可证的投权方式,发布了 Android 的源代码。第一 Android 手机于 2008 年 10 月推出。Android 也相继渗透到平板电脑等一些相关产品地带,如数字电视机、拍照相机、让人娱乐的电玩机等,2011 年,安卓最终占据了德班系统的全球市场份额,成为第一个世界冠军。2013 年第四季度,谷歌在 2013 年 9 月 24 日开发的 Android 手机全球市场份额达到 78.1,Android,即将迎来其五周年纪念日,已经拥有了世界上百万台设备

图2.1占有图
一般而言人类的移动电话操作系统的平台,在全球的移动平台是非常多样的,可以大致分为两大类,开放和闭合的两个情形。然而多调度系统是基于安卓系统平台设计的,安卓操作系统是开放的,变化和挑战的应用开发。Android 平台的使用结构与其他移动平台大致区分不开。Android 平台的分层为最高层到最低层,大致是的分为,应用程序层、应用程序框架层以及系统运行层还有 Linux 内核层四个层次组成。安卓软件在国外开发得比较早,研发于 2007 年 5 月推出。随着技术的发展,Android 系统平台也在慢慢的完善和发展同时技术也更加成熟了。。
同时也提高了可访问性和安全性以及新功能,同时继续提高对不同用户体验的感
3
知,并更全面地涵盖新信息技术和通信的结果。
而且随着软件和硬件的成熟,对手机应用的开发增多,和手机使用人数的数量上升,又加上安卓系统是他最近在中国迅速发展起来的更加开放的系统,安卓移动终端的开放平台使制造商能够积极参与技术的发展,从而赢得胜利并且突破完成更复杂的技术。随着用户数量的增加和软件应用的新特点,安卓平台在世界科技领域迈出了新的一步。并且在慢慢推动着世界的发展进程
2.2 Andriod 开发环境
Android studio 的开发环境就是大部分目前安卓的开发环境打开网页,单击菜单栏中的“帮助”,然后选择“安装新软件”。如果您已经下载了一个文件,请选择要遵循的路径。如果地址在它前面,如果图像没有显示。
一旦模块安装了 ADT Eclipse 菜单界面,管理器将不得不点击额外的 ADT Android 的不同版本都在入口处,通常是 2.1 版手机一般都超过 2.3 版,可能不是的版本。稍高的版本可能不是较低的版本。有更高版本的。如果您点击安装,设备界面将被弹出,需要立即接受,否则系统将不会安装在单个播放器上,并询问您是否同意,然后点击“访问全部”,这样安装就不会是永久性的。下一步验证安装是否完成。有时,即使单击所选元素。使其能够创建、执行和更容易地适应 Android 平台。
2.3 Android 工具的简介
Java 核心库提供的功能
Dalvik 虚拟机依赖于 Linux 内核,如内存管理,线程或连接
设备可以运行多个虚拟机 Dalvik 的,每个 Android 应用程序在它自己的 Dalvik 虚拟机实例运行
可执行文件的 Dalvik 虚拟机优化的执行 ( .dex)DX-工具汇总文件中的 Java 转换文
件
而到了 Android5.0 之后抛弃 Dakvik 而采用 ART (Android Runtime)。
2.3.1 项目工具
- 四大组件
Android 系统的四个组件是活动、服务、广播接收器和内容提供商。其中的活动都
- Android 应用程序。所有应用程序的外观在活动期间都可见。服务相对较低,看起来不太好,但在后台运行时很安静。即使用户不小心意外终止应用程序,但是相关的服务也可以照样的进行。广播接收器也允许应用程序接收来自不同位置的与各个地方广播消息,如彩信、微信,微博等短消息接受
以上是毕业论文大纲或资料介绍,该课题完整毕业论文、开题报告、任务书、程序设计、图纸设计等资料请添加微信获取,微信号:bysjorg。
相关图片展示:











