蔗糖异构酶生物合成异麦酮糖的研究毕业论文
2020-05-14 22:18:01
摘 要
功能甜味剂的开发是食品生物技术的热点研究领域,近年来受到了人们的广泛关注。异麦芽酮糖是一种新型的健康甜味剂, 具有甜度低、吸收代谢缓慢、不致龋齿等优点,在食品、医药等领域具有较好的应用价值。本实验研究以自行构建的蔗糖异构酶生产菌株—重组枯草芽孢杆菌Bacillus subtilis WB800 (pMA09-palI)为研究对象,开展蔗糖异构酶最佳产酶条件,以及利用该重组酶催化生产异麦芽酮糖的研究,为利用该食品安全菌株催化生产异麦芽酮糖奠定基础,主要研究结果如下:
1. 采用单因素实验对该重组菌的产酶培养基与发酵条件进行了优化,最优产酶培养基组成为:蔗糖16 g/L,酵母粉12 g/L,MgSO4 0.5 g/L,pH 6.5;最佳产酶条件为:接种量3.0%。32 ℃,200 rpm,发酵时间32 h。
2. 采用单因素实验对重组蔗糖异构酶转化生产异麦芽酮糖的条件进行了优化,结果表明在pH 6.5柠檬酸缓冲液中,最佳底物浓度100 g/L,转化温度为35 ℃,转化11 h,底物蔗糖的转化率达到99%。
关键词:异麦芽酮糖、蔗糖异构酶、产酶条件优化、催化条件优化
ABSTRACT
The development of functional sweeteners is a hot research field of food biotechnology, which has been widely concerned by people in recent years. Isomaltulose is a new type of healthy sweetener, has low sweetness, absorption and metabolism is slow, not caused by dental caries and other advantages, in the field of food and medicine has good application value. The experimental study on self-constructed sucrose isomerase (SIase) producing strain-recombinant Bacillus subtilis WB800 pMA09-palI as the research object, to carry out SIase optimal enzyme production condition, and with the recombinant enzyme to catalyze the production of isomaltulose research, lay the foundation for the use of the food safety strains producing catalytic Isomaltulose, the main research results are as follows:
The single factor experiment of the recombinant enzyme producing culture medium and fermentation conditions were optimized, the optimal enzyme producing culture medium compositions for: 16 g/L sucrose and 12 g/L yeast powder, MgSO4 0.5 g/L, pH 6.5. The optimal conditions of SIase production for inoculation were 3.0%. 32 ℃, 200 rpm, fermentation time 32 h.
2. The single factor experiment of recombinant sucrose isomerase transformation production isomaltulose conditions was optimized. The results showed that in pH 6.5 citric acid buffer, the optimum concentration of the substrate 100 g / L, transformation temperature is 35 ℃, the conversion of 11 h, the conversion of sucrose rate reached 99%.
Key Words:
Isomaltulose, sucrose isomerase, optimization of fermentation conditions, catalytic condition optimization
目录
摘 要 I
ABSTRACT II
第一章 文献综述 1
1.1异麦芽酮糖的重要用途 1
1.2异麦芽酮糖的研究现状 1
1.3蔗糖异构酶的来源和生产 2
1.3.1蔗糖异构酶的来源 2
1.3.2蔗糖异构酶的生产 2
1.4蔗糖异构酶的酶学性质与纯化 3
1.5本课题的研究内容,目的及意义 4
1.5.1 研究目的与意义 4
1.4.2 研究内容 4
第二章 蔗糖异构酶发酵条件的优化 5
2.1前言 5
2.2材料与方法 5
2.2.1实验菌种 5
2.2.1实验菌种 5
2.2.2实验试剂与仪器 5
2.2.3培养基 6
2.3 实验方法 6
2.3.1 发酵条件的优化 6
2.3.2 发酵培养基对酶活的影响 7
2.3.2.1 碳源种类及其浓度对酶活的影响 7
2.3.2.2 氮源种类及其浓度对酶活的影响 7
2.3.2.3 发酵液初始酸碱度对酶活的影响 7
2.3.2.4 接种量对酶活的影响 7
2.3.2.5 发酵温度对酶活的影响 7
3.3.2.6 发酵时间对酶活的影响 7
2.4 结果与讨论 7
2.4.1发酵条件的优化 7
2.4.1.1 不同碳源及其浓度对酶活的影响 7
2.4.1.2 氮源种类及其浓度对酶活的影响 9
2.4.1.4 发酵液初始pH对酶活的影响 10
2.4.1.5 接种量对酶活的影响 10
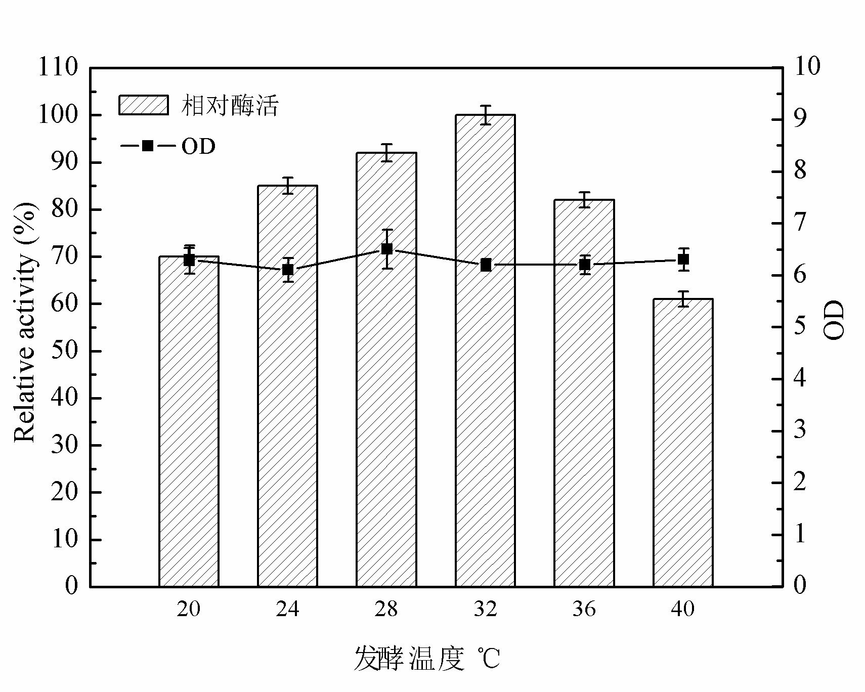
2.4.1.6 发酵温度对转化率的影响 11
2.4.1.7 摇床转速对转化率的影响 11
2.4.1.8 发酵时间对酶活的影响 12
2.5 本章小结 12
第三章 蔗糖异构酶催化生产异麦芽酮糖的条件优化 14
3.1 前言 14
3.2 材料与方法 14
3.2.1 实验试剂 14
3.2.2 实验仪器 14
3.2.3 SIase粗酶液获得 14
3.2.4 SIase酶活的测定 14
3.3转化条件的优化 15
3.3.1 缓冲pH对酶催化稳定性的影响 15
3.3.2 温度对酶催化稳定性的影响 15
3.3.3底物浓度对转化率的影响 15
3.3.4反应进程曲线 15
3.4 结果与讨论 15
3.4.1 转化条件的优化 16
3.4.1.1缓冲pH对酶催化稳定性的影响 16
3.4.1.2 温度对酶催化稳定性的影响 16
3.4.1.3底物浓度对转化率的影响 17
3.4.1.4 催化反应进程曲线 17
3.4.1.5异麦芽酮糖含量的测定 18
3.5 本章小结 18
第四章 结果与讨论 19
4.1 结论 19
4.2 展望 19
参考文献 20
第一章 文献综述
1.1异麦芽酮糖的重要用途
异麦芽酮糖(6-O-α-D-吡喃葡糖基-D-果糖,Isomaltulose),它是葡萄糖和果糖以α-1,6糖苷键结合形成的双糖[1]。由于果糖和葡萄糖分子的连接部分不同,所以它是蔗糖异构体[2]。异麦芽酮糖是白色结晶状粉末,没有什么异味,熔点是124 ℃,分子量为342.32,比旋光度[α]020为97.2,结构式如下:

图 1-1
蜂蜜里存在少许异麦芽酮糖,它是一种还原糖,故拥有和蔗糖差不多的口感和特殊的物理特性,甜度大约是蔗糖的一半左右;它在水中的溶解度也比蔗糖低。但不同的是,异麦芽酮糖非常不容易被酸解,如果将其和蔗糖同时放在酸性环境下,加热至沸腾,保持1 h,蔗糖将基本上水解成果糖与葡萄糖,而异麦芽酮糖并没有被酸解。由于异麦芽酮糖不能被绝大多数的细菌、霉菌和酵母所利用,所以它预防龋齿效果十分明显。正因为这些特性,异麦芽酮糖便可以制作成无糖食品,这受到了消费者的广泛关注与认可。首先,异麦芽酮糖是一种不会导致龋齿的甜味剂,这种性质十分适用于正在生长发育的青少年和婴儿等。在日本,食品营养协会有过这样一个章程,只要添加超过3/4异麦芽酮糖的食品,便可以认为这种食品是不会导致龋齿的[3]。同时,当异麦芽酮糖到达小肠时,有种特殊的酶可以把它分解成果糖与葡萄糖,从而被吸收,然后进入新陈代谢[4],而且可以让血糖大致稳定于一定的水平上,由于对糖的吸收十分缓慢,所以胰岛素变化并不会很大,所以有糖尿病的人可以放心选用;其次,由于异麦芽酮糖的吸湿性非常小,它不可能像其他糖果那样吸湿而变粘,能够包装的很疏松,稳定性也很强,保存时间长,这些都是麦芽糖醇和木糖醇等功能性糖醇难以实现的地方。异麦芽酮糖往往用于生产止咳糖和润喉糖等等,低溶解度可以降低活性成分释放,来延伸作用的时间。异麦芽酮糖之所以能够让消费者所认同,其中最重要的一点是口感非常纯正,基本上能完全替代蔗糖的一切用途,人们很难分辨出其与有蔗糖食品的不同。因此,异麦芽酮糖是如今最被认可的蔗糖替代品。
1.2异麦芽酮糖的研究现状
相关图片展示:









