某农药厂农药废水处理工艺设计毕业论文
2020-04-18 19:42:55
摘 要
本设计以300t/d的某农药厂农药废水为设计处理对象,该废水具有水量小、特征污染物种类多且浓度高的特点。参照有关文献以及对各污染物处理工艺优缺点的比较,依据 “分流收集、分质处理”的基本原则,对高盐且氨氮浓度较高的生产废水分类收集,再利用热力蒸发技术脱盐的同时去除水中的高浓度氨氮和部分有机物;脱盐后的废水与其他生产废水混合进行物化预处理,主要对含甲苯、二甲苯、苯胺等有机物的农药废水采用Fe/C微电解 Fenton催化氧化,脱色的同时可显著提高农药废水可生化性[1];最后对和生活污水混合后的综合废水采用水解酸化 缺氧 好氧的组合工艺进行处理[2]。
本设计对处理工艺中的构筑物大小、药剂投加量进行设计计算;对污水处理设施的平面和高程进行设计计算[1];对标准设备进行计算选型,非标设备设计计算;对处理工艺的去除效果和运行成本进行计算。
关键词:农药废水 无机盐 氨氮 甲苯
Design of Pesticide wastewater Treatment Process for Insecticide Factory
ABSTRACT
The pesticide wastewater from a 300 t/d pesticide factory was designed and treated in this design. The wastewater has the characteristics of small amount of water, many kinds, many kinds of characteristic pollutants and high concentration. Referring to the literature review and the comparison of the advantages and disadvantages of various pollutant treatment processes, according to the basic principles of "separate collection and quality treatment", the wastewater with high salinity and high concentration of ammonia nitrogen is classified and collected, and then the high concentration of ammonia nitrogen and some organic substances in the water are removed simultaneously by thermal evaporation technology. The wastewater after desalination is mixed with other wastewater for production. In physicochemical pretreatment, the pesticide wastewater containing toluene, xylene and aniline was mainly oxidized by Fe/C micro-electrolysis Fenton catalysis, and decolorization could significantly improve the biodegradability of pesticide wastewater [1]. Finally, the combined process of hydrolytic acidification anoxic aerobic (A2/O) [2] was adopted for the comprehensive wastewater mixed with domestic wastewater.
This design calculates the size of structures and dosage of chemicals in the treatment process, designs and calculates the plane and elevation of sewage treatment facilities, calculates and chooses standard equipment, designs and calculates non-standard equipment, and calculates the removal effect and operation cost of the treatment process.
Keywords:Pesticide wastewater;inorganic salt;ammonia-nitrogen;toluene
目录
摘要 I
ABSTRACT II
第一章 文献综述 1
1.1农药废水概述 1
1.2农药废水处理方法 1
1.2.1农药废水中高浓度氨氮处理方法 1
1.2.2农药废水中高浓度无机盐处理方法 2
1.2.3农药废水中高浓度有机物处理方法 3
1.3农药废水处理方法总结 3
第二章 处理方案设计 4
2.1设计原则 4
2.2原水水质水量 4
2.4接管标准 8
2.5工艺流程 9
2.5.1污水处理工艺流程的确定 9
2.5.2污水处理工艺流程图 10
2.6各处理单元去除率汇总 11
第三章 构筑物设计计算 12
3.1含盐废水储罐 12
3.1.1储罐作用 12
3.1.2设计参数: 12
3.1.3设计计算 12
3.1.4混合后废水pH 12
3.1.5管道选型 13
3.1.6出水水质 13
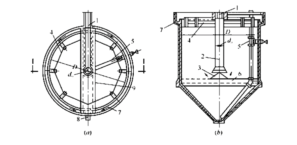
3.2三效蒸发器 13
3.2.1三效蒸发器的作用及原理 13
3.2.2各效蒸发量估算 14
3.2.3蒸发器设备计算和说明 15
3.2.4蒸发器主要结构尺寸的确定 15
3.2.5出水水质 16
3.3物化调节池 16
3.3.1调节池功能 16
3.3.2设计计算 17
3.3.3 H2SO4 每小时投加量 17
3.3.4管道选型 18
3.3.5出水水质 18
3.4铁碳微电解 18
3.4.1微电解工艺 18
3.4.2设计计算 19
3.4.3出水水质 21
3.5 Fenton反应釜 22
3.5.1 Fenton氧化功能 22
3.5.2反应釜设计 22
3.5.3过氧化氢投加量计算 24
3.5.4管道选型 25
3.5.5出水水质 25
3.6混凝沉淀池 26
3.6.1溶药池容积 26
3.6.2混合池设计计算 27
3.6.3反应池设计计算 29
3.6.4管道选型 30
3.6.5出水水质 30
3.7生化调节池 30
3.7.1生化调节池功能 30
3.7.2设计参数 31
3.7.3设计计算 31
3.7.4管道选型 31
3.7.5出水水质 32
3.8水解酸化池 32
3.8.1水解酸化功能 32
3.8.2设计参数 32
3.8.3设计计算 32
3.8.4管道选型 33
3.8.5出水水质 33
3.9厌氧沉淀池 34
3.9.1厌氧沉淀池的作用 34
3.9.2设计计算 34
3.9.3管道选型 36
3.9.4污泥泵选型 36
3.9.5出水水质 37
3.10脱氮及硝化工艺(ANO) 37
3.10.1 AN/O工艺的作用 37
3.10.2好氧池设计计算 37
3.10.3缺氧池设计计算 40
3.10.4出水水质 41
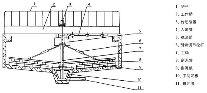
3.11二沉池 41
3.11.1二沉池功能 41
3.11.2池体尺寸计算 42
3.11.3管道选型 44
3.11.4污泥泵选型 44
3.11.5出水水质 44
3.12清水池 45
3.12.1清水池功能 45
3.12.2设计计算 45
3.12.3管道选型 46
3.12.4出水水质 46
3.13事故池 46
3.13.1事故池的作用 46
3.13.2设计计算 46
第四章 污泥处理系统 48
4.1污泥产量 48
4.1.1污泥来源 48
4.1.2污泥量 48
4.1.3综合污泥量 50
4.1.4污泥管道选型 50
4.2污泥浓缩池 51
4.2.1池体计算 51
4.2.2浓缩污泥产量 53
4.2.3管道选型 54
4.3污泥脱水 55
4.3.1污泥脱水功能 55
4.3.2污泥脱水计算 55
第五章 设备选型 57
5.1提升泵选型 57
5.1.1含盐废水 57
5.1.2综合废水 57
5.1.3污泥提升泵 57
5.2污泥泵 59
5.2.1沉淀池吸泥泵 59
5.2.2二沉池 59
5.3浓缩脱水设备选型 59
5.3.1泥浆泵 59
5.3.2压滤机 60
5.4加药设备选型 61
5.4.1混凝剂计量泵 61
5.4.2过氧化氢计量泵 62
5.4.3硫酸亚铁计量泵 63
5.4.4酸碱投加计量泵 64
第六章 平面与高程布置 66
6.1污水处理站平面布置 66
6.2污水处理站高程布置 67
6.2.1污水管道沿程阻力损失 67
6.2.2污水管道局部损失 68
6.2.3污泥浓缩池水损计算 69
6.2.4高程布置 70
第七章 运行成本估算 71
参考文献 73
致谢 75
第一章 文献综述
1.1农药废水概述
农药生产废水因其特征污染物种类多、浓度高、生物毒性大而成为最难处理的一类工业废水。含氮的农药废水未经处理直接外排会造成严重的水体富营养化[1];高含盐农药废水中包含大量有机污染物和可溶性无机盐,生物毒性大很难用生化法直接处理[2];农药废水中的高浓度COD会抑制微生物活性,甚至导致生物中毒生化处理系统失效,带来较大经济损失。因此研究、控制、处理农药生产废水具有十分重要的意义。
1.2农药废水处理方法
1.2.1农药废水中高浓度氨氮处理方法
1. 吹脱法
通过吹脱法去除农药废水中的高浓度氨氮的具体过程是将空气通入到废水中,使水气两相完全接触,废水中的游离氨逐渐转移到气相中,从而降低废水中的氨氮含量[1]。
对反应参数pH和温度的控制能够明显改变吹脱的效果,毛燕芳等对高浓度氨氮医药废水进行吹脱处理,调试稳定运行后氨氮去除率可达85%~89%。在冬季,寒冷的室外温度会明显降低氨氮吹脱效率,不能达到脱氮的效果。所以汽提法用蒸汽取代空气可提高氨去除率[3]。
以上是毕业论文大纲或资料介绍,该课题完整毕业论文、开题报告、任务书、程序设计、图纸设计等资料请添加微信获取,微信号:bysjorg。
相关图片展示:









